TOP
|
特許
|
意匠
|
商標
特許ウォッチ
Twitter
他の特許を見る
公開番号
2025172153
公報種別
公開特許公報(A)
公開日
2025-11-20
出願番号
2025147482,2021163642
出願日
2025-09-05,2021-10-04
発明の名称
減速機、アクチュエータ、及び、建設機械
出願人
ナブテスコ株式会社
代理人
個人
,
個人
,
個人
,
個人
主分類
F16H
57/04 20100101AFI20251113BHJP(機械要素または単位;機械または装置の効果的機能を生じ維持するための一般的手段)
要約
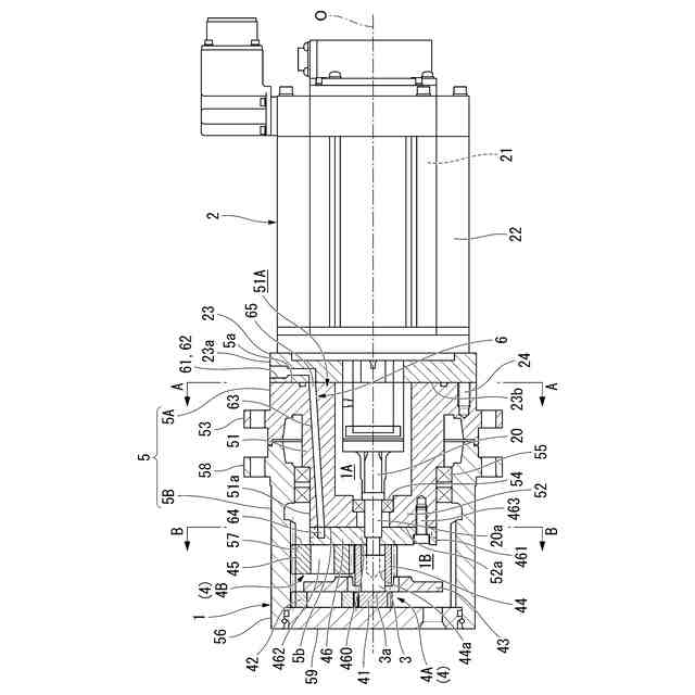
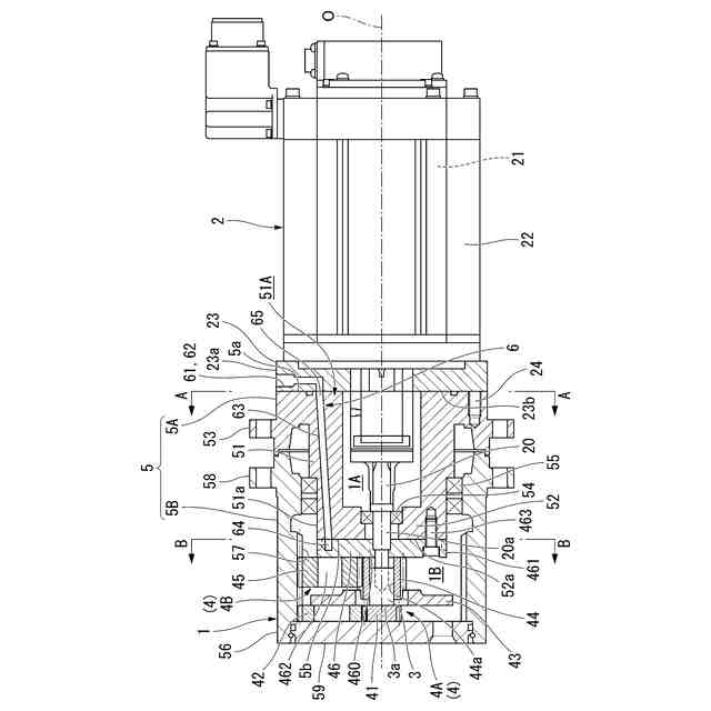
【課題】減速部の発熱を抑えることで、高速回転を可能として小型化でき、建設機械等に対して優れた搭載性が得られる。
【解決手段】電動モータ2の回転駆動力を減速させて回転駆動部に伝達する減速部4と、電動モータ2のモータシャフト20及び減速部4を収容し電動モータ2の回転軸線方向に筒軸を向けた筒状のケース5と、ケース5に回転軸線方向に沿って設けられ、冷却水を流す軸方向流路63と、ケース5の回転軸線方向両端を閉塞する2つのプレート(モータフランジ23、第2キャリア46)と、2つのプレートのうち少なくとも一方に設けられ、冷却水が流れ軸方向流路63に接続する入力側連結流路65及び出力側連結流路64と、を備える減速機を提供する。
【選択図】図2
特許請求の範囲
【請求項1】
電動モータの回転駆動力を減速させて回転駆動部に伝達する減速部と、
前記電動モータのモータシャフト及び前記減速部を収容し前記電動モータの軸方向に筒軸を向けた筒状のケースと、
前記ケースに軸方向に沿って設けられ、流体を流す第1流路と、
前記ケースの軸方向両端を閉塞する2つのプレートと、
前記2つのプレートのうち少なくとも一方に設けられ、前記流体が流れ前記第1流路に接続する第2流路と、
を備える、減速機。
続きを表示(約 1,500 文字)
【請求項2】
前記2つのプレートのうち一方がヒートシンクからなる放熱キャリアであり、
前記第2流路は、前記放熱キャリアに設けられている請求項1に記載の減速機。
【請求項3】
前記放熱キャリアには、前記減速部に設けられるキャリア歯車が回転自在に支持されている請求項2に記載の減速機。
【請求項4】
前記2つのプレートのうち一方が前記電動モータに取り付けられるモータフランジであり、
前記モータフランジには、前記第1流路に接続される吸入ポート及び吐出ポートが設けられている請求項1乃至3のいずれか1項に記載の減速機。
【請求項5】
前記第1流路は、前記軸方向の一端から他端に向けて漸次、前記電動モータの回転軸線から離れる方向に傾斜している請求項1乃至4のいずれか1項に記載の減速機。
【請求項6】
電動モータの回転駆動力を減速させて回転駆動部に伝達する減速部と、
前記電動モータのモータシャフト及び前記減速部を収容し前記電動モータの軸方向に筒軸を向けた筒状のケースと、
前記ケースに軸方向に沿って設けられ、流体を流す第1流路と、
前記ケースの軸方向両端を閉塞する2つのプレートと、
前記2つのプレートのうち少なくとも一方に設けられ、前記流体が流れ前記第1流路に接続する第2流路と、を備え、
前記プレートは、
前記ケースの一方に設けられ、前記減速部に設けられるキャリア歯車が回転自在に支持されたヒートシンクからなる放熱キャリアと、
前記ケースの他方に設けられ、前記電動モータに取り付けられるモータフランジと、を有し、
前記第2流路は、前記放熱キャリアに設けられ、
前記モータフランジには、前記第1流路に接続される吸入ポート及び吐出ポートが設けられ、
前記第1流路は、前記軸方向の一端から他端に向けて漸次、前記電動モータの回転軸線から離れる方向に傾斜している、減速機。
【請求項7】
電動モータと、
前記電動モータの回転駆動力を減速させて回転駆動部に伝達する減速部と、
前記電動モータのモータシャフト及び前記減速部を収容し前記電動モータの軸方向に筒軸を向けた筒状のケースと、
前記ケースに軸方向に沿って設けられ、流体を流す第1流路と、
前記ケースの軸方向両端を閉塞する2つのプレートと、
前記2つのプレートのうち少なくとも一方に設けられ、前記流体が流れ前記第1流路に接続する第2流路と、
を備える、アクチュエータ。
【請求項8】
車体と、
前記車体を走行させる駆動輪と、
前記駆動輪を駆動する電動モータ及び減速機と、
を備え、
前記減速機は、
電動モータの回転駆動力を減速させて回転駆動部に伝達する減速部と、
前記電動モータのモータシャフト及び前記減速部を収容し前記電動モータの軸方向に筒軸を向けた筒状のケースと、
前記ケースに軸方向に沿って設けられ、流体を流す第1流路と、
前記ケースの軸方向両端を閉塞する2つのプレートと、
前記2つのプレートのうち少なくとも一方に設けられ、前記流体が流れ前記第1流路に接続する第2流路と、
を備え、
前記ケースが前記車体又は前記駆動輪に固定され、前記電動モータの回転駆動力が前記減速機を介して前記駆動輪に伝達され、
前記第1流路及び前記第2流路は、前記車体及び前記駆動輪の少なくとも一方に設けられる流体供給部に接続されている、建設機械。
発明の詳細な説明
【技術分野】
【0001】
本発明は、減速機、アクチュエータ、及び、建設機械に関する。
続きを表示(約 1,500 文字)
【背景技術】
【0002】
ショベル等の建設機械では、エンジンを駆動源としてポンプを介して各アクチュエータを油圧で制御している。近年では、エンジンによる駆動源に代えて、バッテリーを駆動源としてポンプを駆動する方式や、例えば特許文献1に示されるような各アクチュエータをバッテリーから電気駆動する方式の電動モータを用いることが提案されている。
【先行技術文献】
【特許文献】
【0003】
特開2016-191450号公報
【発明の概要】
【発明が解決しようとする課題】
【0004】
上記のように電動モータを使用する場合、電動モータが油圧モータよりも大型化することから、モータを高速回転にすることで小型化を図っている。ところが、高速回転させることによりとくにモータシャフトに直結する1段目の減速部で発熱するため、その高熱部分に対する冷却が必要となっていた。例えば、上記の特許文献1には、入力軸側にファンとフードを設け、強制的に空冷して高熱部分を冷却する構成が開示されている。
しかしながら、ファンによる冷却方式の場合には、吸排気がむき出しの状態であることから、建設機械等の使用環境下では土砂等が混入する。そのため、ファンによる冷却の場合には、小型化された電動モータを建設機械等へ搭載することが難しく、その点で改善の余地があった。
【0005】
本発明は、流体により減速部の発熱を抑えることで、高速回転を可能として小型化でき、建設機械等に対する搭載性に優れた減速機、アクチュエータ、及び、建設機械を提供する。
【課題を解決するための手段】
【0006】
本発明の一態様に係る減速機は、電動モータの回転駆動力を減速させて回転駆動部に伝達する減速部と、前記電動モータのモータシャフト及び前記減速部を収容し前記電動モータの軸方向に筒軸を向けた筒状のケースと、前記ケースに軸方向に沿って設けられ、流体を流す第1流路と、前記ケースの軸方向両端を閉塞する2つのプレートと、前記2つのプレートのうち少なくとも一方に設けられ、前記流体が流れ前記第1流路に接続する第2流路と、を備える。
【0007】
このように構成することで、第1流路、及び第2流路によってケースの両端を閉塞する2つのプレートの少なくとも一方が冷却され、ケースに収容される減速部やモータシャフトも冷却されるため、モータシャフトに直結する減速部の発熱を抑えることができる。そのため、減速部を電動モータの高速回転に対応して適用可能となり、電動モータの小型化を図ることができる。
また、第1流路、及び第2流路を設けることによる冷却方式となり、従来のファンによる空冷方式の場合のように吸排気がむき出しの状態で土砂等が混入することを防止できるので、土砂等が混入しやすい建設機械等に対する搭載性を向上させることができる。
【0008】
前記2つのプレートのうち一方がヒートシンクからなる放熱キャリアであり、前記第2流路は、前記放熱キャリアに設けられていても良い。
【0009】
前記放熱キャリアには、前記減速部に設けられるキャリア歯車が回転自在に支持されていることが望ましい。
【0010】
前記2つのプレートのうち一方が前記電動モータに取り付けられるモータフランジであり、前記モータフランジには、前記第1流路に接続される吸入ポート及び吐出ポートが設けられていても良い。
(【0011】以降は省略されています)
この特許をJ-PlatPat(特許庁公式サイト)で参照する
関連特許
ナブテスコ株式会社
回転装置
18日前
ナブテスコ株式会社
歯車装置
1か月前
ナブテスコ株式会社
鉄道用圧縮装置
3日前
ナブテスコ株式会社
方向切換弁装置
17日前
ナブテスコ株式会社
ユニットブレーキ装置
1か月前
ナブテスコ株式会社
ドーザブレード駆動機構
16日前
ナブテスコ株式会社
保持器、転がり軸受、及び回転装置
1か月前
ナブテスコ株式会社
空気圧縮ユニット、圧縮装置、引出治具及び機器引出方法
3日前
ナブテスコ株式会社
自動ドア装置及びその制御方法
3日前
ナブテスコ株式会社
減速機、アクチュエータ、及び、建設機械
3日前
ナブテスコ株式会社
状態推定装置、ホームドアシステム及び状態推定方法
16日前
ナブテスコ株式会社
状態推定装置、ホームドアシステム及び状態推定方法
16日前
ナブテスコ株式会社
風力発電装置の制御装置、風力発電装置用の処理回路、風力発電装置用の制御方法、及び風力発電装置用の制御プログラム
1か月前
個人
留め具
1か月前
個人
鍋虫ねじ
2か月前
個人
回転伝達機構
3か月前
個人
ホース保持具
7か月前
個人
紛体用仕切弁
2か月前
個人
トーションバー
7か月前
個人
差動歯車用歯形
5か月前
個人
ジョイント
2か月前
個人
給排気装置
1か月前
個人
ナット
2か月前
個人
地震の揺れ回避装置
4か月前
株式会社不二工機
電磁弁
4か月前
株式会社不二工機
電磁弁
6か月前
個人
ナット
18日前
個人
吐出量監視装置
2か月前
個人
ゲート弁バルブ
3日前
カヤバ株式会社
緩衝器
4か月前
カヤバ株式会社
緩衝器
4か月前
カヤバ株式会社
ダンパ
5か月前
兼工業株式会社
バルブ
19日前
柿沼金属精機株式会社
分岐管
3か月前
カヤバ株式会社
緩衝器
1か月前
カヤバ株式会社
ダンパ
5か月前
続きを見る
他の特許を見る