TOP
|
特許
|
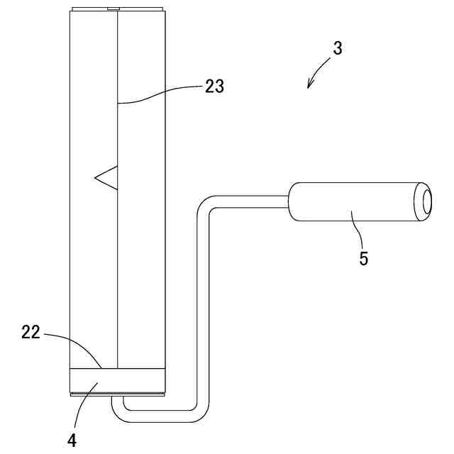
意匠
|
商標
特許ウォッチ
Twitter
他の特許を見る
10個以上の画像は省略されています。
公開番号
2025171989
公報種別
公開特許公報(A)
公開日
2025-11-20
出願番号
2025072463
出願日
2025-04-24
発明の名称
清掃シートおよび清掃具
出願人
個人
代理人
弁理士法人白浜国際特許商標事務所
主分類
A47L
25/00 20060101AFI20251113BHJP(家具;家庭用品または家庭用設備;コーヒーひき;香辛料ひき;真空掃除機一般)
要約
【課題】1枚ずつ使用することで衛生面に優れ、かつ、取り付け及び取り外しの操作を簡単に行うことができるようにした清掃シートおよび清掃具を提供する。
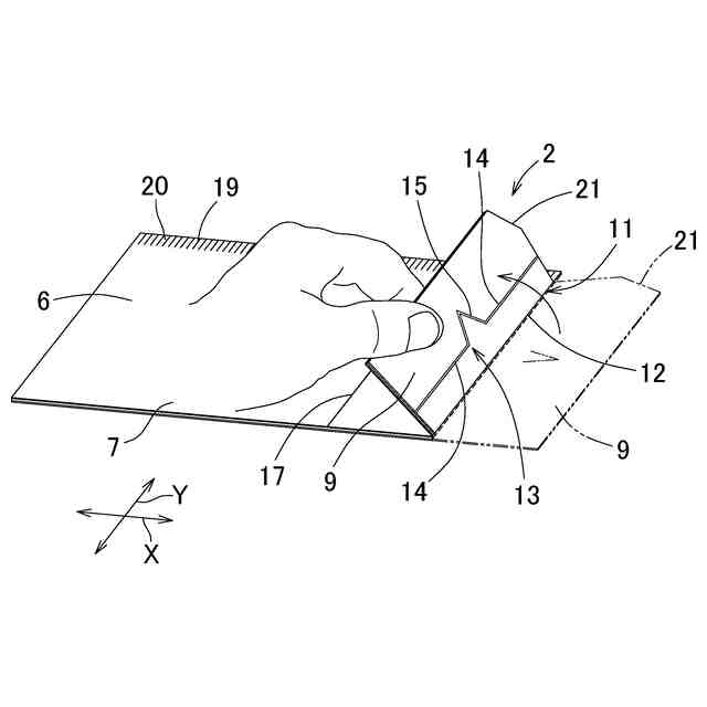
【解決手段】長さ方向Xおよび幅方向Yと表面側6および裏面側8を有し、長さ方向Xに沿ってローラー4に巻付けて使用する清掃シート2であって、裏面側8に粘着部10を有するシート本体7と、このシート本体7に粘着部10を介して重合される剥離シート9と、シート本体7と剥離シート9を、長さ方向Xに折曲げ易くするための折曲げ容易部11と、剥離シート9に折曲げ容易部11から長さ方向Xに間隔を隔てて設けられた剥離用スリット13を備える。
【選択図】図3
特許請求の範囲
【請求項1】
長さ方向および幅方向と表面側および裏面側を有し、前記長さ方向に沿ってローラーに巻付けて使用する清掃シートであって、
前記裏面側に粘着部を有するシート本体と、
該シート本体に前記粘着部を介して重合される剥離シートと、
前記シート本体と前記剥離シートのうち少なくとも前記シート本体を、前記長さ方向に折曲げ易くするための折曲げ容易部と、
前記剥離シートに前記折曲げ容易部から前記長さ方向に間隔を隔てて設けられた剥離用スリットと、
を具備した、
ことを特徴とする清掃シート。
続きを表示(約 860 文字)
【請求項2】
前記折曲げ容易部は、前記幅方向に沿うミシン目を有することを特徴とする請求項1に記載の清掃シート。
【請求項3】
前記剥離用スリットは、前記幅方向に沿う直線状スリット部と、該直線状スリット部に連続し、前記折曲げ容易部と反対側へ突出する突状スリット部とを備えたことを特徴とする請求項1に記載の清掃シート。
【請求項4】
前記シート本体は、前記突状スリット部に対応する部位に前記突状スリット部と同形状の貫通スリットを備えたことを特徴とする請求項3に記載の清掃シート。
【請求項5】
前記シート本体は、前記折曲げ容易部で折曲げる際に前記長さ方向の先端側を位置決めする先端位置決め表示を備えたことを特徴とする請求項1に記載の清掃シート。
【請求項6】
前記剥離シートは、前記ローラーへの取付けの際に前記剥離用スリットから剥離される長さの目安を表示する目安表示を備えたことを特徴とする請求項1に記載の清掃シート。
【請求項7】
前記シート本体は、前記折曲げ容易部に対し前記剥離用スリットと反対側の領域において幅方向の一端側に、前記幅方向に沿う多数のブラシ形成用スリットを備えたことを特徴とする請求項1に記載の清掃シート。
【請求項8】
前記シート本体は、前記折曲げ容易部に対し前記剥離用スリットと同じ側の領域において幅方向の一端側に、前記折曲げ容易部に接続する傾斜突部を備えたことを特徴とする請求項1に記載の清掃シート。
【請求項9】
請求項1の清掃シートと、
該清掃シートを巻付けて取り付けるためのローラーと、
を具備したことを特徴とする清掃具。
【請求項10】
前記ローラーは、前記シート本体を幅方向の一端側が食み出すように他端側の位置決めを行なうための幅方向位置決め表示を備えたことを特徴とする請求項9に記載の清掃具。
(【請求項11】以降は省略されています)
発明の詳細な説明
【技術分野】
【0001】
本発明は、主にカーペットやフローリング床等の清掃に使用される粘着式の清掃シートおよびこれを用いる清掃具に関する。
続きを表示(約 1,000 文字)
【背景技術】
【0002】
この種の清掃シートおよび清掃具としては、従来、種々のものが提案されている。
【0003】
たとえば特許文献1には、ゴミを捕捉するための清掃用粘着面を有するロール状の清掃シートと、清掃シートを充填するドラムを含む清掃具本体とを備えた清掃具が開示されている。
【0004】
この清掃具によれば、ドラムの取り出し口から清掃シートを引き出して、清掃シートに印刷された切断位置表示ラインに沿って切断することで、清掃シートの1周分を正確に切断できることから、無駄なく使用することができる。
【先行技術文献】
【特許文献】
【0005】
特開2001-190486号公報
【発明の概要】
【発明が解決しようとする課題】
【0006】
しかしながら、清掃後に清掃シートを切断することは手間であり、また清掃具を保管している状態においてもロール状の清掃シートの清掃粘着面にゴミが付着して不衛生になるおそれがある。
【0007】
本発明は、上記事情に基づいてなされたもので、その目的とするところは、1枚ずつ使用することで衛生面に優れ、かつ、取り付け及び取り外しの操作を簡単に行うことができるようにした清掃シートおよび清掃具を提供することにある。
【課題を解決するための手段】
【0008】
上記課題を解決するために、本発明に係る清掃シートは、長さ方向および幅方向と表面側および裏面側を有し、長さ方向に沿ってローラーに巻付けて使用する清掃シートであって、裏面側に粘着部を有するシート本体と、このシート本体に粘着部を介して重合される剥離シートと、シート本体と剥離シートのうち少なくともシート本体を、長さ方向に折曲げ易くするための折曲げ容易部と、剥離シートに折曲げ容易部から長さ方向に間隔を隔てて設けられた剥離用スリットとを具備したことを特徴とするものである。
【0009】
また、本発明に係る清掃具は、上記の清掃シートと、この清掃シートを巻付けて取り付けるためのローラーとを具備したことを特徴とするものである。
【発明の効果】
【0010】
本発明に係る清掃シートおよび清掃具によれば、1枚ずつ使用することで衛生面に優れ、かつ、清掃具への取り付け及び取り外しの操作を簡単に行うことができる。
【図面の簡単な説明】
(【0011】以降は省略されています)
この特許をJ-PlatPat(特許庁公式サイト)で参照する
関連特許
個人
箸
1か月前
個人
家具
4か月前
個人
椅子
3か月前
個人
自助箸
7か月前
個人
掃除機
9か月前
個人
体洗い具
10か月前
個人
ソファー
2か月前
個人
屋外用箒
7か月前
個人
ハンガー
7か月前
個人
耳拭き棒
11か月前
個人
多用途紐
1か月前
個人
枕
8か月前
個人
掃除道具
8か月前
個人
掃除用具
3か月前
個人
枕
5か月前
個人
省煙消臭器
8か月前
個人
開閉トング
6か月前
個人
物品
3か月前
個人
掃除シート
9か月前
個人
片手代替具
11か月前
個人
組立式棚板
7か月前
個人
シャワー装置
6か月前
個人
中身のない枕
7か月前
個人
バターナイフ
1か月前
個人
洗面台
11か月前
個人
転倒防止装置
5か月前
個人
ゴミ袋保持枠
7か月前
個人
経典表示装置
4か月前
個人
受け皿
5か月前
個人
紙コップ 蓋
2か月前
個人
靴ベラ
2か月前
個人
組立家具
9か月前
個人
首支持具
3か月前
個人
コーヒー抽出器
4か月前
個人
汚水漏れ防止具
10か月前
個人
清掃用具
4日前
続きを見る
他の特許を見る