TOP
|
特許
|
意匠
|
商標
特許ウォッチ
Twitter
他の特許を見る
10個以上の画像は省略されています。
公開番号
2025171822
公報種別
公開特許公報(A)
公開日
2025-11-20
出願番号
2024077524
出願日
2024-05-10
発明の名称
業務支援装置、業務支援方法及び業務支援プログラム
出願人
株式会社オービック
代理人
弁理士法人酒井国際特許事務所
主分類
G06Q
10/0631 20230101AFI20251113BHJP(計算;計数)
要約
【課題】売上金額の部門別の按分業務を支援する。
【解決手段】判別部が、受注部門及び他の部門の、請求項目、請求金額及び計上部門を含む請求データのうち、他の部門の請求データが原価按分データの生成対象であるか否かを判別する。取得部は、他の部門の請求データが原価按分データの生成対象である場合、他の部門の請求データの請求項目に対応する原価項目及び按分手数料率を按分対象マスタテーブルから取得する。算出部は、他の部門の請求データの請求金額に、取得された按分手数料率を乗算処理した原価金額を算出する。原価按分データ生成部は、算出された原価金額、原価項目及び計上部門を含む他の部門の原価按分データを生成する。また、生成した他の部門の原価按分データの原価金額をマイナスの金額とした原価金額、生成した他の部門の原価按分データに含まれる原価項目と同じ原価項目を含む、受注部門の原価按分データを生成する。
【選択図】図1
特許請求の範囲
【請求項1】
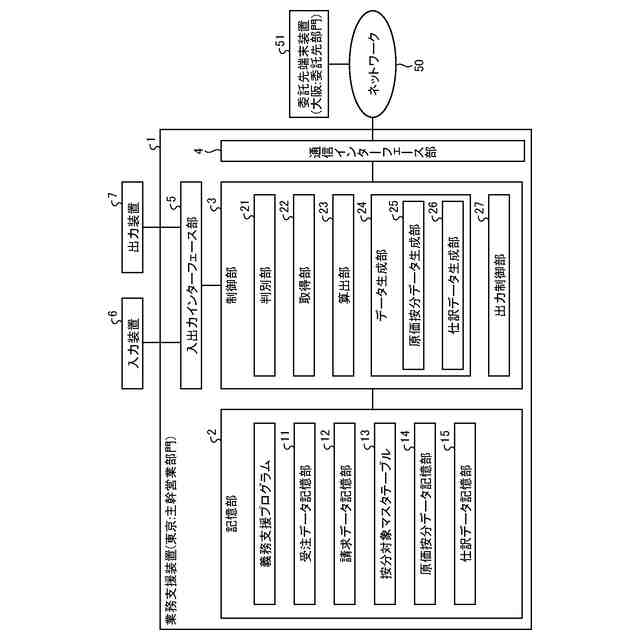
受注部門で受注したプロジェクトを、一つ又は複数の他の部門と共に共同して作業した際に、各部門の作業の割合に応じた原価の按分業務の支援を図る業務支援装置であって、
前記受注部門及び前記他の部門の、請求項目、請求金額及び計上部門を含む請求データのうち、前記他の部門の前記請求データの前記請求項目が、原価の按分対象となる請求項目、原価項目及び按分手数料率がそれぞれ関連付けされて記憶された按分対象マスタテーブルに記憶されているか否かに基づいて、前記他の部門の前記請求データに対応する原価按分データの生成の要否を判別する判別部と、
前記他の部門の前記請求データに含まれる前記請求項目が前記按分対象マスタテーブルに記憶されており、当該他の部門の前記請求データが前記原価按分データの生成対象となる請求データであるとの判別結果が得られた場合、前記他の部門の前記請求データの前記請求項目に対応する前記原価項目及び前記按分手数料率を前記按分対象マスタテーブルから取得する取得部と、
前記原価按分データの生成対象となる前記他の部門の前記請求データの前記請求金額に、前記按分対象マスタテーブルから取得された前記按分手数料率を乗算処理した原価金額を算出する算出部と、
算出された前記原価金額、原価項目及び計上部門を含む前記他の部門の原価按分データを生成すると共に、生成した前記他の部門の原価按分データの前記原価金額をマイナスの金額とした原価金額、生成した前記他の部門の前記原価按分データに含まれる前記原価項目と同じ原価項目を含む、前記受注部門の原価按分データを生成する原価按分データ生成部と、
生成された前記原価按分データを出力装置に出力する出力制御部と、
を有することを特徴とする業務支援装置。
続きを表示(約 1,800 文字)
【請求項2】
借方の勘定科目を按分手数料とし、部門を前記他の部門とし、金額を前記他の部門の原価金額とし、貸方の勘定科目を按分手数料とし、部門を前記受注部門とし、金額を前記他の部門の原価金額と同じ金額とした仕訳データを生成する仕訳データ生成部を、さらに備え、
前記出力制御部は、生成された前記仕訳データを前記出力装置に出力すること、
を特徴とする請求項1に記載の業務支援装置。
【請求項3】
受注部門で受注したプロジェクトを、一つ又は複数の他の部門と共に共同して作業した際に、各部門の作業の割合に応じた原価の按分業務の支援を図るための業務支援方法であって、
判別部が、前記受注部門及び前記他の部門の、請求項目、請求金額及び計上部門を含む請求データのうち、前記他の部門の前記請求データの前記請求項目が、原価の按分対象となる請求項目、原価項目及び按分手数料率がそれぞれ関連付けされて記憶された按分対象マスタテーブルに記憶されているか否かに基づいて、前記他の部門の前記請求データに対応する原価按分データの生成の要否を判別する判別ステップと、
取得部が、前記他の部門の前記請求データに含まれる前記請求項目が前記按分対象マスタテーブルに記憶されており、当該他の部門の前記請求データが前記原価按分データの生成対象となる請求データであるとの判別結果が得られた場合、前記他の部門の前記請求データの前記請求項目に対応する前記原価項目及び前記按分手数料率を前記按分対象マスタテーブルから取得する取得ステップと、
算出部が、前記原価按分データの生成対象となる前記他の部門の前記請求データの前記請求金額に、前記按分対象マスタテーブルから取得された前記按分手数料率を乗算処理した原価金額を算出する算出ステップと、
原価按分データ生成部が、前記算出ステップで算出された前記原価金額、原価項目及び計上部門を含む前記他の部門の原価按分データを生成すると共に、生成した前記他の部門の原価按分データの前記原価金額をマイナスの金額とした原価金額、生成した前記他の部門の前記原価按分データに含まれる前記原価項目と同じ原価項目を含む、前記受注部門の原価按分データを生成する原価按分データ生成ステップと、
出力制御部が、前記原価按分データ生成ステップで生成された前記原価按分データを出力装置に出力する出力制御ステップと、
を有することを特徴とする業務支援方法。
【請求項4】
受注部門で受注したプロジェクトを、一つ又は複数の他の部門と共に共同して作業した際に、各部門の作業の割合に応じた原価の按分業務の支援を図るように業務支援装置のコンピュータを機能させる業務支援プログラムであって、
前記コンピュータを、
前記受注部門及び前記他の部門の、請求項目、請求金額及び計上部門を含む請求データのうち、前記他の部門の前記請求データの前記請求項目が、原価の按分対象となる請求項目、原価項目及び按分手数料率がそれぞれ関連付けされて記憶された按分対象マスタテーブルに記憶されているか否かに基づいて、前記他の部門の前記請求データに対応する原価按分データの生成の要否を判別する判別部と、
前記他の部門の前記請求データに含まれる前記請求項目が前記按分対象マスタテーブルに記憶されており、当該他の部門の前記請求データが前記原価按分データの生成対象となる請求データであるとの判別結果が得られた場合、前記他の部門の前記請求データの前記請求項目に対応する前記原価項目及び前記按分手数料率を前記按分対象マスタテーブルから取得する取得部と、
前記原価按分データの生成対象となる前記他の部門の前記請求データの前記請求金額に、前記按分対象マスタテーブルから取得された前記按分手数料率を乗算処理した原価金額を算出する算出部と、
算出された前記原価金額、原価項目及び計上部門を含む前記他の部門の原価按分データを生成すると共に、生成した前記他の部門の原価按分データの前記原価金額をマイナスの金額とした原価金額、生成した前記他の部門の前記原価按分データに含まれる前記原価項目と同じ原価項目を含む、前記受注部門の原価按分データを生成する原価按分データ生成部と、
生成された前記原価按分データを出力装置に出力する出力制御部として機能させること、
を特徴とする業務支援プログラム。
発明の詳細な説明
【技術分野】
【0001】
本発明は、業務支援装置、業務支援方法及び業務支援プログラムに関する。
続きを表示(約 2,900 文字)
【背景技術】
【0002】
特許文献1(特開2013-114503号公報)には、原価の発生原因を正確に特定する原価計算システムを安価に構築可能とした原価計算装置が開示されている。この原価計算装置は、作業者と作業対象が関与したことを検知した結果を対面データとして取得し、その対面データ及び作業対象と作業項目との対応関係を記述した対応関係データに基づいて、作業者が実施した作業を特定する。これにより、原価の発生原因を正確に特定する原価計算システムを安価に構築可能としている。
【先行技術文献】
【特許文献】
【0003】
特開2013-114503号公報
【発明の概要】
【発明が解決しようとする課題】
【0004】
ここで、例えば所定の部門で受注したプロジェクトを、一つ又は複数の他の部門と共同して作業することがある。この場合、部門間で売上金額を按分して部門別の業績評価を行うことが好ましい。
【0005】
しかし、この売上金額の部門別の按分作業が面倒であり、担当者の負担となる問題があった。
【0006】
本発明は、上述の課題に鑑みてなされたものであり、売上金額の部門別の按分業務を支援して担当者の負担を軽減可能とした業務支援装置、業務支援方法及び業務支援プログラムの提供を目的とする。
【課題を解決するための手段】
【0007】
上述の課題を解決し、目的を達成するために、本発明に係る業務支援装置は、受注部門で受注したプロジェクトを、一つ又は複数の他の部門と共に共同して作業した際に、各部門の作業の割合に応じた原価の按分業務の支援を図る業務支援装置であって、受注部門及び他の部門の、請求項目、請求金額及び計上部門を含む請求データのうち、他の部門の請求データの請求項目が、原価の按分対象となる請求項目、原価項目及び按分手数料率がそれぞれ関連付けされて記憶された按分対象マスタテーブルに記憶されているか否かに基づいて、他の部門の請求データに対応する原価按分データの生成の要否を判別する判別部と、他の部門の請求データに含まれる請求項目が按分対象マスタテーブルに記憶されており、他の部門の請求データが原価按分データの生成対象となる請求データであるとの判別結果が得られた場合、他の部門の請求データの請求項目に対応する原価項目及び按分手数料率を按分対象マスタテーブルから取得する取得部と、原価按分データの生成対象となる他の部門の請求データの請求金額に、按分対象マスタテーブルから取得された按分手数料率を乗算処理した原価金額を算出する算出部と、算出された原価金額、原価項目及び計上部門を含む他の部門の原価按分データを生成すると共に、生成した他の部門の原価按分データの原価金額をマイナスの金額とした原価金額、生成した他の部門の原価按分データに含まれる原価項目と同じ原価項目を含む、受注部門の原価按分データを生成する原価按分データ生成部と、生成された原価按分データを出力装置に出力する出力制御部と、を有する。
【0008】
また、上述の課題を解決し、目的を達成するために、本発明に係る業務支援方法は、受注部門で受注したプロジェクトを、一つ又は複数の他の部門と共に共同して作業した際に、各部門の作業の割合に応じた原価の按分業務の支援を図るための業務支援方法であって、判別部が、受注部門及び他の部門の、請求項目、請求金額及び計上部門を含む請求データのうち、他の部門の請求データの請求項目が、原価の按分対象となる請求項目、原価項目及び按分手数料率がそれぞれ関連付けされて記憶された按分対象マスタテーブルに記憶されているか否かに基づいて、他の部門の請求データに対応する原価按分データの生成の要否を判別する判別ステップと、取得部が、他の部門の請求データに含まれる請求項目が按分対象マスタテーブルに記憶されており、他の部門の請求データが原価按分データの生成対象となる請求データであるとの判別結果が得られた場合、他の部門の請求データの請求項目に対応する原価項目及び按分手数料率を按分対象マスタテーブルから取得する取得ステップと、算出部が、原価按分データの生成対象となる他の部門の請求データの請求金額に、按分対象マスタテーブルから取得された按分手数料率を乗算処理した原価金額を算出する算出ステップと、原価按分データ生成部が、算出ステップで算出された原価金額、原価項目及び計上部門を含む他の部門の原価按分データを生成すると共に、生成した他の部門の原価按分データの原価金額をマイナスの金額とした原価金額、生成した他の部門の原価按分データに含まれる原価項目と同じ原価項目を含む、受注部門の原価按分データを生成する原価按分データ生成ステップと、出力制御部が、原価按分データ生成ステップで生成された原価按分データを出力装置に出力する出力制御ステップと、を有する。
【0009】
また、上述の課題を解決し、目的を達成するために、本発明に係る業務支援プログラムは、受注部門で受注したプロジェクトを、一つ又は複数の他の部門と共に共同して作業した際に、各部門の作業の割合に応じた原価の按分業務の支援を図るように業務支援装置のコンピュータを機能させる業務支援プログラムであって、コンピュータを、受注部門及び他の部門の、請求項目、請求金額及び計上部門を含む請求データのうち、他の部門の請求データの請求項目が、原価の按分対象となる請求項目、原価項目及び按分手数料率がそれぞれ関連付けされて記憶された按分対象マスタテーブルに記憶されているか否かに基づいて、他の部門の請求データに対応する原価按分データの生成の要否を判別する判別部と、他の部門の請求データに含まれる請求項目が按分対象マスタテーブルに記憶されており、他の部門の請求データが原価按分データの生成対象となる請求データであるとの判別結果が得られた場合、他の部門の請求データの請求項目に対応する原価項目及び按分手数料率を按分対象マスタテーブルから取得する取得部と、原価按分データの生成対象となる他の部門の請求データの請求金額に、按分対象マスタテーブルから取得された按分手数料率を乗算処理した原価金額を算出する算出部と、算出された原価金額、原価項目及び計上部門を含む他の部門の原価按分データを生成すると共に、生成した他の部門の原価按分データの原価金額をマイナスの金額とした原価金額、生成した他の部門の原価按分データに含まれる原価項目と同じ原価項目を含む、受注部門の原価按分データを生成する原価按分データ生成部と、生成された原価按分データを出力装置に出力する出力制御部として機能させる。
【発明の効果】
【0010】
本発明は、売上金額の部門別の按分業務を支援して担当者の負担を軽減できる。
【図面の簡単な説明】
(【0011】以降は省略されています)
この特許をJ-PlatPat(特許庁公式サイト)で参照する
関連特許
株式会社オービック
業務支援装置、業務支援方法及び業務支援プログラム
4日前
株式会社オービック
業務支援装置、業務支援方法及び業務支援プログラム
17日前
株式会社オービック
業務支援装置、業務支援方法及び業務支援プログラム
17日前
株式会社オービック
業務支援装置、業務支援方法、及び業務支援プログラム
25日前
株式会社オービック
加工単価算出装置、加工単価算出方法、及び加工単価算出プログラム
4日前
株式会社オービック
延滞債権管理装置、延滞債権管理方法、および、延滞債権管理プログラム
19日前
株式会社オービック
不動産賃貸管理装置、不動産賃貸管理方法、及び不動産賃貸管理プログラム
4日前
株式会社オービック
表示制御装置、表示制御方法、及び、表示制御プログラム
17日前
株式会社オービック
商取引業務システム、商取引業務方法、及び商取引業務プログラム
17日前
個人
詐欺保険
1か月前
個人
縁伊達ポイン
1か月前
個人
RFタグシート
28日前
個人
職業自動販売機
10日前
個人
5掛けポイント
17日前
個人
ペルソナ認証方式
25日前
個人
地球保全システム
1か月前
個人
QRコードの彩色
1か月前
個人
情報処理装置
20日前
個人
自動調理装置
27日前
個人
残土処理システム
1か月前
個人
農作物用途分配システム
1か月前
個人
タッチパネル操作指代替具
1か月前
個人
知的財産出願支援システム
1か月前
個人
サービス情報提供システム
12日前
個人
インターネットの利用構造
24日前
個人
スケジュール調整プログラム
1か月前
個人
携帯端末障害問合せシステム
1か月前
株式会社キーエンス
受発注システム
1か月前
個人
システム及びプログラム
2か月前
株式会社キーエンス
受発注システム
1か月前
株式会社キーエンス
受発注システム
1か月前
個人
エリアガイドナビAIシステム
25日前
個人
海外支援型農作物活用システム
2か月前
個人
食品レシピ生成システム
1か月前
株式会社ワコム
電子ペン
19日前
株式会社ワコム
電子ペン
19日前
続きを見る
他の特許を見る