TOP
|
特許
|
意匠
|
商標
特許ウォッチ
Twitter
他の特許を見る
10個以上の画像は省略されています。
公開番号
2025171709
公報種別
公開特許公報(A)
公開日
2025-11-20
出願番号
2024077329
出願日
2024-05-10
発明の名称
不動産賃貸管理装置、不動産賃貸管理方法、及び不動産賃貸管理プログラム
出願人
株式会社オービック
代理人
弁理士法人酒井国際特許事務所
主分類
G06Q
50/16 20240101AFI20251113BHJP(計算;計数)
要約
【課題】賃貸物件の退去精算時に請求先の付け替えを行う場合の精算処理の業務負荷を低減すること。
【解決手段】本実施の形態に係る不動産賃貸管理装置は、制御部を備え、賃貸物件の退去精算時の精算処理を行うための不動産賃貸管理装置であって、契約番号、物件、部屋番号、契約者、入居者、入居中又は退去済を示す契約状況を関連付けて登録した契約マスタと、契約番号、家賃及び/又は共益費を含む請求項目、請求先、月額請求金額を関連付けて登録した契約賃料月次マスタと、精算入力画面において、オペレータの操作に応じて、指定される、契約番号、物件コード、及び部屋番号について、請求先を付け替え先に変更し、回収予定データに対して、変更前の請求先に残っている家賃及び/又は共益費の未収を消すための赤処理と、変更後の請求先へ前記未収を移すための黒処理を行う精算入力手段を備えている。
【選択図】図1
特許請求の範囲
【請求項1】
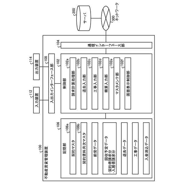
制御部を備え、賃貸物件の退去精算時の精算処理を行うための不動産賃貸管理装置であって、
契約番号、物件、部屋番号、契約者、入居者、入居中又は退去済を示す契約状況を関連付けて登録した契約マスタと、
契約番号、家賃及び/又は共益費を含む請求項目、請求先、月額請求金額を関連付けて登録した契約賃料月次マスタと、
月次で、前記契約賃料月次マスタに基づいて作成され、契約者請求分と入居者請求分がそれぞれ作成され、回収予定識別情報、請求番号、契約番号、請求先、請求年月、該当月、請求項目、請求金額、入金金額、どの処理から作成されたかを指定する作成区分を含む回収予定データと、
にアクセス可能に構成されており、
精算入力画面において、オペレータの操作に応じて、指定される、契約番号、物件コード、及び部屋番号について、請求先を付け替え先に変更し、前記回収予定データに対して、変更前の請求先に残っている家賃及び/又は共益費の未収を消すための赤処理と、変更後の請求先へ前記未収を移すための黒処理を行う精算入力手段を備えたことを特徴とする不動産賃貸管理装置。
続きを表示(約 1,700 文字)
【請求項2】
前記契約賃料月次マスタの請求項目は、更に、敷金を含み、
前記精算入力手段は、前記回収予定データに対して、前記契約賃料月次マスタの敷金の情報を参照して、変更前の請求先の敷金を消すための赤処理と、変更後の請求先へ敷金を移すための黒処理を行うことを特徴とする請求項1に記載の不動産賃貸管理装置。
【請求項3】
前記制御部は、更に、
過入金を前受金として処理するためのデータであり、前受識別情報、入金番号、契約番号、請求先、計上日、前受振替残高を含む前受データにアクセス可能に構成されており、
前記精算入力手段は、前記前受データに対して、変更前の請求先の前受金を消すための赤処理と、変更後の請求先へ前受金を移すための黒処理を行うことを特徴とする請求項1に記載の不動産賃貸管理装置。
【請求項4】
前記制御部は、更に、
退去精算時の現状回復工事のデータであり、工事番号、契約番号、物件、部屋番号、工事種別、請求先、工事代を含む工事データにアクセス可能に構成されており、
前記精算入力手段は、前記回収予定データに対して、前記工事データを参照して、変更前の請求先の工事代を消すための赤処理と、変更後の請求先へ工事代を移すための黒処理を行うことを特徴とする請求項1に記載の不動産賃貸管理装置。
【請求項5】
前記契約マスタは、更に、保証人を関連付けて登録することを特徴とする請求項1~4のいずれか1つに記載の不動産賃貸管理装置。
【請求項6】
制御部を備えた情報処理装置が実行する不動産賃貸管理方法であって、
前記制御部は、
契約番号、物件、部屋番号、契約者、入居者、入居中又は退去済を示す契約状況を関連付けて登録した契約マスタと、
契約番号、家賃及び/又は共益費を含む請求項目、請求先、月額請求金額を関連付けて登録した契約賃料月次マスタと、
月次で、前記契約賃料月次マスタに基づいて作成され、契約者請求分と入居者請求分がそれぞれ作成され、回収予定識別情報、請求番号、契約番号、請求先、請求年月、該当月、請求項目、請求金額、入金金額、どの処理から作成されたかを指定する作成区分を含む回収予定データと、
にアクセス可能に構成されており、
前記制御部において実行される、
精算入力画面において、オペレータの操作に応じて、指定される、契約番号、物件コード、及び部屋番号について、請求先を付け替え先に変更し、前記回収予定データに対して、変更前の請求先に残っている家賃及び/又は共益費の未収を消すための赤処理と、変更後の請求先へ前記未収を移すための黒処理を行う精算入力工程を含むことを特徴とする不動産賃貸管理方法。
【請求項7】
制御部を備えた情報処理装置に実行させるための不動産賃貸管理プログラムであって、
前記制御部は、
契約番号、物件、部屋番号、契約者、入居者、入居中又は退去済を示す契約状況を関連付けて登録した契約マスタと、
契約番号、家賃及び/又は共益費を含む請求項目、請求先、月額請求金額を関連付けて登録した契約賃料月次マスタと、
月次で、前記契約賃料月次マスタに基づいて作成され、契約者請求分と入居者請求分がそれぞれ作成され、回収予定識別情報、請求番号、契約番号、請求先、請求年月、該当月、請求項目、請求金額、入金金額、どの処理から作成されたかを指定する作成区分を含む回収予定データと、
にアクセス可能に構成されており、
前記制御部に、
精算入力画面において、オペレータの操作に応じて、指定される、契約番号、物件コード、及び部屋番号について、請求先を付け替え先に変更し、前記回収予定データに対して、変更前の請求先に残っている家賃及び/又は共益費の未収を消すための赤処理と、変更後の請求先へ前記未収を移すための黒処理を行う精算入力工程を実行させるための不動産賃貸管理プログラム。
発明の詳細な説明
【技術分野】
【0001】
本発明は、不動産賃貸管理装置、不動産賃貸管理方法、及び不動産賃貸管理プログラムに関する。
続きを表示(約 1,600 文字)
【背景技術】
【0002】
例えば、賃貸物件では、毎月の家賃・共益費は契約者(法人)負担、駐車場代は入居者(個人)負担とするように、請求先(精算先)が複数に分かれている場合がある。従来、賃貸物件を管理するシステムとして、例えば、特許文献1がある。
【先行技術文献】
【特許文献】
【0003】
特開2021-140720号公報
【発明の概要】
【発明が解決しようとする課題】
【0004】
しかしながら、賃貸物件の退去精算処理をする際に、請求先を付け替える場合があり得るが、全て手入力での赤黒の伝票処理が必要であるため、精算処理の業務負荷が大きいという課題がある。
【0005】
本発明は、上記に鑑みてなされたものであり、賃貸物件の退去精算時に請求先の付け替えを行う場合の精算処理の業務負荷を低減することが可能な不動産賃貸管理装置、不動産賃貸管理方法、及び不動産賃貸管理プログラムを提供することを目的とする。
【課題を解決するための手段】
【0006】
上述した課題を解決し、目的を達成するために、本発明は、制御部を備え、賃貸物件の退去精算時の精算処理を行うための不動産賃貸管理装置であって、契約番号、物件、部屋番号、契約者、入居者、入居中又は退去済を示す契約状況を関連付けて登録した契約マスタと、契約番号、家賃及び/又は共益費を含む請求項目、請求先、月額請求金額を関連付けて登録した契約賃料月次マスタと、月次で、前記契約賃料月次マスタに基づいて作成され、契約者請求分と入居者請求分がそれぞれ作成され、回収予定識別情報、請求番号、契約番号、請求先、請求年月、該当月、請求項目、請求金額、入金金額、どの処理から作成されたかを指定する作成区分を含む回収予定データと、にアクセス可能に構成されており、精算入力画面において、オペレータの操作に応じて、指定される、契約番号、物件コード、及び部屋番号について、請求先を付け替え先に変更し、前記回収予定データに対して、変更前の請求先に残っている家賃及び/又は共益費の未収を消すための赤処理と、変更後の請求先へ前記未収を移すための黒処理を行う精算入力手段を備えたことを特徴とする。
【0007】
また、本発明の一態様によれば、前記契約賃料月次マスタの請求項目は、更に、敷金を含み、前記精算入力手段は、前記回収予定データに対して、前記契約賃料月次マスタの敷金の情報を参照して、変更前の請求先の敷金を消すための赤処理と、変更後の請求先へ敷金を移すための黒処理を行うことにしてもよい。
【0008】
また、本発明の一態様によれば、前記制御部は、更に、過入金を前受金として処理するためのデータであり、前受識別情報、入金番号、契約番号、請求先、計上日、前受振替残高を含む前受データにアクセス可能に構成されており、前記精算入力手段は、前記回収予定データに対して、前記前受データに対して、変更前の請求先の前受金を消すための赤処理と、変更後の請求先へ前受金を移すための黒処理を行うことにしてもよい。
【0009】
また、本発明の一態様によれば、前記制御部は、更に、退去精算時の現状回復工事のデータであり、工事番号、契約番号、物件、部屋番号、工事種別、請求先、工事代を含む工事データにアクセス可能に構成されており、前記精算入力手段は、前記回収予定データに対して、前記工事データを参照して、変更前の請求先の工事代を消すための赤処理と、変更後の請求先へ工事代を移すための黒処理を行うことにしてもよい。
【0010】
また、本発明の一態様によれば、前記契約マスタは、更に、保証人を関連付けて登録することにしてもよい。
(【0011】以降は省略されています)
この特許をJ-PlatPat(特許庁公式サイト)で参照する
関連特許
株式会社オービック
業務支援装置、業務支援方法及び業務支援プログラム
4日前
株式会社オービック
加工単価算出装置、加工単価算出方法、及び加工単価算出プログラム
4日前
株式会社オービック
不動産賃貸管理装置、不動産賃貸管理方法、及び不動産賃貸管理プログラム
4日前
株式会社オービック
商取引業務システム、商取引業務方法、及び商取引業務プログラム
17日前
個人
詐欺保険
1か月前
個人
縁伊達ポイン
1か月前
個人
5掛けポイント
17日前
個人
RFタグシート
28日前
個人
職業自動販売機
10日前
個人
QRコードの彩色
1か月前
個人
地球保全システム
1か月前
個人
ペルソナ認証方式
25日前
個人
情報処理装置
20日前
個人
自動調理装置
27日前
個人
農作物用途分配システム
1か月前
個人
表変換編集支援システム
2か月前
個人
残土処理システム
1か月前
個人
タッチパネル操作指代替具
1か月前
個人
サービス情報提供システム
12日前
個人
インターネットの利用構造
24日前
個人
知的財産出願支援システム
1か月前
個人
パスワード管理支援システム
2か月前
個人
スケジュール調整プログラム
1か月前
個人
携帯端末障害問合せシステム
1か月前
個人
食品レシピ生成システム
1か月前
株式会社キーエンス
受発注システム
1か月前
個人
システム及びプログラム
2か月前
個人
海外支援型農作物活用システム
2か月前
個人
AIキャラクター制御システム
2か月前
株式会社キーエンス
受発注システム
1か月前
個人
エリアガイドナビAIシステム
25日前
株式会社キーエンス
受発注システム
1か月前
キヤノン株式会社
情報処理装置
4日前
キヤノン株式会社
表示システム
1か月前
個人
音声・通知・再配達UX制御構造
1か月前
キヤノン株式会社
情報処理装置
18日前
続きを見る
他の特許を見る