TOP
|
特許
|
意匠
|
商標
特許ウォッチ
Twitter
他の特許を見る
10個以上の画像は省略されています。
公開番号
2025171660
公報種別
公開特許公報(A)
公開日
2025-11-20
出願番号
2024077230
出願日
2024-05-10
発明の名称
加工単価算出装置、加工単価算出方法、及び加工単価算出プログラム
出願人
株式会社オービック
代理人
弁理士法人酒井国際特許事務所
主分類
G06Q
50/04 20120101AFI20251113BHJP(計算;計数)
要約
【課題】取引先からの製品加工の依頼の際に、追加工が可能か否かを正確にチェックして、製品加工の単価を算出すること。
【解決手段】加工単価算出装置は、追加工、追加工単価、当該追加工について加工可能な範囲である指定範囲、当該追加工に対して使用できない追加工である使用不可項目を関連付けて登録した追加工マスタと、取引先、品目、品目の寸法、追加工、追加工の寸法、特急区分、数量の入力欄を備えた入力画面において、取引先、品目、品目の寸法、追加工、追加工の寸法、数量が指定されると、前記追加工マスタを参照して、指定された追加工が、その寸法が指定範囲であり、かつ、使用不可項目の追加工が指定されていないという条件を満たすかをチェックし、条件を満たす場合は、単価計算の処理を行い、条件を満たさない場合は、エラーを表示する加工単価算出手段を備えている。
【選択図】図1
特許請求の範囲
【請求項1】
制御部を備え、取引先からの依頼に応じて、製品の加工の単価を算出する加工単価算出装置であって、
前記制御部は、
追加工、追加工単価、当該追加工について加工可能な範囲である指定範囲、当該追加工に対して使用できない追加工である使用不可項目を関連付けて登録した追加工マスタにアクセス可能に構成されており、
取引先、品目、品目の寸法、追加工、追加工の寸法、特急区分、数量の入力欄を備えた入力画面において、取引先、品目、品目の寸法、追加工、追加工の寸法、数量が指定されると、前記追加工マスタを参照して、指定された追加工が、その寸法が指定範囲であり、かつ、使用不可項目の追加工が指定されていないという条件を満たすかをチェックし、条件を満たす場合は、単価計算の処理を行い、条件を満たさない場合は、エラーを表示する単価算出手段を備えたことを特徴とする加工単価算出装置。
続きを表示(約 2,000 文字)
【請求項2】
前記制御部は、更に、
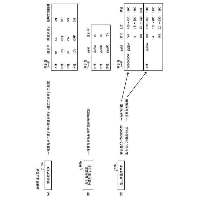
取引先、取引先別値引率を関連付けて登録した取引先マスタと、
取引先、品目、取引先別品目別値引率を関連付けて登録した取引先別品目別値引率マスタと、
取引先、品目、1又は複数の寸法、当該1又は複数の寸法の適用範囲、売上単価を関連付けて登録した売上単価マスタと、
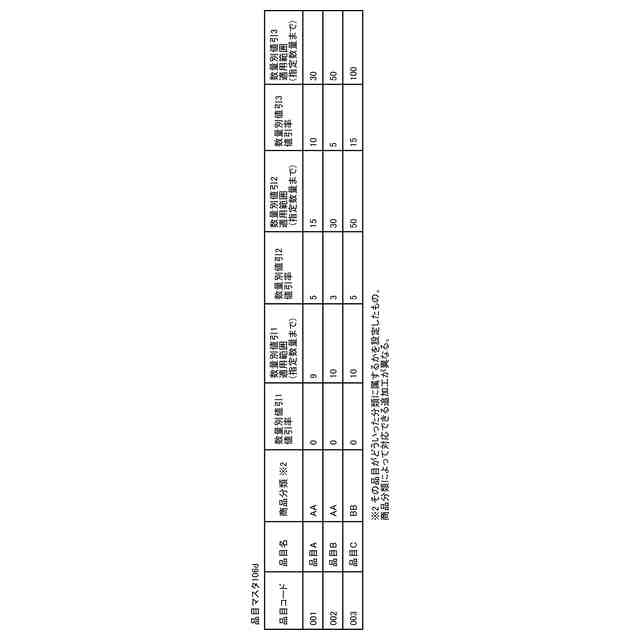
品目、数量の適用範囲、数量別値引率を関連付けて登録した品目マスタと、
にアクセス可能に構成されており、
前記単価計算の処理では、前記売上単価マスタから、指定される取引先、品目、品目の寸法をキーとして、売上単価を取得し、前記取引先マスタから、指定される取引先をキーとして、取引先別値引率を取得し、前記取引先別品目別値引率マスタから、指定される取引先及び品目をキーとして、取引先別品目別値引率を取得し、前記品目マスタから、指定される品目及び数量をキーとして、数量別値引率を取得し、売上単価を、売上単価=取得した売上単価×取得した取引先別値引率×取得した取引先別品目別値引率×取得した数量別値引率で算出することを特徴とする請求項1に記載の加工単価算出装置。
【請求項3】
前記取引先マスタでは、さらに、数量別値引を使用するか否かを設定する数量別値引使用有無が登録されており、
前記単価計算の処理では、前記取引先マスタを参照して、指定される取引先の数量別値引使用有無が「有」に設定されている場合には、数量別値引を行ない、「無」に設定されている場合には、数量別値引を行なわないことを特徴とする請求項2に記載の加工単価算出装置。
【請求項4】
前記単価計算の処理では、さらに、前記追加工マスタから、指定される追加工をキーとして、追加工単価を取得し、追加工単価を、追加工単価=取得した追加工単価×取得した取引先別値引率×取得した取引先別品目別値引率×取得した数量別値引率で算出することを特徴とする請求項2に記載の加工単価算出装置。
【請求項5】
前記取引先マスタでは、さらに、追加工別値引を使用するか否かを設定する追加工別値引使用有無が登録されており、
前記追加工単価の算出では、前記取引先マスタを参照して、指定される追加工の追加工別値引使用有無が「有」に設定されている場合には、値引を行ない、「無」に設定されている場合には、値引を行なわないことを特徴とする請求項4に記載の加工単価算出装置。
【請求項6】
前記制御部は、さらに、
特急区分と特急料金を関連付けて登録した特急料金マスタにアクセス可能に構成されており、
前記単価計算の処理では、さらに、前記特急料金マスタから、前記入力画面で指定される特急区分をキーとして特急単価を取得することを特徴とする請求項1~5のいずれか1つに記載の加工単価算出装置。
【請求項7】
前記製品は、金型を含むことを特徴とする請求項1に記載の加工単価算出装置。
【請求項8】
制御部を備えた情報処理装置が実行する加工単価算出方法であって、
前記制御部は、
追加工、追加工単価、当該追加工について加工可能な範囲である指定範囲、当該追加工に対して使用できない追加工である使用不可項目を関連付けて登録した追加工マスタにアクセス可能に構成されており、
前記制御部において実行される、
取引先、品目、品目の寸法、追加工、追加工の寸法、特急区分、数量の入力欄を備えた入力画面において、取引先、品目、品目の寸法、追加工、追加工の寸法、数量が指定されると、前記追加工マスタを参照して、指定された追加工が、その寸法が指定範囲であり、かつ、使用不可項目の追加工が指定されていないという条件を満たすかをチェックし、条件を満たす場合は、単価計算の処理を行い、条件を満たさない場合は、エラーを表示する単価算出工程を含むことを特徴とする加工単価算出方法。
【請求項9】
制御部を備えた情報処理装置に実行させるための加工単価算出プログラムであって、
前記制御部は、
追加工、追加工単価、当該追加工について加工可能な範囲である指定範囲、当該追加工に対して使用できない追加工である使用不可項目を関連付けて登録した追加工マスタにアクセス可能に構成されており、
前記制御部に、
取引先、品目、品目の寸法、追加工、追加工の寸法、特急区分、数量の入力欄を備えた入力画面において、取引先、品目、品目の寸法、追加工、追加工の寸法、数量が指定されると、前記追加工マスタを参照して、指定された追加工が、その寸法が指定範囲であり、かつ、使用不可項目の追加工が指定されていないという条件を満たすかをチェックし、条件を満たす場合は、単価計算の処理を行い、条件を満たさない場合は、エラーを表示する単価算出工程を実行させるための加工単価算出プログラム。
発明の詳細な説明
【技術分野】
【0001】
本発明は、加工単価算出装置、加工単価算出方法、及び加工単価算出プログラムに関する。
続きを表示(約 1,900 文字)
【背景技術】
【0002】
例えば、取引先からの金型加工の依頼(商談、見積依頼等)の際には、営業担当が品目のカタログ値(基準値)を元に、日数指定又は特急対応時の値引(値増し)・追加費用のパターン金額、及び追加工が可能かどうかのチェックを現場又は持ち帰りで確認を行っていた。従来、金属加工の単価を算出するシステムとして、例えば、特許文献1がある。
【先行技術文献】
【特許文献】
【0003】
特開2012-79094号公報
【発明の概要】
【発明が解決しようとする課題】
【0004】
しかしながら、追加工が可能かどうかや値引率の算出方法が複雑なため、実際にはできない追加工を可能と判断してトラブルに発展したり、値引率を間違えて単価を算出してしまう等の課題があった。
【0005】
本発明は、上記に鑑みてなされたものであり、取引先からの製品加工の依頼の際に、追加工が可能か否かを正確にチェックして、製品加工の単価を算出することが可能な加工単価算出装置、加工単価算出方法、及び加工単価算出プログラムを提供することを目的とする。
【課題を解決するための手段】
【0006】
上述した課題を解決し、目的を達成するために、本発明は、制御部を備え、取引先からの依頼に応じて、製品の加工の単価を算出する加工単価算出装置であって、前記制御部は、追加工、追加工単価、当該追加工について加工可能な範囲である指定範囲、当該追加工に対して使用できない追加工である使用不可項目を関連付けて登録した追加工マスタにアクセス可能に構成されており、取引先、品目、品目の寸法、追加工、追加工の寸法、特急区分、数量の入力欄を備えた入力画面において、取引先、品目、品目の寸法、追加工、追加工の寸法、数量が指定されると、前記追加工マスタを参照して、指定された追加工が、その寸法が指定範囲であり、かつ、使用不可項目の追加工が指定されていないという条件を満たすかをチェックし、条件を満たす場合は、単価計算の処理を行い、条件を満たさない場合は、エラーを表示する単価算出手段を備えることにしてもよい。
【0007】
また、本発明の一態様によれば、前記制御部は、更に、取引先、取引先別値引率を関連付けて登録した取引先マスタと、取引先、品目、値引率を関連付けて登録した取引先別品目別値引率マスタと、取引先、品目、1又は複数の寸法、当該1又は複数の寸法の適用範囲、単価を関連付けて登録した売上単価マスタと、品目、数量の適用範囲、数量別値引率を関連付けて登録した品目マスタと、にアクセス可能に構成されており、前記単価計算の処理では、前記売上単価マスタから、指定される取引先、品目、品目の寸法をキーとして、単価を取得し、前記取引先マスタから、指定される取引先をキーとして、取引先別値引率を取得し、前記取引先別品目別値引率マスタから、指定される取引先及び品目をキーとして、取引先別品目別値引率を取得し、前記品目マスタから、指定される品目及び数量をキーとして、数量別値引率を取得し、売上単価を、売上単価=取得した単価×取得した取引先別値引率×取得した取引先別品目別値引率×取得した数量別値引率で算出することにしてもよい。
【0008】
また、本発明の一態様によれば、前記取引先マスタでは、さらに、数量別値引を使用するか否かを設定する数量別値引使用有無が登録されており、前記単価計算の処理では、前記取引先マスタを参照して、指定される取引先の数量別値引使用有無が「有」に設定されている場合には、数量別値引を行ない、「無」に設定されている場合には、数量別値引を行なわないことにしてもよい。
【0009】
また、本発明の一態様によれば、前記単価計算の処理では、さらに、前記追加工マスタから、指定される追加工をキーとして、追加工単価を取得し、追加工単価を、追加工単価=取得した追加工単価×取得した取引先別値引率×取得した取引先別品目別値引率×取得した数量別値引率で算出することにしてもよい。
【0010】
また、本発明の一態様によれば、前記取引先マスタでは、さらに、追加工別値引を使用するか否かを設定する追加工別値引使用有無が登録されており、前記追加工単価の算出では、前記取引先マスタを参照して、指定される追加工の追加工別値引使用有無が「有」に設定されている場合には、値引を行ない、「無」に設定されている場合には、値引を行なわないことにしてもよい。
(【0011】以降は省略されています)
この特許をJ-PlatPat(特許庁公式サイト)で参照する
関連特許
株式会社オービック
業務支援装置、業務支援方法及び業務支援プログラム
4日前
株式会社オービック
加工単価算出装置、加工単価算出方法、及び加工単価算出プログラム
4日前
株式会社オービック
不動産賃貸管理装置、不動産賃貸管理方法、及び不動産賃貸管理プログラム
4日前
個人
詐欺保険
1か月前
個人
縁伊達ポイン
1か月前
個人
職業自動販売機
10日前
個人
RFタグシート
28日前
個人
5掛けポイント
17日前
個人
QRコードの彩色
1か月前
個人
ペルソナ認証方式
25日前
個人
地球保全システム
1か月前
個人
自動調理装置
27日前
個人
情報処理装置
20日前
個人
表変換編集支援システム
2か月前
個人
農作物用途分配システム
1か月前
個人
残土処理システム
1か月前
個人
インターネットの利用構造
24日前
個人
タッチパネル操作指代替具
1か月前
個人
知的財産出願支援システム
1か月前
個人
サービス情報提供システム
12日前
個人
パスワード管理支援システム
2か月前
個人
スケジュール調整プログラム
1か月前
個人
行動時間管理システム
2か月前
個人
携帯端末障害問合せシステム
1か月前
個人
食品レシピ生成システム
1か月前
株式会社キーエンス
受発注システム
1か月前
個人
エリアガイドナビAIシステム
25日前
個人
海外支援型農作物活用システム
2か月前
個人
システム及びプログラム
2か月前
株式会社キーエンス
受発注システム
1か月前
株式会社キーエンス
受発注システム
1か月前
個人
AIキャラクター制御システム
2か月前
キヤノン株式会社
画像認識装置
4日前
株式会社ケアコム
項目選択装置
20日前
エッグス株式会社
情報処理装置
1か月前
株式会社ケアコム
項目選択装置
20日前
続きを見る
他の特許を見る