TOP
|
特許
|
意匠
|
商標
特許ウォッチ
Twitter
他の特許を見る
10個以上の画像は省略されています。
公開番号
2025168484
公報種別
公開特許公報(A)
公開日
2025-11-07
出願番号
2025146012,2022079776
出願日
2025-09-03,2022-05-13
発明の名称
表示制御装置、表示制御方法、及び、表示制御プログラム
出願人
株式会社オービック
代理人
弁理士法人酒井国際特許事務所
主分類
G06F
3/0485 20220101AFI20251030BHJP(計算;計数)
要約
【課題】例えばセル等の表示オブジェクトに対して表示規則が設定されている場合でも、スムーズなスクロール制御を可能とする。
【解決手段】取得部が、起動時には、記憶部に記憶されている全体のデータのうち、データの全体数の一部に相当する、表示数よりも多い所定数の初期位置のデータを取得し、データの表示指定操作が行われた場合には、表示指定操作に対応して、データの全体数の一部に相当する、表示数よりも多い所定数のデータを取得する。表示規則適用部は、取得されたデータに対して、予め設定された所定の表示規則を適用する。そして、表示制御部が、初期位置に対応する表示範囲のデータ、又は、表示指定操作に対応する表示範囲のデータを含む、表示規則が適用されたデータを表示部に表示する。
【選択図】図30
特許請求の範囲
【請求項1】
データの表示を行う端末装置で表示指定操作が行われることで、前記端末装置から送信される、表示するデータを指定する表示指定データを受信するように通信部を制御する受信制御部と、
起動時には、記憶部に記憶されている全体のデータのうち、前記データの全体数の一部に相当する、表示数よりも多い所定数の初期位置のデータを取得し、前記表示指定データを受信した際には、前記表示指定データに対応して、前記データの全体数の一部に相当する、表示数よりも多い所定数のデータを取得する取得部と、
取得されたデータに対して、予め設定された所定の表示規則を適用する表示規則適用部と、
前記端末装置側で表示される、前記初期位置に対応する表示範囲のデータ、又は、前記表示指定データに対応する表示範囲のデータを含む、前記表示規則が適用された前記データを、前記端末装置に送信するように前記通信部を制御する送信制御部と、
を有する表示制御装置。
発明の詳細な説明
【技術分野】
【0001】
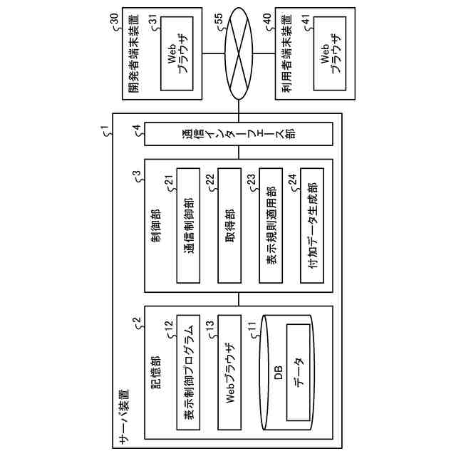
本発明は、表示制御装置、表示制御方法、及び、表示制御プログラムに関する。
続きを表示(約 2,200 文字)
【背景技術】
【0002】
今日において、仮想スクロール技術が知られている。この仮想スクロール技術は、多量のデータのうち、スクロール位置に対応する表示範囲及び表示範囲の前後の所定数のデータを部分的に抽出して取得する。そして、抽出したデータに基づいて描画データを生成して表示範囲のデータを表示する。これにより、データ処理数を削減して表示速度の高速化を図ることができる。
【0003】
特許文献1(特開2021-111310号公報)の段落0032等には、このような仮想スクロールに関する記載が見受けられる。
【先行技術文献】
【特許文献】
【0004】
特開2021-111310号公報
【発明の概要】
【発明が解決しようとする課題】
【0005】
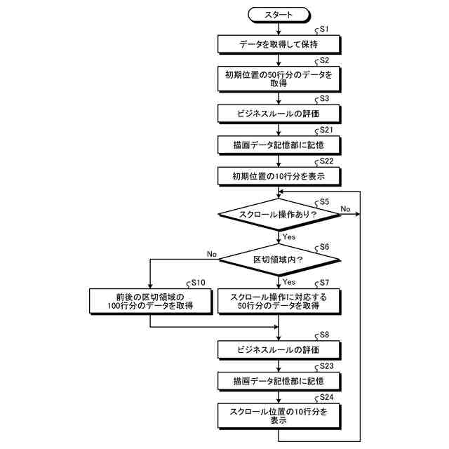
ここで、例えばセル等の表示オブジェクトに対して所望の表示規則(状態制御規則)が設定されている場合がある。表示規則が設定されている場合、最初に全データに対して表示規則を適用処理し、表示規則が反映された全データの中から、スクロール位置に対応するデータを抽出してスクロール処理を行う必要がある。このため、表示規則が設定されている場合、スムーズなスクロール制御が困難となる問題があった。
【0006】
本発明は、上述の課題に鑑みてなされたものであり、例えばセル等の表示オブジェクトに対して表示規則が設定されている場合でも、スムーズなスクロール制御を可能とする表示制御装置、表示制御方法、及び、表示制御プログラムの提供を目的とする。
【課題を解決するための手段】
【0007】
上述の課題を解決し、目的を達成するために、本発明に係る表示制御装置は、データの表示を行う端末装置で表示指定操作が行われることで、端末装置から送信される、表示するデータを指定する表示指定データを受信するように通信部を制御する受信制御部と、起動時には、記憶部に記憶されている全体のデータのうち、データの全体数の一部に相当する、表示数よりも多い所定数の初期位置のデータを取得し、表示指定データを受信した際には、表示指定データに対応して、データの全体数の一部に相当する、表示数よりも多い所定数のデータを取得する取得部と、取得されたデータに対して、予め設定された所定の表示規則を適用する表示規則適用部と、端末装置側で表示される、初期位置に対応する表示範囲のデータ、又は、表示指定データに対応する表示範囲のデータを含む、表示規則が適用されたデータを、端末装置に送信するように通信部を制御する送信制御部と、を有する。
【0008】
また、上述の課題を解決し、目的を達成するために、本発明に係る表示制御装置は、起動時には、記憶部に記憶されている全体のデータのうち、データの全体数の一部に相当する、表示数よりも多い所定数の初期位置のデータを取得し、データの表示指定操作が行われた場合には、表示指定操作に対応して、データの全体数の一部に相当する、表示数よりも多い所定数のデータを取得する取得部と、取得されたデータに対して、予め設定された所定の表示規則を適用する表示規則適用部と、初期位置に対応する表示範囲のデータ、又は、表示指定操作に対応する表示範囲のデータを含む、表示規則が適用されたデータを表示部に表示する表示制御部と、を有する。
【0009】
また、上述の課題を解決し、目的を達成するために、本発明に係る表示制御方法は、受信制御部が、データの表示を行う端末装置で表示指定操作が行われることで、端末装置から送信される、表示するデータを指定する表示指定データを受信するように通信部を制御する受信制御ステップと、取得部が、起動時には、記憶部に記憶されている全体のデータのうち、データの全体数の一部に相当する、表示数よりも多い所定数の初期位置のデータを取得し、表示指定データを受信した際には、表示指定データに対応して、データの全体数の一部に相当する、表示数よりも多い所定数のデータを取得する取得ステップと、表示規則適用部が、取得されたデータに対して、予め設定された所定の表示規則を適用する表示規則適用ステップと、送信制御部が、端末装置側で表示される、初期位置に対応する表示範囲のデータ、又は、表示指定データに対応する表示範囲のデータを含む、表示規則が適用されたデータを、端末装置に送信するように通信部を制御する送信制御ステップと、を有する。
【0010】
また、上述の課題を解決し、目的を達成するために、本発明に係る表示制御方法は、取得部が、起動時には、記憶部に記憶されている全体のデータのうち、データの全体数の一部に相当する、表示数よりも多い所定数の初期位置のデータを取得し、データの表示指定操作が行われた場合には、表示指定操作に対応して、データの全体数の一部に相当する、表示数よりも多い所定数のデータを取得する取得ステップと、表示規則適用部が、取得されたデータに対して、予め設定された所定の表示規則を適用する表示規則適用ステップと、表示制御部が、初期位置に対応する表示範囲のデータ、又は、表示指定操作に対応する表示範囲のデータを含む、表示規則が適用されたデータを表示部に表示する表示制御ステップと、を有する。
(【0011】以降は省略されています)
この特許をJ-PlatPat(特許庁公式サイト)で参照する
関連特許
個人
詐欺保険
27日前
個人
縁伊達ポイン
27日前
個人
5掛けポイント
3日前
個人
RFタグシート
14日前
個人
QRコードの彩色
1か月前
個人
ペルソナ認証方式
11日前
個人
地球保全システム
1か月前
個人
自動調理装置
13日前
個人
情報処理装置
6日前
個人
冷凍食品輸出支援構造
2か月前
個人
為替ポイント伊達夢貯
2か月前
個人
残土処理システム
1か月前
個人
表変換編集支援システム
2か月前
個人
農作物用途分配システム
26日前
個人
知的財産出願支援システム
1か月前
個人
タッチパネル操作指代替具
20日前
個人
知財出願支援AIシステム
2か月前
個人
インターネットの利用構造
10日前
個人
パスワード管理支援システム
2か月前
個人
AIによる情報の売買の仲介
2か月前
個人
スケジュール調整プログラム
19日前
個人
行動時間管理システム
2か月前
個人
携帯端末障害問合せシステム
19日前
個人
パスポートレス入出国システム
2か月前
株式会社アジラ
進入判定装置
2か月前
株式会社キーエンス
受発注システム
1か月前
個人
システム及びプログラム
1か月前
個人
食品レシピ生成システム
1か月前
株式会社キーエンス
受発注システム
1か月前
個人
エリアガイドナビAIシステム
11日前
日本精機株式会社
施工管理システム
2か月前
株式会社キーエンス
受発注システム
1か月前
個人
海外支援型農作物活用システム
1か月前
個人
AIキャラクター制御システム
2か月前
個人
社会還元・施設向け供給支援構造
2か月前
キヤノン株式会社
情報処理装置
4日前
続きを見る
他の特許を見る