TOP
|
特許
|
意匠
|
商標
特許ウォッチ
Twitter
他の特許を見る
公開番号
2025170617
公報種別
公開特許公報(A)
公開日
2025-11-19
出願番号
2024075350
出願日
2024-05-07
発明の名称
ピックアップユニット、実装装置及びピックアップ方法
出願人
株式会社新川
代理人
個人
,
個人
,
個人
,
個人
主分類
H01L
21/683 20060101AFI20251112BHJP(基本的電気素子)
要約
【課題】シートの表面からチップ部品を確実に剥離する。
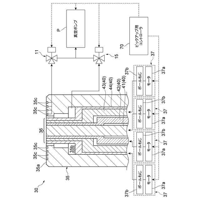
【解決手段】ピックアップユニット30は、ステージ35と、独立して昇降可能に構成されステージ35により保持されたダイシングシート120の裏面120bを介して半導体チップ101を突き上げる複数のブロック40と、複数のブロック40をそれぞれ昇降させる複数の昇降駆動装置37と、複数の昇降駆動装置37の動作を制御するピックアップ用コントローラ70と、を備える。ピックアップ用コントローラ70は、複数のブロック40を上昇させる上昇動作処理と、複数のブロック40を順次に下降させる下降動作処理と、下降動作処理にて下降させるブロック40をピックアップ動作に伴って上下動するように動作させる上下動作処理と、を実行する。
【選択図】図2
特許請求の範囲
【請求項1】
シートの表面上に貼り付けられたチップ部品を前記シートからピックアップする際に用いられるピックアップユニットであって、
前記シートを吸着して保持するステージと、
それぞれ独立して昇降可能に構成され、前記ステージにより保持された前記シートの裏面を介して前記チップ部品を突き上げる複数の突上げ部と、
複数の前記突上げ部をそれぞれ昇降させる複数の昇降駆動部と、
複数の前記昇降駆動部の動作を制御する駆動制御部と、を備え、
前記駆動制御部は、
複数の前記突上げ部を、前記チップ部品を突き上げる突上げ位置まで上昇させる第1動作処理と、
前記第1動作処理の後、複数の前記突上げ部を順次に下降させる第2動作処理と、
前記第2動作処理にて下降させる前記突上げ部を、ピックアップ動作に伴って上下動するように動作させる第3動作処理と、を実行する、ピックアップユニット。
続きを表示(約 1,700 文字)
【請求項2】
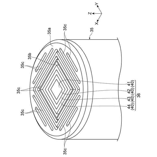
複数の前記突上げ部は、平面視において同心状に配置され、
前記第2動作処理では、外側の前記突上げ部から内側の前記突上げ部の順で、複数の前記突上げ部を順次に下降させる、請求項1に記載のピックアップユニット。
【請求項3】
前記第3動作処理では、前記第2動作処理にて下降させる複数の前記突上げ部のうち少なくとも最初に下降させる1又は複数の前記突上げ部を上下動するように動作させる、請求項1に記載のピックアップユニット。
【請求項4】
前記第3動作処理では、前記第2動作処理にて下降させる1又は複数の前記突上げ部を、当該下降の前に、もしくは、当該下降と同時に、又は、当該下降の前であって当該下降よりも下降量が小さい予備下降の後に、上下動するように動作させる、請求項1に記載のピックアップユニット。
【請求項5】
前記ステージは、前記シートが載置される載置面と、前記載置面に開口する開口部と、を含み、
複数の前記突上げ部は、前記開口部の内部に配置され、
前記開口部の内部のエアを吸引する吸引部を更に備え、
前記吸引部は、前記第3動作処理の実行中には吸引を開始及び停止しない、請求項1に記載のピックアップユニット。
【請求項6】
複数の前記突上げ部は、
第1ブロックと、平面視で前記第1ブロックの外側を囲うように配置される第2ブロックと、平面視で前記第2ブロックの外側を囲うように配置される第3ブロックと、平面視で前記第3ブロックの外側を囲うように配置される第4ブロックと、を含み、
前記第2動作処理では、
前記第4ブロックの下降、前記第3ブロックの下降、前記第2ブロックの下降、及び第1ブロックの下降をこの順で開始させ、
前記第3動作処理では、
前記第4ブロックの下降開始前に、前記第4ブロックを上下動するように動作させ、
前記第4ブロックの下降開始後で且つ前記第3ブロックの下降開始前に、前記第3ブロックを上下動するように動作させ、
前記第3ブロックの下降開始後で且つ前記第2ブロックの下降開始前に、前記第2ブロックを上下動するように動作させ、
前記第2ブロックの下降開始後で且つ前記第1ブロックの下降開始前に、前記第1ブロックを上下動するように動作させる、請求項1に記載のピックアップユニット。
【請求項7】
前記第3動作処理の前記上下動は、前記第2動作処理で複数の前記突上げ部を下降させる距離の0.1~0.25倍の移動距離の上昇動作及び下降動作を複数含む、請求項1に記載のピックアップユニット。
【請求項8】
前記チップ部品を吸着して保持し、前記チップ部品を前記シートからピックアップするチップ保持部を更に備え、
前記駆動制御部は、
前記チップ保持部の動作を更に制御し、
前記第2及び第3動作処理の前に、前記第1動作処理にて突き上げたチップ部品を前記チップ保持部に吸着させる第4動作処理を実行する、請求項1に記載のピックアップユニット。
【請求項9】
請求項1~8の何れか一項に記載のピックアップユニットと、
前記ピックアップユニットがピックアップした前記チップ部品を基板にボンディングするボンディングユニットと、を備える、実装装置。
【請求項10】
シートの表面上に貼り付けられたチップ部品を前記シートからピックアップする際に実施されるピックアップ方法であって、
複数の突上げ部を上昇させ、ステージに吸着されて保持された前記シートの裏面を介して複数の当該突上げ部により前記チップ部品を突き上げる第1工程と、
前記第1工程の後、複数の前記突上げ部を順次に下降させる第2工程と、
前記第2工程にて下降させる前記突上げ部を、ピックアップ動作に伴って上下動するように動作させる第3工程と、を備える、ピックアップ方法。
発明の詳細な説明
【技術分野】
【0001】
本発明は、ピックアップユニット、実装装置及びピックアップ方法に関する。
続きを表示(約 1,800 文字)
【背景技術】
【0002】
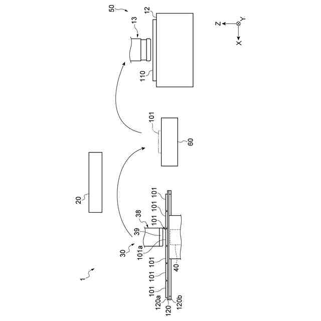
シートの表面上に貼り付けられたチップ部品をシートからピックアップする際、ピックアップユニットが用いられる場合がある。ピックアップユニットでは、ステージでシートを吸着して保持し、複数の突上げ部を上昇させてシートの裏面を介してチップ部品を突き上げると共に、当該チップ部品を吸着して保持する。その後、複数の突上げ部を下降させることにより、当該チップ部品をピックアップする。このようなピックアップユニットに関する技術として、例えば特許文献1に記載されたピックアップ装置が知られている。
【0003】
特許文献1に記載されたピックアップ装置では、ステージの開口の内部に複数の突上げ部(移動要素)が配置され、チップ部品(半導体ダイ)をピックアップする際、複数の突上げ部を下降させる前に、真空に近い第1圧力と大気圧に近い第2圧力との間で開口圧力を複数回切換える。これにより、シートの表面からチップ部品を容易に剥離することが図られている。
【先行技術文献】
【特許文献】
【0004】
特開2015-179813号公報
【発明の概要】
【発明が解決しようとする課題】
【0005】
近年、例えば高集積化等の要求に応じてチップ部品の厚さが益々薄くなる中、上述したような技術では、シートの表面からのチップ部品の剥離を上手く行えず、エラーが生じてしまうおそれがある。
【0006】
そこで、本発明は、シートの表面からチップ部品を確実に剥離することが可能なピックアップユニット、実装装置及びピックアップ方法を提供することを課題とする。
【課題を解決するための手段】
【0007】
本発明の一形態のピックアップユニットは、シートの表面上に貼り付けられたチップ部品をシートからピックアップする際に用いられるピックアップユニットであって、シートを吸着して保持するステージと、それぞれ独立して昇降可能に構成され、ステージにより保持されたシートの裏面を介してチップ部品を突き上げる複数の突上げ部と、複数の突上げ部をそれぞれ昇降させる複数の昇降駆動部と、複数の昇降駆動部の動作を制御する駆動制御部と、を備え、駆動制御部は、複数の突上げ部を、チップ部品を突き上げる突上げ位置まで上昇させる第1動作処理と、第1動作処理の後、複数の突上げ部を順次に下降させる第2動作処理と、第2動作処理にて下降させる突上げ部を、ピックアップ動作に伴って上下動するように動作させる第3動作処理と、を実行する。
【0008】
このピックアップユニットでは、シートの表面上に貼り付けられたチップ部品をシートからピックアップ(以下、単に「チップ部品をピックアップ」ともいう)する際、複数の突上げ部を突上げ位置まで上昇させ、シートの裏面を介してチップ部品を突き上げた後、複数の突上げ部を順次に下降させる。ここで、下降させる突上げ部をピックアップ動作に伴って上下動するように動作させる。このような突上げ部の上下動により、シートの表面からのチップ部品の剥離を促進することができ、チップ部品をシートの表面から確実に剥離させることが可能となる。その結果、チップ部品の剥離ミスによるエラーの発生を低減することが可能となる。
【0009】
上記のピックアップユニットにおいて、複数の突上げ部は、平面視において同心状に配置され、第2動作処理では、外側の突上げ部から内側の突上げ部の順で、複数の突上げ部を順次に下降させてもよい。このように、第2動作処理において外側の突上げ部から内側の突上げ部の順で複数の突上げ部を順次に下降させることにより、シートの表面からチップ部品を一層確実に剥離させることが可能となる。
【0010】
上記のピックアップユニットにおいて、第3動作処理では、第2動作処理にて下降させる複数の突上げ部のうち少なくとも最初に下降させる1又は複数の突上げ部を上下動するように動作させるてもよい。複数の突上げ部を下降させる場合、通常、最初に突上げ部を下降した際にシートからチップ部品を上手く剥離できないことが多い。そのため、少なくとも最初に下降する突上げ部を上下動させることで、シートからチップ部品を確実且つ効果的に剥離することができる。
(【0011】以降は省略されています)
この特許をJ-PlatPat(特許庁公式サイト)で参照する
関連特許
株式会社新川
ボンディング装置
1日前
株式会社新川
ボンディング装置
1日前
株式会社新川
実装装置、実装方法及び実装制御プログラム
2か月前
株式会社新川
ピックアップユニット、実装装置及びピックアップ方法
2日前
東ソー株式会社
絶縁電線
1か月前
APB株式会社
蓄電セル
28日前
個人
フレキシブル電気化学素子
1か月前
ローム株式会社
半導体装置
29日前
マクセル株式会社
電源装置
22日前
株式会社ユーシン
操作装置
1か月前
日新イオン機器株式会社
イオン源
1か月前
株式会社東芝
端子台
22日前
株式会社ホロン
冷陰極電子源
1か月前
株式会社GSユアサ
蓄電装置
15日前
株式会社GSユアサ
蓄電装置
1日前
三菱電機株式会社
回路遮断器
9日前
富士電機株式会社
電磁接触器
1日前
株式会社GSユアサ
蓄電装置
23日前
株式会社GSユアサ
蓄電設備
1か月前
株式会社GSユアサ
蓄電設備
1か月前
太陽誘電株式会社
コイル部品
1か月前
株式会社GSユアサ
蓄電装置
23日前
日本特殊陶業株式会社
保持装置
14日前
日新イオン機器株式会社
基板処理装置
25日前
トヨタ自動車株式会社
バッテリ
28日前
トヨタ自動車株式会社
蓄電装置
23日前
トヨタ自動車株式会社
冷却構造
1か月前
ノリタケ株式会社
熱伝導シート
1か月前
日本特殊陶業株式会社
保持装置
1か月前
北道電設株式会社
配電具カバー
28日前
サクサ株式会社
電池の固定構造
1か月前
トヨタ自動車株式会社
蓄電装置
1か月前
トヨタ自動車株式会社
密閉型電池
24日前
ローム株式会社
半導体モジュール
2日前
ローム株式会社
半導体装置
1か月前
株式会社レゾナック
冷却器
9日前
続きを見る
他の特許を見る