TOP
|
特許
|
意匠
|
商標
特許ウォッチ
Twitter
他の特許を見る
10個以上の画像は省略されています。
公開番号
2025169962
公報種別
公開特許公報(A)
公開日
2025-11-14
出願番号
2025139065,2020189233
出願日
2025-08-22,2020-11-13
発明の名称
光学積層体および画像表示装置
出願人
住友化学株式会社
代理人
弁理士法人深見特許事務所
主分類
G02B
5/30 20060101AFI20251107BHJP(光学)
要約
【課題】高温高湿下で偏光子の端部において色抜けが抑制された新規の光学積層体を提供する。
【解決手段】偏光子と、光選択吸収性粘着剤層と、前記偏光子と前記光選択吸収性粘着剤層との間にこれらに接して積層された中間層と、を有する光学積層体であって、前記中間層は、液晶硬化層、配向層、及び貼合層からなる群より選択される1又は複数の層のみを有し、前記偏光子は、ヨウ素が吸着配向され、ホウ素の含有量が5.0質量%以下であり、前記光選択吸収性粘着剤層を形成する粘着剤組成物は、光選択吸収性重合体を含む、光学積層体。
【選択図】図1
特許請求の範囲
【請求項1】
偏光子と、光選択吸収性粘着剤層と、前記偏光子と前記光選択吸収性粘着剤層との間にこれらに接して積層された中間層と、を有する光学積層体であって、
前記中間層は、液晶硬化層、配向層、及び貼合層からなる群より選択される1又は複数の層のみを有し、
前記偏光子は、ヨウ素が吸着配向され、ホウ素の含有量が5.0質量%以下であり、
前記光選択吸収性粘着剤層を形成する粘着剤組成物は、光選択吸収性重合体を含む、光学積層体。
続きを表示(約 760 文字)
【請求項2】
前記偏光子の前記中間層側とは反対側に積層された保護フィルムをさらに有する、請求項1に記載の光学積層体。
【請求項3】
前記光選択吸収性重合体は、下記化学式(1):
>N-C=C-C=C< (1)
[ただし、化学式(1)を構成する1個のN原子および4個のC原子の全てが芳香族複素環の一部または全部を構成することはない。]
で示される構造を有する構造単位を含有し、ガラス転移温度が40℃以下である樹脂である、請求項1または2に記載の光学積層体。
【請求項4】
前記光選択吸収性重合体は、全構造単位100質量部に対して前記化学式(1)で示される構造を有する構造単位の含有量は0.01質量部以上50質量部以下である、請求項3に記載の光学積層体。
【請求項5】
前記光選択吸収性重合体は、重量平均分子量が30万以上である、請求項1~4のいずれか1項に記載の光学積層体。
【請求項6】
前記粘着剤組成物は、光選択吸収剤を含まない、または全樹脂成分100質量部に対して光選択吸収剤の含有量が0.5質量部以下である、請求項1~5のいずれか1項に記載の光学積層体。
【請求項7】
前記中間層は、前記液晶硬化層であるλ/4位相差層を有する、請求項1~6のいずれか1項に記載の光学積層体。
【請求項8】
反射防止用偏光板である、請求項1~7のいずれか1項に記載の光学積層体。
【請求項9】
画像表示パネルと、前記画像表示パネルの前面に配置された請求項8に記載の光学積層体とを含む、画像表示装置。
【請求項10】
有機EL表示装置である、請求項9に記載の画像表示装置。
発明の詳細な説明
【技術分野】
【0001】
本発明は、光学積層体および画像表示装置に関する。
続きを表示(約 2,300 文字)
【背景技術】
【0002】
偏光子の片面又は両面に保護フィルムを積層貼合してなる偏光板は、モバイル・テレビをはじめとする液晶表示装置や有機エレクトロルミネッセンス(有機EL)表示装置等の画像表示装置、とりわけ近年では携帯電話やスマートフォン、タブレット型端末のような各種モバイル機器に広く用いられている光学部材である。
偏光板は、粘着剤層を介して画像表示素子(液晶セルや有機EL表示素子等)に貼合して用いられることが多い(例えば、特開2010-229321号公報(特許文献1))。このため、偏光板は、その一方の面に予め粘着剤層が設けられた粘着剤層付偏光板の形態で市場流通されることがある。
【0003】
また、モバイル機器は高温高湿の過酷な環境下で使われることも多く、偏光子としては高い耐久性が求められている。特開2013-105036号公報(特許文献2)には、偏光子中のホウ酸含有量を高くして、ホウ酸架橋を多く生成させることにより、I
3
錯体が高配向で高い安定性で存在することになり、ブルーリークの発生が抑えられ低温高湿耐久性に優れた偏光子が得られることが記載されている。
【先行技術文献】
【特許文献】
【0004】
特開2010-229321号公報
特開2013-105036号公報
【発明の概要】
【発明が解決しようとする課題】
【0005】
偏光板において、高温高湿の環境下では偏光子の端部において色抜けが生じやすいという問題があった。かかる問題は、偏光子の片面のみに保護フィルムが積層貼合されてなる構成において顕著であった。偏光子中のホウ素含有量を高くすることにより偏光子の色抜けを抑制する方法が知られているものの、かかる方法によると、加熱によって収縮しやすいという問題があった。
【0006】
本発明は、高温高湿下で偏光子の端部において色抜けが抑制された新規の光学積層体を提供することを目的とする。
【課題を解決するための手段】
【0007】
本発明は、以下に例示する光学積層体およびそれを用いた画像表示装置を提供する。
〔1〕 偏光子と、光選択吸収性粘着剤層と、前記偏光子と前記光選択吸収性粘着剤層との間にこれらに接して積層された中間層と、を有する光学積層体であって、
前記中間層は、液晶硬化層、配向層、及び貼合層からなる群より選択される1又は複数の層のみを有し、
前記偏光子は、ヨウ素が吸着配向され、ホウ素の含有量が5.0質量%以下であり、
前記光選択吸収性粘着剤層を形成する粘着剤組成物は、光選択吸収性重合体を含む、光学積層体。
〔2〕 前記偏光子の前記中間層側とは反対側に積層された保護フィルムをさらに有する、〔1〕に記載の光学積層体。
〔3〕 前記光選択吸収性重合体は、下記化学式(1):
>N-C=C-C=C< (1)
[ただし、化学式(1)を構成する1個のN原子および4個のC原子の全てが芳香族複素環の一部または全部を構成することはない。]
で示される構造を有する構造単位を含有し、ガラス転移温度が40℃以下である樹脂である、〔1〕または〔2〕に記載の光学積層体。
〔4〕 前記光選択吸収性重合体は、全構造単位100質量部に対して前記化学式(1)で示される構造を有する構造単位の含有量は0.01質量部以上50質量部以下である、〔3〕に記載の光学積層体。
〔5〕 前記光選択吸収性重合体は、重量平均分子量が30万以上である、請求項〔1〕~〔4〕のいずれか1項に記載の光学積層体。
〔6〕 前記粘着剤組成物は、光選択吸収剤を含まない、または全樹脂成分100質量部に対して光選択吸収剤の含有量が0.5質量部以下である、〔1〕~〔5〕のいずれか1項に記載の光学積層体。
〔7〕 前記中間層は、前記液晶硬化層であるλ/4位相差層を有する、〔1〕~〔6〕のいずれか1項に記載の光学積層体。
〔8〕 反射防止用偏光板である、〔1〕~〔7〕のいずれか1項に記載の光学積層体。
〔9〕 画像表示パネルと、前記画像表示パネルの前面に配置された〔8〕に記載の光学積層体とを含む、画像表示装置。
〔10〕 有機EL表示装置である、〔9〕に記載の画像表示装置。
【発明の効果】
【0008】
本発明によれば、高温高湿の環境下では偏光子の端部において色抜けが抑制された光学積層体およびこれを含む画像表示装置を提供することができる。
【図面の簡単な説明】
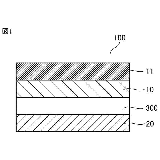
【0009】
本発明の光学積層体の一例を示す概略断面図である。
本発明の光学積層体の一例を示す概略断面図である。
本発明の光学積層体の一例を示す概略断面図である。
光学顕微鏡での観察画像の一例を示す図である。
観察画像を白黒256階調に変換したデータの一例を示す図である。
【発明を実施するための形態】
【0010】
以下、図面を参照しつつ本発明の実施形態を説明するが、本発明は以下の実施形態に限定されるものではない。以下の全ての図面においては、各構成要素を理解し易くするために縮尺を適宜調整して示しており、図面に示される各構成要素の縮尺と実際の構成要素の縮尺とは必ずしも一致しない。
(【0011】以降は省略されています)
この特許をJ-PlatPat(特許庁公式サイト)で参照する
関連特許
住友化学株式会社
偏光板
1か月前
住友化学株式会社
積層体
1か月前
住友化学株式会社
偏光板
1か月前
住友化学株式会社
偏光板
1か月前
住友化学株式会社
発光素子
1か月前
住友化学株式会社
発光素子
1か月前
住友化学株式会社
発光素子
1か月前
住友化学株式会社
樹脂組成物
1か月前
住友化学株式会社
フィルター
1か月前
住友化学株式会社
フィルター
1か月前
住友化学株式会社
偏光積層体
1か月前
住友化学株式会社
フィルター
1か月前
住友化学株式会社
光学積層体
1か月前
住友化学株式会社
垂直偏光板
1か月前
住友化学株式会社
熱分解装置
7日前
住友化学株式会社
電気化学センサ
20日前
住友化学株式会社
金属有機構造体
1か月前
住友化学株式会社
体液に由来する試料
1か月前
住友化学株式会社
芳香族ポリスルホン
2か月前
住友化学株式会社
組成物及び発光素子
5日前
住友化学株式会社
プロピレンの製造方法
15日前
住友化学株式会社
積層体および表示装置
1か月前
住友化学株式会社
偏光板及び画像表示装置
1か月前
住友化学株式会社
膜エレメントの製造方法
1か月前
住友化学株式会社
光学積層体及び偏光積層体
1か月前
住友化学株式会社
装置、方法及びプログラム
1か月前
住友化学株式会社
ポリオレフィン樹脂組成物
7日前
住友化学株式会社
無機アルミニウム化合物粉末
20日前
住友化学株式会社
粘着剤組成物および粘着剤層
1か月前
住友化学株式会社
複合偏光板及び画像表示装置
1か月前
住友化学株式会社
位相差層積層体及び光学積層体
12日前
住友化学株式会社
複合成形体、及びその製造方法
12日前
住友化学株式会社
リサイクル正極活物質の製造方法
1か月前
住友化学株式会社
リサイクル正極活物質の製造方法
1か月前
住友化学株式会社
リサイクル正極活物質の製造方法
1か月前
住友化学株式会社
リサイクル正極活物質の製造方法
1か月前
続きを見る
他の特許を見る