TOP
|
特許
|
意匠
|
商標
特許ウォッチ
Twitter
他の特許を見る
公開番号
2025169923
公報種別
公開特許公報(A)
公開日
2025-11-14
出願番号
2025075740
出願日
2025-04-30
発明の名称
暗証番号管理システム
出願人
株式会社ファイテック
代理人
個人
,
個人
,
個人
主分類
G06F
21/31 20130101AFI20251107BHJP(計算;計数)
要約
【課題】オンライン管理方式を採用せずに、低コストで運用することができる暗証番号管理システムを提供する。
【解決手段】
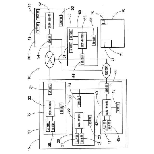
暗証番号管理システム10は、暗証番号管理システム10は、サーバ15と、配送依頼者端末50と、配送者端末60と、ボックス70と、から構成される。暗証番号管理システム10は、ボックス管理者登録(S1)、利用者登録(S2)、物品の預け入れ(S3)、物品の受け取り(S4)、を行う。物品の預け入れ(S3)、物品の受け取り(S4)、のときに、物品を出し入れするごとに、配送依頼者端末50又は配送者端末60から、サーバ15に通知がなされ、その都度、サーバ15から、配送依頼者端末50又は配送者端末60に、暗証番号が送信される。
【選択図】図1
特許請求の範囲
【請求項1】
利用者が利用する利用者端末と、物品を、預け入れ・受け取り可能なボックスと、前記利用者端末と通信可能なサーバと、を備え、
前記サーバは、前記利用者に関する利用者情報が記憶される利用者情報記憶手段と、前記ボックスを識別するためのボックス識別情報が記憶されるボックス識別情報記憶手段と、前記ボックスの管理に関するボックス管理情報が記憶されるボックス情報記憶手段と、前記ボックスを開閉可能とする暗証番号に関する暗証番号情報が記憶される暗証番号情報記憶手段と、を有し、
前記ボックスは、前記暗証番号により開閉可能な錠装置と、前記ボックス識別情報と、が配設され、前記利用者が利用を開始する前においては施錠状態とされ、
前記物品を前記ボックスに預け入れるときに、
前記利用者端末から前記サーバに、前記ボックス識別情報、前記利用者情報を送信すると、前記サーバは、前記ボックス識別情報、前記ボックス管理情報、前記利用者情報に基づいて、前記ボックスが利用可能か否かを判定し、利用可能と判定した場合には、現在設定されている前記暗証番号としての第一暗証番号を前記利用者端末に送信し、
前記利用者端末から前記ボックスに前記物品が入れられた旨の通知を送信すると、前記サーバは、新たな前記暗証番号としての第二暗証番号を前記利用者端末に送信し
前記利用者端末から、前記ボックスの施錠が完了した旨の通知を送信すると、前記サーバは、預け入れ完了の通知を、前記利用者端末に送信し、
前記物品を前記ボックスから受け取るときに、
前記預け入れ完了の通知に紐付られたアクセス情報に基づいて、前記利用者端末から前記サーバに、受け取りを開始する旨の通知とともに、前記ボックス識別情報、前記利用者情報を送信すると、前記サーバは、前記ボックス識別情報、前記ボックス管理情報、前記利用者情報に基づいて、前記物品を受け取り可能であるか否かを判定し、前記物品を受け取り可能であると判定した場合には、前記利用者端末に前記第二暗証番号を送信し、
前記利用者端末から前記サーバに、前記ボックスから前記物品を取り出した旨の通知を送信すると、前記サーバは、さらに新たな前記暗証番号としての第三暗証番号を前記利用者端末に送信し、
前記利用者端末から、前記ボックスの施錠が完了した旨の通知を送信すると、前記サーバは、前記ボックス管理情報を前記ボックスが利用可能に更新する、
ことを特徴とする暗証番号管理システム。
続きを表示(約 3,600 文字)
【請求項2】
利用者が利用する利用者端末と、物品を、預け入れ・受け取り可能なボックスと、前記利用者端末と通信可能なサーバと、を備え、
前記サーバは、前記利用者に関する利用者情報が記憶される利用者情報記憶手段と、前記ボックスを識別するためのボックス識別情報が記憶されるボックス識別情報記憶手段と、前記ボックスの管理に関するボックス管理情報が記憶されるボックス情報記憶手段と、前記ボックスを開閉可能とする暗証番号に関する暗証番号情報が記憶される暗証番号情報記憶手段と、を有し、
前記利用者は、配送者と、配送依頼者と、を含み、
前記利用者端末は、前記配送者が使用する配送者端末と、前記配送依頼者が使用する配送依頼者端末と、を含み、
前記利用者情報は、少なくとも配送依頼者情報を含み、
前記ボックスは、前記暗証番号により開閉可能な錠装置と、前記ボックス識別情報と、が配設され、前記利用者が利用を開始する前においては施錠状態とされ、
前記配送者が、前記物品を前記ボックスに預け入れるときに、
前記配送者端末から前記サーバに、前記ボックス識別情報、前記配送依頼者情報を送信すると、前記サーバは、前記ボックス識別情報、前記ボックス管理情報、前記配送依頼者情報に基づいて、前記ボックスが利用可能か否かを判定し、利用可能と判定した場合には、現在設定されている前記暗証番号としての第一暗証番号を前記配送者端末に送信し、
前記配送者端末から前記ボックスに物品が入れられた旨の通知を送信すると、前記サーバは、新たな前記暗証番号としての第二暗証番号を前記配送者端末に送信し
前記配送者端末から、前記ボックスの施錠が完了した旨の通知を送信すると、前記サーバは、前記ボックス管理情報を荷物有りと更新するとともに、預け入れ完了の通知を、前記配送依頼者端末に送信し、
前記配送依頼者が、前記前記物品を前記ボックスから受け取るときに、
前記預け入れ完了の通知に紐付られたアクセス情報に基づいて、前記配送依頼者端末から前記サーバに、受け取りを開始する旨の通知とともに、前記ボックス識別情報、前記配送依頼者情報を送信すると、前記サーバは、前記ボックス識別情報、前記ボックス管理情報、前記配送依頼者情報に基づいて、前記物品を受け取り可能であるか否かを判定し、前記物品を受け取り可能であると判定した場合には、前記配送依頼者端末に前記第二暗証番号を送信し、
前記配送依頼者端末から前記サーバに、前記ボックスに物品を取り出した旨の通知を送信すると、前記サーバは、さらに新たな前記暗証番号としての第三暗証番号を前記配送依頼者端末に送信し、
前記配送依頼者端末から、前記ボックスの施錠が完了した旨の通知を送信すると、前記サーバは、前記ボックス管理情報を、前記ボックスを利用可能に更新するとともに、前記配送者の配送者情報がある場合には、受け取り完了の通知を、前記配送者端末に送信する、
ことを特徴とする暗証番号管理システム。
【請求項3】
利用者が利用する利用者端末と、物品を、預け入れ・受け取り可能なボックスと、前記利用者端末と通信可能なサーバと、を備え、
前記サーバは、前記利用者に関する利用者情報が記憶される利用者情報記憶手段と、前記ボックスを識別するためのボックス識別情報が記憶されるボックス識別情報記憶手段と、前記ボックスの管理に関するボックス管理情報が記憶されるボックス情報記憶手段と、前記ボックスを開閉可能とする暗証番号に関する暗証番号情報が記憶される暗証番号情報記憶手段と、を有し、
前記利用者は、配送者と、配送依頼者と、を含み、
前記利用者端末は、前記配送者が使用する配送者端末と、前記配送依頼者が使用する配送依頼者端末と、を含み、
前記利用者情報は、少なくとも配送依頼者情報を含み、
前記ボックスは、前記暗証番号により開閉可能な錠装置と、前記ボックス識別情報と、が配設され、前記利用者が利用を開始する前においては施錠状態とされ、
前記配送依頼者が、前記物品を前記ボックスに預け入れるときに、
前記配送依頼者端末から前記サーバに、前記ボックス識別情報、前記配送依頼者情報を送信すると、前記サーバは、前記ボックス識別情報、前記ボックス管理情報、前記配送依頼者情報に基づいて、前記ボックスが利用可能か否かを判定し、利用可能と判定した場合には、現在設定されている前記暗証番号としての第一暗証番号を前記配送依頼者端末に送信し、
前記配送依頼者端末から前記ボックスに物品が入れられた旨の通知を送信すると、前記サーバは、新たな前記暗証番号としての第二暗証番号を前記配送依頼者端末に送信し
前記配送依頼者端末から、前記ボックスの施錠が完了した旨の通知、を送信すると、前記サーバは、前記ボックス管理情報を荷物有りと更新し、
前記配送依頼者端末から、預け入れ完了の通知、前記配送依頼者情報を、前記配送者端末に送信し、
前記物品を前記ボックスから受け取るときに、
前記預け入れ完了の通知に紐付られたアクセス情報に基づいて、前記配送者端末から前記サーバに、受け取りを開始する旨の通知とともに、前記ボックス識別情報、前記配送依頼者情報を送信すると、前記サーバは、前記ボックス識別情報、前記配送依頼者情報に基づき、預け入れ人が前記配送依頼者であるか否かを判定し、前記預け入れ人が前記配送依頼者であると判定した場合には、前記配送者端末に前記第二暗証番号を送信し、
前記配送者端末から前記サーバに、前記ボックスに物品を取り出した旨の通知を送信すると、前記サーバは、さらに新たな前記暗証番号としての第三暗証番号を前記配送者端末に送信し、
前記配送者端末から、前記ボックスの施錠が完了した旨の通知を送信すると、前記サーバは、受け取り完了の通知を、前記配送依頼者端末に送信するとともに、前記ボックス管理情報を、前記ボックスを利用可能に更新する、
ことを特徴とする暗証番号管理システム。
【請求項4】
前記サーバは、前記錠装置の操作がなされる操作部の番号に関連する、位置、順序、番号の称呼、の少なくとも一つに基づいて、前記暗証番号を生成することを特徴とする請求項1、2又は3に記載の暗証番号管理システム。
【請求項5】
前記サーバは、
前記暗証番号が誤って入力された場合に対応するために、直前に設定された前記暗証番号に対して、前記錠装置の操作がなされる操作部の番号に関連する、位置、順序、番号の称呼、の少なくとも一つに基づいて、前記暗証番号の予測近似値を、生成し、
前記予測近似値が必要とされる、前記利用者端末、前記配送者端末、前記配送依頼者端末に、前記予測近似値を送信可能とされていることを特徴とする請求項1、2又は3記載の暗証番号管理システム。
【請求項6】
前記サーバは、前記暗証番号が誤って入力された場合に対応するために、
前記利用者端末、前記配送者端末、又は、前記配送依頼者端末、のいずれか一から送信された、
前記ボックスの施錠がされるときに、前記錠装置の操作がなされる操作部を撮影して取得され、直前に設定された前記暗証番号の直前暗証番号情報に対して、前記操作部の番号に関連する、位置、順序、番号の称呼、の少なくとも一つに基づいて、前記暗証番号の予測近似値を、生成し、
前記予測近似値が必要とされる、前記利用者端末、前記配送者端末、前記配送依頼者端末に、前記予測近似値を送信可能とされていることを特徴とする請求項1、2又は3記載の暗証番号管理システム。
【請求項7】
前記サーバは、前記暗証番号が誤って入力された場合に対応するために、
前記利用者端末、前記配送者端末、又は、前記配送依頼者端末、のいずれか一から送信された、前記錠装置の操作がなされる操作部を撮影して取得された画像情報に基づいて、誤って前記操作部に入力された前記暗証番号を画像認識処理により推定し、前記推定結果に基づいて、前記暗証番号の予測近似値を生成し、
前記予測近似値を、前記予測近似値が必要とされる、前記利用者端末、前記配送者端末、又は前記配送依頼者端末に送信可能とされていることを特徴とする請求項1、2又は3記載の暗証番号管理システム。
【請求項8】
前記ボックスが、外部と通信不能とされていることを特徴とする請求項1、2又は3記載の暗証番号管理システム。
発明の詳細な説明
【技術分野】
【0001】
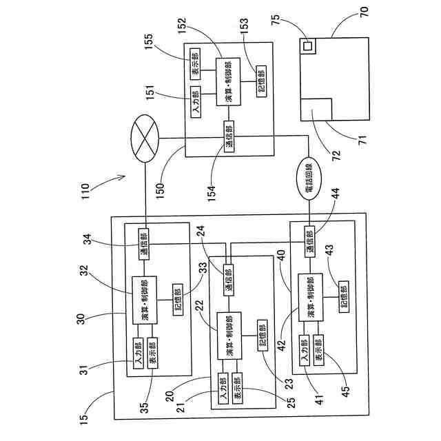
本発明は、暗証番号を利用して、ボックスで、物品の、預け入れ、受け取りを可能とする暗証番号管理システムに関する。
続きを表示(約 2,000 文字)
【背景技術】
【0002】
従来の暗証番号を管理する、配送システムとして、特許文献1に記載されるものがあり、これによれば、配送システムは、配送物を収容可能な複数の搬送用ボックスと、搬送用ボックスに配送物を収容する者又は搬送用ボックスから配送物を取出す者が使用する端末と、端末と通信可能な輸配送管理システムサーバと、を備えていた。
【0003】
搬送用ボックスは、電子錠を含む電子錠装置を備え、電子錠装置は、電子錠の施錠に関する操作処理毎に、あらかじめ定めた作成手順に基づいて新規な施錠番号を生成して設定していた。
【0004】
輸配送管理システムサーバは、電子錠の施錠に関する操作処理毎に、電子錠装置におけるあらかじめ定めた作成手順に基づいて電子錠の新規な施錠番号を生成して端末へ送信していた。
【0005】
端末は、輸配送管理システムサーバから受信した新規な施錠番号を表示することとされていた。
【先行技術文献】
【特許文献】
【0006】
特開2023-139469号公報
【発明の概要】
【発明が解決しようとする課題】
【0007】
しかし、上記の暗証番号管理システムでは、搬送用ボックスは、新規な施錠番号を生成可能な機能を備え、輸配送管理システムサーバとインターネットを介して接続される、オンライン管理方式が採用され、運用するためにコストがかかるという問題があった。
【0008】
本発明は、上記事情に鑑み、オンライン管理方式を採用せずに、低コストで運用することができる暗証番号管理システムを提供するものである。
【0009】
また、副次的に解決すべき課題としては、従来の宅配ボックス管理システムにおいては、インターネットを通じた双方向通信に依存するものが多く、通信回線の確保や設置コスト、またサイバー攻撃による不正開錠等のリスクが存在していた。本発明は、上記課題に鑑みて、外部通信手段を完全に排除しつつも、サーバによって暗証番号の発行・管理を行い、宅配ボックスの状態を常時施錠で安全に維持できる暗証番号管理システムを提供することを目的とする。
【課題を解決するための手段】
【0010】
請求項1記載の発明は、利用者が利用する利用者端末と、物品を、預け入れ・受け取り可能なボックスと、前記利用者端末と通信可能なサーバと、を備え、
前記サーバは、前記利用者に関する利用者情報が記憶される利用者情報記憶手段と、前記ボックスを識別するためのボックス識別情報が記憶されるボックス識別情報記憶手段と、前記ボックスの管理に関するボックス管理情報が記憶されるボックス情報記憶手段と、前記ボックスを開閉可能とする暗証番号に関する暗証番号情報が記憶される暗証番号情報記憶手段と、を有し、
前記ボックスは、前記暗証番号により開閉可能な錠装置と、前記ボックス識別情報と、が配設され、前記利用者が利用を開始する前においては施錠状態とされ、
前記物品を前記ボックスに預け入れるときに、
前記利用者端末から前記サーバに、前記ボックス識別情報、前記利用者情報を送信すると、前記サーバは、前記ボックス識別情報、前記ボックス管理情報、前記利用者情報に基づいて、前記ボックスが利用可能か否かを判定し、利用可能と判定した場合には、現在設定されている前記暗証番号としての第一暗証番号を前記利用者端末に送信し、
前記利用者端末から前記ボックスに前記物品が入れられた旨の通知を送信すると、前記サーバは、新たな前記暗証番号としての第二暗証番号を前記利用者端末に送信し
前記利用者端末から、前記ボックスの施錠が完了した旨の通知を送信すると、前記サーバは、預け入れ完了の通知を、前記利用者端末に送信し、
前記物品を前記ボックスから受け取るときに、
前記預け入れ完了の通知に紐付られたアクセス情報に基づいて、前記利用者端末から前記サーバに、受け取りを開始する旨の通知とともに、前記ボックス識別情報、前記利用者情報を送信すると、前記サーバは、前記ボックス識別情報、前記ボックス管理情報、前記利用者情報に基づいて、前記物品を受け取り可能であるか否かを判定し、前記物品を受け取り可能であると判定した場合には、前記利用者端末に前記第二暗証番号を送信し、
前記利用者端末から前記サーバに、前記ボックスから前記物品を取り出した旨の通知を送信すると、前記サーバは、さらに新たな前記暗証番号としての第三暗証番号を前記利用者端末に送信し、
前記利用者端末から、前記ボックスの施錠が完了した旨の通知を送信すると、前記サーバは、前記ボックス管理情報を前記ボックスが利用可能に更新する。
(【0011】以降は省略されています)
この特許をJ-PlatPat(特許庁公式サイト)で参照する
関連特許
株式会社ファイテック
暗証番号管理システム
5日前
個人
詐欺保険
1か月前
個人
縁伊達ポイン
1か月前
個人
職業自動販売機
5日前
個人
5掛けポイント
12日前
個人
RFタグシート
23日前
個人
地球保全システム
1か月前
個人
ペルソナ認証方式
20日前
個人
QRコードの彩色
1か月前
個人
自動調理装置
22日前
個人
情報処理装置
15日前
個人
残土処理システム
1か月前
個人
農作物用途分配システム
1か月前
個人
知的財産出願支援システム
1か月前
個人
インターネットの利用構造
19日前
個人
サービス情報提供システム
7日前
個人
タッチパネル操作指代替具
29日前
個人
スケジュール調整プログラム
28日前
個人
携帯端末障害問合せシステム
28日前
個人
エリアガイドナビAIシステム
20日前
個人
食品レシピ生成システム
1か月前
株式会社キーエンス
受発注システム
1か月前
個人
海外支援型農作物活用システム
2か月前
株式会社キーエンス
受発注システム
1か月前
株式会社キーエンス
受発注システム
1か月前
個人
音声・通知・再配達UX制御構造
1か月前
株式会社ケアコム
項目選択装置
15日前
個人
帳票自動生成型SaaSシステム
1か月前
トヨタ自動車株式会社
通知装置
26日前
エッグス株式会社
情報処理装置
29日前
大同特殊鋼株式会社
疵判定方法
1か月前
キヤノン株式会社
情報処理装置
13日前
キヤノン株式会社
印刷システム
28日前
キヤノン株式会社
表示システム
1か月前
株式会社ケアコム
項目選択装置
15日前
株式会社ワコム
電子ペン
14日前
続きを見る
他の特許を見る