TOP
|
特許
|
意匠
|
商標
特許ウォッチ
Twitter
他の特許を見る
10個以上の画像は省略されています。
公開番号
2025169918
公報種別
公開特許公報(A)
公開日
2025-11-14
出願番号
2025075535
出願日
2025-04-30
発明の名称
二重排気プレナムを有する方法および装置
出願人
エーエスエム・アイピー・ホールディング・ベー・フェー
代理人
個人
,
個人
,
個人
主分類
H01L
21/31 20060101AFI20251107BHJP(基本的電気素子)
要約
【課題】本発明は、二重排気プレナムを備えた方法および装置に関する。
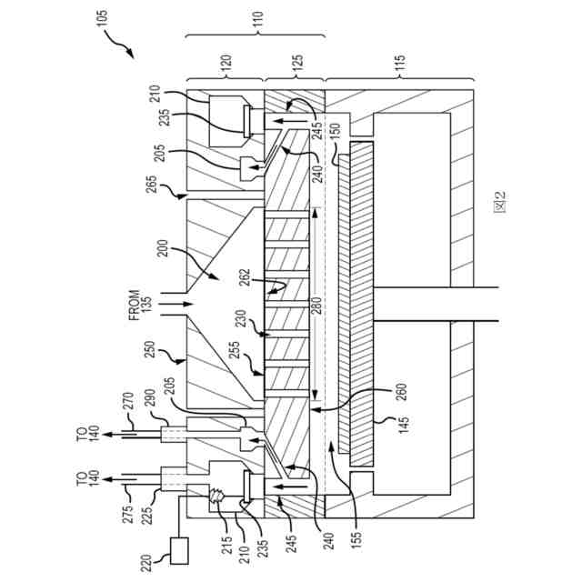
【解決手段】本技術の様々な実施形態は、二つの別個の排気プレナムを有する装置を提供し得る。装置は、少なくとも一つの入口および第一の排気プレナムおよび第二の排気プレナムを有する上部分を含み得る。装置は、第一の排気プレナムに連結された複数の第一の排気貫通孔と、第二の排気プレナムに連結された複数の第二の排気貫通孔とを有する底部分をさらに含み得る。
【選択図】図2
特許請求の範囲
【請求項1】
上部分であって、
入口プレナムと、
第一の排気プレナムと、
第二の排気プレナムと、を備える上部分と、
前記上部分に結合された底部分であって、
第一の表面および対向する第二の表面と、
前記第一の表面と前記第二の表面との間に延びる複数の入口貫通孔を備えるシャワーヘッド領域と、
前記第一の排気プレナムに流体連結された複数の第一の排気貫通孔と、
前記第二の排気プレナムに流体連結された複数の第二の排気貫通孔と、を備える、底部分と、を備える装置。
続きを表示(約 910 文字)
【請求項2】
前記第一の排気プレナムおよび第二の排気プレナムが、前記入口プレナムと同心に配置され、前記第一の排気プレナムが前記第二の排気プレナムから分離されている、請求項1に記載の装置。
【請求項3】
前記第一の排気プレナムが第一の体積を有し、前記第二の排気プレナムが前記第一の体積よりも大きい第二の体積を有する、請求項1に記載の装置。
【請求項4】
前記第二の排気プレナム内に配置され、前記第二の排気プレナムを反応空間から分離するように構成された密封機構をさらに備え、前記密封機構が、リングおよび前記リングに結合されたアクチュエータを備える、請求項1に記載の装置。
【請求項5】
前記第一の排気プレナムに結合され、第一の部分から外向きに延在する第一の排気ラインと、
前記第二の排気プレナムに結合され、第二の部分から外向きに延在する第二の排気ラインと、をさらに備える、請求項1に記載の装置。
【請求項6】
前記第一の排気プレナムが第一の体積を有し、前記第二の排気プレナムが前記第一の体積と実質的に等しい第二の体積を有し、前記第一の排気貫通孔が第一の直径を有し、前記第二の排気貫通孔が前記第一の直径と実質的に等しい第二の直径を有する、請求項1に記載の装置。
【請求項7】
前記第一の排気プレナムに連結された第一の分離弁と、前記第二の排気プレナムに連結された第二の弁とをさらに備える、請求項6に記載の装置。
【請求項8】
前記第一の分離弁から下流に連結された第一のポンプと、前記第二の弁から下流に連結された第二のポンプとをさらに備える、請求項7に記載の装置。
【請求項9】
前記第一の排気貫通孔が第一の直径を有し、前記第二の排気貫通孔が前記第一の直径よりも大きい第二の直径を有する、請求項1に記載の装置。
【請求項10】
前記第一および第二の排気貫通孔が、前記シャワーヘッド領域から半径方向外向きに配置される、請求項1に記載の装置。
(【請求項11】以降は省略されています)
発明の詳細な説明
【技術分野】
【0001】
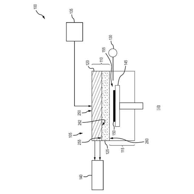
本開示は概して、二重排気プレナムを備えた方法および装置に関する。より具体的には、本開示は、二つの別個の排気経路を有するシャワーヘッドに関する。
続きを表示(約 1,100 文字)
【背景技術】
【0002】
半導体製造で使用される反応チャンバは、典型的には、排気システムを利用して、未使用の前駆体および共反応物質を反応空間から除去する。従来のシステムでは、未使用の前駆体および共反応物質を除去するために、単一の排気プレナムおよび排気ラインが使用される。
【発明の概要】
【0003】
本技術の様々な実施形態は、二つの別個の排気プレナムを有する装置を提供し得る。装置は、少なくとも一つの入口および第一の排気プレナムおよび第二の排気プレナムを有する上部を含み得る。装置は、第一の排気プレナムに連結された複数の第一の排気貫通孔および第二の排気プレナムに連結された複数の第二の排気貫通孔を有する底部をさらに含み得る。
【0004】
一態様によれば、本装置は、上部分であって、入口プレナムと、第一の排気プレナムと、第二の排気プレナムと、を備える上部分と、底部分であって、前記上部分に結合され、第一の表面および対向する第二の表面と前記第一の表面と前記第二の表面との間に延びる複数の入口貫通孔を備えるシャワーヘッド領域と、前記第一の排気プレナムに流体連結された複数の第一の排気貫通孔と、前記第二の排気プレナムに流体連結された複数の第二の排気貫通孔と、を備える、底部分と、を備える。
【0005】
一実施形態では、第一および第二の排気プレナムは、入口プレナムと同心に配置され、第一の排気プレナムは、第二の排気プレナムから分離されている。
【0006】
一実施形態では、第一の排気プレナムは第一の体積を有し、第二の排気プレナムは第一の体積よりも大きい第二の体積を有する。
【0007】
一実施形態では、本装置は、第二の排気プレナム内に配置され、第二の排気プレナムを反応空間から分離するように構成された密封機構をさらに備え、密封機構は、リングおよびリングに結合されたアクチュエータを備える。
【0008】
一実施形態では、本装置は、第一の排気プレナムに連結され、第一の部分から外向きに延在する第一の排気ラインと、第二の排気プレナムに連結され、第二の部分から外向きに延在する第二の排気ラインと、をさらに備える。
【0009】
一実施形態では、第一の排気プレナムは第一の体積を有し、第二の排気プレナムは第一の体積と実質的に等しい第二の体積を有し、第一の排気貫通孔は第一の直径を有し、第二の排気貫通孔は第一の直径と実質的に等しい第二の直径を有する。
【0010】
一実施形態では、本装置は、第一の排気プレナムに連結された第一の分離弁と、第二の排気プレナムに連結された第二の弁とをさらに備える。
(【0011】以降は省略されています)
この特許をJ-PlatPat(特許庁公式サイト)で参照する
関連特許
東ソー株式会社
絶縁電線
1か月前
APB株式会社
蓄電セル
28日前
個人
フレキシブル電気化学素子
1か月前
株式会社ユーシン
操作装置
1か月前
日新イオン機器株式会社
イオン源
1か月前
ローム株式会社
半導体装置
29日前
株式会社東芝
端子台
22日前
マクセル株式会社
電源装置
22日前
太陽誘電株式会社
コイル部品
1か月前
株式会社GSユアサ
蓄電装置
23日前
株式会社ホロン
冷陰極電子源
1か月前
株式会社GSユアサ
蓄電装置
23日前
富士電機株式会社
電磁接触器
1日前
株式会社GSユアサ
蓄電設備
1か月前
株式会社GSユアサ
蓄電装置
15日前
三菱電機株式会社
回路遮断器
9日前
株式会社GSユアサ
蓄電設備
1か月前
株式会社GSユアサ
蓄電装置
1日前
トヨタ自動車株式会社
バッテリ
28日前
日本特殊陶業株式会社
保持装置
14日前
トヨタ自動車株式会社
蓄電装置
23日前
北道電設株式会社
配電具カバー
28日前
日新イオン機器株式会社
基板処理装置
25日前
サクサ株式会社
電池の固定構造
1か月前
トヨタ自動車株式会社
蓄電装置
1か月前
日本特殊陶業株式会社
保持装置
1か月前
トヨタ自動車株式会社
冷却構造
1か月前
ノリタケ株式会社
熱伝導シート
1か月前
トヨタ自動車株式会社
電池パック
1か月前
株式会社トクヤマ
シリコンエッチング液
1か月前
株式会社デンソー
電子装置
25日前
住友電装株式会社
コネクタ
1日前
日亜化学工業株式会社
半導体レーザ素子
25日前
トヨタ自動車株式会社
密閉型電池
24日前
トヨタ自動車株式会社
電池パック
1か月前
矢崎総業株式会社
コネクタ
1日前
続きを見る
他の特許を見る