TOP
|
特許
|
意匠
|
商標
特許ウォッチ
Twitter
他の特許を見る
公開番号
2025169856
公報種別
公開特許公報(A)
公開日
2025-11-14
出願番号
2024140542
出願日
2024-08-22
発明の名称
有機系廃棄物再資源化方法及び有機系廃棄物再資源化システム
出願人
株式会社新産業研究所
代理人
個人
主分類
B09B
3/40 20220101AFI20251107BHJP(固体廃棄物の処理;汚染土壌の再生)
要約
【課題】 含水量の多い有機系廃棄物を効率的に熱分解炭化処理することができ、熱経済性に極めて優れた有機系廃棄物再資源化方法及び再資源化システムを提供する。
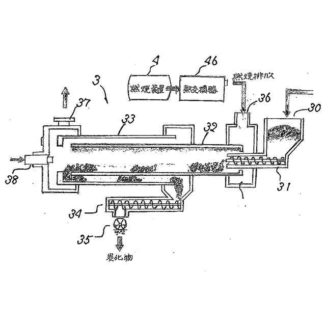
【解決手段】 有機系廃棄物再資源化方法は、有機系廃棄物を圧搾脱水する圧搾脱水工程Aと、さらに乾燥する乾燥工程Bと、乾燥した有機系廃棄物を低温熱分解し、分解ガス、分解油及び炭化物を生成する熱分解炭化工程Cと、生成した炭化排気ガスを燃焼し、燃焼排気ガスを生成すると共に、この燃焼排気ガスを炭化排気ガスと熱交換させ、熱交換後の燃焼排気ガスを生成する燃焼排気ガス生成工程Dと、燃焼排気ガス生成工程Dで生成した燃焼排気ガスと、乾燥工程Bで生成した乾燥排気ガスとを混合、脱臭するガス混合脱臭工程Eと、前記燃焼排気ガスを循環させる炭化熱源供給工程Hと、前記混合脱臭ガスを循環させる乾燥熱源供給工程Jと、から成る。
【選択図】 図1
特許請求の範囲
【請求項1】
含水率60%以上の含水量の多い有機系廃棄物を含水率50%以下まで圧搾脱水する圧搾脱水工程と、
圧搾脱水した有機系廃棄物をさらに含水率30%以下まで乾燥する乾燥工程と、
乾燥した有機系廃棄物を低温熱分解し、分解油、分解ガス及び炭化物を生成する熱分解炭化工程と、
生成した分解ガスを燃焼し、燃焼排気ガスを生成すると共に、この燃焼排気ガスを前記分解ガスと熱交換させ、熱交換後の燃焼排気ガスを排出する燃焼排気ガス生成工程と、
前記燃焼排気ガス生成工程で生成した燃焼排気ガスと、前記乾燥工程で生成した乾燥排気ガスとを混合し、脱臭するガス混合脱臭工程と、
前記燃焼排気ガスを循環させ、前記熱分解炭化工程における熱源として使用する炭化熱源供給工程と、
前記混合脱臭ガスを循環させ、前記乾燥工程における熱源として使用する乾燥熱源供給工程と、
から構成される有機系廃棄物再資源化方法。
続きを表示(約 780 文字)
【請求項2】
さらに、混合脱臭した混合脱臭ガスを冷却するガス冷却工程と、冷却された混合脱臭ガスから塵埃を除去し、大気中に放散する混合ガス放散工程と、から成ることを特徴とする請求項1に記載の有機系廃棄物再資源化方法。
【請求項3】
前記有機系廃棄物は、使用済み紙おむつであることを特徴とする請求項1又は2に記載の有機系廃棄物再資源化方法。
【請求項4】
含水率60%以上の含水量の多い有機系廃棄物を含水率50%以下まで圧搾脱水する圧搾脱水装置と、
圧搾脱水した有機系廃棄物をさらに含水率30%以下まで乾燥する乾燥装置と、
乾燥した有機系廃棄物を低温熱分解し、分解油、分解ガス及び炭化物を生成する熱分解炭化装置と、
生成した分解ガスを燃焼し、燃焼排気ガスを生成する分解ガス燃焼装置と、この燃焼排気ガスを前記分解ガスと熱交換させる熱交換装置と、
前記分解ガス燃焼装置によって生成した燃焼排気ガスと、前記乾燥装置によって生成した乾燥排気ガスとを混合し、脱臭するガス混合脱臭装置と、
前記燃焼排気ガスを循環させ、前記熱分解炭化装置における熱源として使用する炭化熱源供給配管と、
前記脱臭した混合ガスを循環させ、前記乾燥装置における熱源として使用する乾燥熱源供給配管と、
から構成される有機系廃棄物再資源化システム。
【請求項5】
さらに、混合脱臭した混合脱臭ガスを冷却するガス冷却装置と、冷却された混合脱臭ガスから塵埃を除去する集塵装置と、から構成されることを特徴とする請求項4に記載の有機系廃棄物再資源化システム。
【請求項6】
前記有機系廃棄物は、使用済み紙おむつであることを特徴とする請求項4又は5に記載の有機系廃棄物再資源化システム。
発明の詳細な説明
【技術分野】
【0001】
本発明は、含水量の多い食品残渣、伐採草木、使用済み紙おむつ等の有機系廃棄物を処理し、再資源化するための有機系廃棄物再資源化方法及び有機系廃棄物再資源化システムに関する。
続きを表示(約 1,800 文字)
【背景技術】
【0002】
従来、有機系廃棄物を熱分解炭化し、再資源化を可能にする熱分解炭化設備を採用したリサイクルシステムが数多く提案されている。
例えば、生ゴミ、プラスチック系廃棄物、木質系廃棄物、汚泥等の有機系廃棄物を減量化し、熱分解して炭化物を生成し、再資源化を可能にするリサイクルシステムが提案されている(特許文献1参照)。
【先行技術文献】
【特許文献】
【0003】
特開2013-146666号公報
【発明の開示】
【発明が解決しようとする課題】
【0004】
しかし、特許文献1に記載のリサイクルシステムでは、含水量の多い(含水率60%以上)食品残渣、伐採草木、使用済み紙おむつ等の有機系廃棄物を処理する場合、これらを直接、熱分解炭化装置に投入し、熱分解炭化するのは困難であった。
【0005】
よって、含水量の多い(含水率60%以上)有機系廃棄物を処理する場合は、外部から熱エネルギーを供給し、高温の低酸素雰囲気中において炭化処理する必要があり、熱エネルギーを多量に消費し、熱経済性に課題があった。
【0006】
本発明は、このような従来の問題点に鑑みて為されたものであって、含水量の多い(含水率60%以上)有機系廃棄物を処理する場合に、従来のように、外部から多量の熱エネルギーを供給せず、有機系廃棄物を効率的に炭化処理することができ、熱経済性に極めて優れた有機系廃棄物再資源化方法及び再資源化システムを提供することを目的とする。
【課題を解決するための手段】
【0007】
上記目的を達成するために、本発明の有機系廃棄物再資源化方法は、
含水率60%以上の含水量の多い有機系廃棄物を含水率50%以下まで圧搾脱水する圧搾脱水工程と、
圧搾脱水した有機系廃棄物をさらに含水率30%以下まで乾燥する乾燥工程と、
乾燥した有機系廃棄物を低温熱分解し、分解油、分解ガス及び炭化物を生成する熱分解炭化工程と、
生成した分解ガスを燃焼し、燃焼排気ガスを生成すると共に、この燃焼排気ガスを前記分解ガスと熱交換させ、熱交換後の燃焼排気ガスを排出する燃焼排気ガス生成工程と、
前記燃焼排気ガス生成工程で生成した燃焼排気ガスと、前記乾燥工程で生成した乾燥排気ガスとを混合し、脱臭するガス混合脱臭工程と、
前記燃焼排気ガスを循環させ、前記熱分解炭化工程における熱源として使用する炭化熱源供給工程と、
前記混合脱臭ガスを循環させ、前記乾燥工程における熱源として使用する乾燥熱源供給工程と、
から成ることを特徴とする。
【0008】
本発明の有機系廃棄物再資源化方法は、さらに、混合脱臭した混合脱臭ガスを冷却するガス冷却工程と、冷却された混合脱臭ガスから塵埃を除去し、大気中に放散する混合ガス放散工程と、から成ることを特徴とする。
【0009】
又、本発明の有機系廃棄物再資源化システムは、本発明の有機系廃棄物再資源化方法を好適に実施するためのシステムであって、
含水率60%以上の含水量の多い有機系廃棄物を含水率50%以下まで圧搾脱水する圧搾脱水装置と、
圧搾・脱水した有機系廃棄物をさらに含水率30%以下まで乾燥する乾燥装置と、
乾燥した有機系廃棄物を低温熱分解し、分解油、分解ガス及び炭化物を生成する熱分解炭化装置と、
生成した分解ガスを燃焼し、燃焼廃棄ガスを生成する分解ガス燃焼装置と、この燃焼廃棄ガスを前記分解ガスと熱交換させる熱交換装置と、
前記燃焼廃棄ガス生成工程で生成した燃焼廃棄ガスと、前記乾燥工程で生成した乾燥廃棄ガスとを混合し、この混合ガスを脱臭するガス混合・脱臭装置と、
前記燃焼廃棄ガスを循環させ、前記熱分解炭化装置における熱源として使用する炭化熱源供給配管と、
前記脱臭混合ガスを循環させ、前記乾燥装置における熱源として使用する乾燥熱源供給配管と、
から構成されることを特徴とする。
【0010】
本発明の有機系廃棄物再資源化システムは、さらに、混合脱臭した混合脱臭ガスを冷却するガス冷却装置と、冷却された混合脱臭ガスから塵埃を除去する集塵装置と、から構成されることを特徴とする。
(【0011】以降は省略されています)
この特許をJ-PlatPat(特許庁公式サイト)で参照する
関連特許
株式会社新産業研究所
有機系廃棄物再資源化方法及び有機系廃棄物再資源化システム
8日前
ダイハツ工業株式会社
発酵システム
3か月前
トヨタ自動車株式会社
空箱処理装置
3か月前
トヨタ自動車株式会社
空箱処理装置
3か月前
花王株式会社
焼却灰の処理方法
2か月前
花王株式会社
焼却灰の処理方法
2か月前
テクニカ合同株式会社
廃棄鶏の処理方法
2か月前
トヨタ自動車株式会社
バイオ炭製造方法
2か月前
個人
有機材料製造装置
16日前
株式会社トクヤマ
石膏粒体のか焼方法
2か月前
株式会社シーパーツ
自動車解体破砕方法
1か月前
株式会社マクニカ
乾熱減容処理装置
3か月前
清水建設株式会社
汚染拡散防止構造
2か月前
学校法人東京農業大学
メタンガスの製造方法
3か月前
清水建設株式会社
加熱井戸の設置方法
2か月前
鹿島建設株式会社
土壌の浄化方法
3か月前
清水建設株式会社
遮水層構築の降雨対策方法
23日前
株式会社クリンテック
熱分解炉
23日前
株式会社LIXIL
汚物処理装置
1か月前
個人
太陽光電池モジュール資源回収方法
2日前
株式会社クボタ
メタン発酵装置およびメタン発酵処理方法
5か月前
国立大学法人東北大学
重金属の不溶化方法
1か月前
極東開発工業株式会社
廃棄物処理装置
4か月前
日本シーム株式会社
容器処理装置
3日前
日本シーム株式会社
容器処理装置
3日前
九電産業株式会社
樹脂複合製品の製造方法
2か月前
トヨタ自動車株式会社
乾燥処理装置
3か月前
株式会社大林組
有機フッ素化合物の浄化方法
4か月前
王子ホールディングス株式会社
ベールの製造方法
1か月前
株式会社エネアグリ
乾式メタン発酵システムおよび乾式メタン発酵方法
1か月前
株式会社エネアグリ
乾式メタン発酵システムおよび乾式メタン発酵方法
1か月前
株式会社神鋼環境ソリューション
メタン発酵装置、及び、メタン発酵方法
1か月前
株式会社トクヤマ
廃石膏ボードから紙片と石膏粒体を回収する方法
2か月前
光宇應用材料股ふん有限公司
環境にやさしい低炭素二酸化ケイ素の製造方法
2か月前
JFEエンジニアリング株式会社
焼却灰貯留装置
24日前
個人
フォーミング生成抑制材の製造方法及び廃タイヤのリサイクル処理方法
3か月前
続きを見る
他の特許を見る