TOP
|
特許
|
意匠
|
商標
特許ウォッチ
Twitter
他の特許を見る
公開番号
2025169743
公報種別
公開特許公報(A)
公開日
2025-11-14
出願番号
2024074785
出願日
2024-05-02
発明の名称
独立気泡ゴム及びその製造方法、並びに、金属除去用ゴム
出願人
株式会社アトムワーク
,
中谷産業株式会社
代理人
個人
,
個人
,
個人
主分類
C08J
9/28 20060101AFI20251107BHJP(有機高分子化合物;その製造または化学的加工;それに基づく組成物)
要約
【課題】水で濡らすことなく溶融した金属の加熱工具からの除去に使用でき、表面に残った金属を容易に取り除くことが可能な金属除去用ゴム、並びに、それの基となる独立気泡ゴム及びその製造方法を提供する。
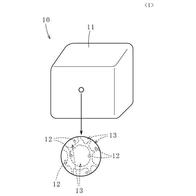
【解決手段】硬化したシリコーンゴム11を有する独立気泡ゴム10(又は独立気泡ゴム)であって、それぞれ少なくとも1つの粒子12が内側に配された複数の独立気泡13が、硬化したシリコーンゴム11に形成され、水溶性物質が分散している。
【選択図】図1
特許請求の範囲
【請求項1】
硬化したシリコーンゴムを有する独立気泡ゴムであって、
それぞれ少なくとも1つの粒子が内側に配された複数の独立気泡が、前記硬化したシリコーンゴムに形成され、
水溶性物質が分散していることを特徴とする独立気泡ゴム。
続きを表示(約 620 文字)
【請求項2】
空隙率が40%以上85%以下であることを特徴とする請求項1記載の独立気泡ゴム。
【請求項3】
水分を含有する溶解液に一部又は全体が溶解した水溶性物質が付着した粒子を、未硬化のシリコーンゴムに投入して混合し、前記粒子が前記シリコーンゴム中に分散した混合物を得る第1工程と、
前記シリコーンゴムの硬化を進行させながら、前記混合物を加熱して該混合物に含有された前記溶解液を蒸発させ、それぞれ少なくとも1つの前記粒子が内側に配された複数の独立気泡を、硬化したシリコーンゴムに形成する第2工程とを有することを特徴とする独立気泡ゴムの製造方法。
【請求項4】
前記第1工程における前記未硬化のシリコーンゴムへの前記粒子の投入は、該未硬化のシリコーンゴムに疎水性の液体を混合した後に行われることを特徴とする請求項3記載の独立気泡ゴムの製造方法。
【請求項5】
前記水溶性物質は潮解性を有することを特徴とする請求項3又は4記載の独立気泡ゴムの製造方法。
【請求項6】
硬化したシリコーンゴムを有し、加熱工具から溶融金属を取り除く凹凸が表面の一部又は全体に形成された金属除去用ゴムであって、
それぞれ少なくとも1つの粒子が内側に配された複数の独立気泡が、前記硬化したシリコーンゴムに形成され、
水溶性物質が分散していることを特徴とする金属除去用ゴム。
発明の詳細な説明
【技術分野】
【0001】
本発明は、シリコーンゴムに独立気泡が形成された独立気泡ゴム、及び、その製造方法、並びに、金属除去用ゴムに関する。
続きを表示(約 1,700 文字)
【背景技術】
【0002】
従来、半田ごて等の加熱工具から半田を除去するためにパッドが用いられ、その具体例が例えば、特許文献1、2に開示されている。
特許文献1に開示されたパッドは、木質パルプシートによって構成され、水で濡らして水分を吸収した状態で使用される。そのため、高温の加熱工具及び半田をパッドに接触させてもパッドが炭化したり燃焼したりすることを防止可能である。
【0003】
特許文献2に開示されたバッドはシリコーンゴムによって形成されていることから、耐熱性が高く、水で濡らす必要はない。但し、引用文献2に記載のパッドは表面に加熱工具を擦りつけて半田を除去することが前提となっていないため、半田を効率的に取り除くことができない。
この点、従来のウレタンスポンジからなるパッドを水で濡らして用いれば、凹凸が形成されたパッドの表面に加熱工具を擦りつけることによって、加熱工具に付着した半田を容易に除去できる。
【先行技術文献】
【特許文献】
【0004】
特開2019-195824号公報
特開2018-24015号公報
【発明の概要】
【発明が解決しようとする課題】
【0005】
しかしながら、水で濡らして使用するパッドは、加熱工具がパッドに接触することによって、加熱工具の温度を大きく低下させることから、加熱工具の温度を上昇させる時間が必要となり、作業効率が低下する。更に、加熱された加熱工具の急激な温度低下は加熱工具のヒータ部の不具合をもたらす原因となる。
また、半田と共に使用されるフラックスはウレタンスポンジに付着すると、ウレタンスポンジから取り外すことが実質的にできない。
これらの加熱工具の急激な温度低下によって招来する問題は半田に限定されず、溶融した他の金属に対しても同様である。
【0006】
本発明は、かかる事情に鑑みてなされたもので、水で濡らすことなく溶融した金属の加熱工具からの除去に使用でき、表面に残った金属を容易に取り除くことが可能な金属除去用ゴム、並びに、それの基となる独立気泡ゴム及びその製造方法を提供することを目的とする。
【課題を解決するための手段】
【0007】
前記目的に沿う第1の発明に係る独立気泡ゴムは、硬化したシリコーンゴムを有する独立気泡ゴムであって、それぞれ少なくとも1つの粒子が内側に配された複数の独立気泡が、前記硬化したシリコーンゴムに形成され、水溶性物質が分散している。
【0008】
前記目的に沿う第2の発明に係る独立気泡ゴムの製造方法は、水分を含有する溶解液に一部又は全体が溶解した水溶性物質が付着した粒子を、未硬化のシリコーンゴムに投入して混合し、前記粒子が前記シリコーンゴム中に分散した混合物を得る第1工程と、前記シリコーンゴムの硬化を進行させながら、前記混合物を加熱して該混合物に含有された前記溶解液を蒸発させ、それぞれ少なくとも1つの前記粒子が内側に配された複数の独立気泡を、硬化したシリコーンゴムに形成する第2工程とを有する。
【0009】
前記目的に沿う第3の発明に係る金属除去用ゴムは、硬化したシリコーンゴムを有し、加熱工具から溶融金属を取り除く凹凸が表面の一部又は全体に形成された金属除去用ゴムであって、それぞれ少なくとも1つの粒子が内側に配された複数の独立気泡が、前記硬化したシリコーンゴムに形成され、水溶性物質が分散している。
【発明の効果】
【0010】
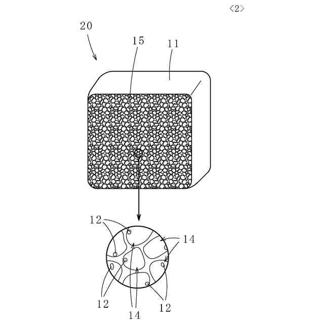
第1の発明に係る独立気泡ゴムは、複数の独立気泡が、硬化したシリコーンゴムに形成されているので、当該独立気泡ゴムを切断等することによって、元々の独立気泡で形成された凹凸面が形成され、当該凹凸面を溶融した金蔵の除去に利用できる。シリコーンゴムは従来の水に濡らして使用するパッドに比べて耐熱性があることから、水で濡らすことなく溶融した金属の加熱工具からの除去に利用でき、また、凹凸面に残った金属は容易に取り除けることを実験により確認した。
(【0011】以降は省略されています)
この特許をJ-PlatPat(特許庁公式サイト)で参照する
関連特許
株式会社アトムワーク
独立気泡ゴム及びその製造方法、並びに、金属除去用ゴム
6日前
株式会社カネカ
断熱材
13日前
東ソー株式会社
ペレット
1か月前
ユニチカ株式会社
透明シート
3か月前
ユニチカ株式会社
透明シート
1か月前
株式会社コバヤシ
成形体
1か月前
東レ株式会社
ポリエステルフィルム
1か月前
東レ株式会社
ポリエステルフィルム
1か月前
住友精化株式会社
吸水剤の製造方法
2か月前
東ソー株式会社
ゴム用接着性改質剤
1か月前
東ソー株式会社
プラスチゾル組成物
13日前
東レ株式会社
引抜成形品の製造方法
2か月前
丸住製紙株式会社
変性パルプ
1か月前
東ソー株式会社
樹脂組成物および蓋材
2か月前
東ソー株式会社
樹脂組成物および蓋材
2か月前
東ソー株式会社
エチレン系重合用触媒
16日前
横浜ゴム株式会社
重荷重タイヤ
1か月前
東レ株式会社
ポリプロピレンフィルム
1か月前
アイカ工業株式会社
光硬化性樹脂組成物
1か月前
UBE株式会社
衝撃吸収材
1か月前
株式会社スリーボンド
硬化性樹脂組成物
1か月前
日本特殊陶業株式会社
樹脂成形体
2か月前
ノリタケ株式会社
担体構造体
1か月前
住友ベークライト株式会社
ポリマー
1か月前
住友ベークライト株式会社
ポリマー
1か月前
株式会社カネカ
硬化性組成物
2か月前
日本特殊陶業株式会社
賦形体
1日前
株式会社カネカ
硬化性組成物
2か月前
三洋化成工業株式会社
熱成形用樹脂組成物
1か月前
株式会社カネカ
シーリング材
1か月前
住友化学株式会社
樹脂組成物
1か月前
ユニチカ株式会社
ポリアミド系樹脂フィルム
1か月前
東ソー株式会社
温度応答性ビーズの製造方法
2か月前
株式会社スリーボンド
湿気硬化型樹脂組成物
1か月前
東レ株式会社
ポリエステル組成物の製造方法
1か月前
ハイモ株式会社
油中水型エマルジョン重合体
1か月前
続きを見る
他の特許を見る