TOP
|
特許
|
意匠
|
商標
特許ウォッチ
Twitter
他の特許を見る
公開番号
2025169699
公報種別
公開特許公報(A)
公開日
2025-11-14
出願番号
2024074679
出願日
2024-05-02
発明の名称
ペット用キャリーバッグ
出願人
ドギーマンハヤシ株式会社
代理人
弁理士法人IPRコンサルタント
主分類
A01K
1/02 20060101AFI20251107BHJP(農業;林業;畜産;狩猟;捕獲;漁業)
要約
【課題】 ペットの非収容時にコンパクトに折り畳んで持ち運ぶことができるペット用キャリーバッグを提供する。
【解決手段】 第1外縁を有する第1底片、及び、前記第1底片から連設されて前記第1外縁と着脱自在に係合する第2外縁を有する第2底片、を含む底部と、前記底部から立ち上がり、前記底部との間にペットの収容空間を形成する柔軟な周面と、前記周面に取り付けられた把持部と、前記底部に着脱自在に装着されて、前記第1底片及び前記第2底片の連結部分を少なくとも覆う補強板と、を具備し、前記補強板が前記底部から取り外された状態で、前記周面及び前記把持部が、折り畳まれた前記第1底片及び前記第2底片の間に収容可能であること、を特徴とするペット用キャリーバッグ。
【選択図】図1
特許請求の範囲
【請求項1】
第1外縁を有する第1底片、及び、前記第1底片から連設されて前記第1外縁と着脱自在に係合する第2外縁を有する第2底片、を含む底部と、
前記底部から立ち上がり、前記底部との間にペットの収容空間を形成する柔軟な周面と、
前記周面に取り付けられた把持部と、
前記底部に着脱自在に装着されて、少なくとも前記第1底片及び前記第2底片の連結部分を覆う補強板と、を具備し、
前記補強板が前記底部から取り外された状態で、前記周面及び前記把持部が、折り畳まれた前記第1底片及び前記第2底片の間に収容可能であること、
を特徴とするペット用キャリーバッグ。
続きを表示(約 240 文字)
【請求項2】
前記底部が、前記補強板を収容するためのポケットを有すること、
を特徴とする請求項1に記載のペット用キャリーバッグ。
【請求項3】
前記ポケットが、前記底部の長手方向において前記底部の1/2~3/4を占めること、
を特徴とする請求項2に記載のペット用キャリーバッグ。
【請求項4】
前記ポケットが、前記底部の外面側又は内面側に形成されていること、
を特徴とする請求項2に記載のペット用キャリーバッグ。
発明の詳細な説明
【技術分野】
【0001】
本発明は、ペット用キャリーバッグに関する。
続きを表示(約 1,400 文字)
【背景技術】
【0002】
例えば特許文献1(特開2009-142196号公報)は、剛性を有する底板を載置する底部を含め、全周壁を通気性布材で構成して、底部の上方にペット収納用の閉空間を形成するとともに、適所に開閉部を設けたことを特徴とするペット収納用バッグを開示する。
【先行技術文献】
【特許文献】
【0003】
特開2009-142196号公報
【発明の概要】
【発明が解決しようとする課題】
【0004】
しかし、特許文献1のペット収納用バッグは、ペットの非収容時にコンパクトに折り畳んで持ち運ぶことに適していない。
そこで、本発明の目的は、ペットの非収容時にコンパクトに折り畳んで持ち運ぶことができるペット用キャリーバッグを提供することにある。
【課題を解決するための手段】
【0005】
上記の課題を解決すべく、本発明は、
第1外縁を有する第1底片、及び、前記第1底片から連設されて前記第1外縁と着脱自在に係合する第2外縁を有する第2底片、を含む底部と、
前記底部から立ち上がり、前記底部との間にペットの収容空間を形成する柔軟な周面と、
前記周面に取り付けられた把持部と、
前記底部に着脱自在に装着されて、少なくとも前記第1底片及び前記第2底片の連結部分を覆う補強板と、を具備し、
前記補強板が前記底部から取り外された状態で、前記周面及び前記把持部が、折り畳まれた前記第1底片及び前記第2底片の間に収容可能であること、
を特徴とするペット用キャリーバッグ、を提供する。
【0006】
本発明のペット用キャリーバッグでは、前記底部が、前記補強板を収容するためのポケットを有すること、が好ましい。
【0007】
また、本発明のペット用キャリーバッグでは、前記ポケットが、前記底部の長手方向において前記底部の1/2~3/4を占めること、が好ましい。
【0008】
また、本発明のペット用キャリーバッグでは、前記ポケットが、前記底部の外面側又は内面側に形成されていること、が好ましい。
【発明の効果】
【0009】
本発明によれば、ペット用キャリーバッグは、底片の間に周面及び把持部を挟み込んだ状態を保持することができる。したがって、ペット用キャリーバッグは、ペットの非収容時にコンパクトに折り畳んで持ち運ぶことができる。
【図面の簡単な説明】
【0010】
本発明の一実施形態に係るペット用キャリーバッグ1の概略を示す正面図、側面図及び底面図である。
ペット用キャリーバッグ1を上面側から見た図である。
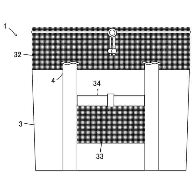
カバー32を持ち上げ、かつ、窓部33を露出させた状態のペット用キャリーバッグ1の正面図である。
ペット用キャリーバッグ1の使用状態の一例を示す図である。
補強板5を取り外した状態のペット用キャリーバッグ1を示す図である。
周面3、カバー32、把持部4及び肩掛け部7を折り畳んだ状態のペット用キャリーバッグ1を示す図である。
コンパクトにまとめられた状態のペット用キャリーバッグ1を示す図である。
【発明を実施するための形態】
(【0011】以降は省略されています)
この特許をJ-PlatPat(特許庁公式サイト)で参照する
関連特許
ドギーマンハヤシ株式会社
ペット用おもちゃ
2か月前
ドギーマンハヤシ株式会社
ペット用キャリーバッグ
12日前
ドギーマンハヤシ株式会社
ペット用キャリーバッグ
12日前
個人
草刈り鋏
1か月前
個人
釣り用錘
16日前
個人
蠅捕獲器
1か月前
個人
刈込鋏保持具
1か月前
個人
蜜蜂保護装置
27日前
個人
噴霧器ノズル
14日前
個人
草刈機用回転刃
1か月前
個人
種子の製造方法
1か月前
個人
昆虫捕集器
1か月前
個人
可動リップ付きルアー
19日前
井関農機株式会社
作業車両
1か月前
井関農機株式会社
作業車両
1か月前
株式会社剛樹
釣り竿
12日前
井関農機株式会社
圃場作業機
19日前
個人
餌付き針の餌取り防止具
22日前
個人
ブルーカーボンシステム
19日前
個人
四足動物用装着具
1か月前
株式会社ナベル
表示システム
22日前
有限会社信英精密
括り罠
6日前
大栄工業株式会社
捕獲器
1か月前
松山株式会社
収穫機
19日前
松山株式会社
収穫機
19日前
井関農機株式会社
作業車両
1か月前
みのる産業株式会社
除草機
22日前
みのる産業株式会社
除草機
22日前
井関農機株式会社
苗移植機
6日前
井関農機株式会社
作業車両
1か月前
井関農機株式会社
作業車両
1か月前
株式会社オーツボ
海苔箱船
1か月前
株式会社アテックス
芝草の刈取装置
5日前
個人
自閉式「洗濯バサミ型」虫捕獲器
6日前
松山株式会社
草刈作業機
27日前
みのる産業株式会社
茎葉処理装置
1か月前
続きを見る
他の特許を見る