TOP
|
特許
|
意匠
|
商標
特許ウォッチ
Twitter
他の特許を見る
10個以上の画像は省略されています。
公開番号
2025169558
公報種別
公開特許公報(A)
公開日
2025-11-14
出願番号
2024074353
出願日
2024-05-01
発明の名称
棚用装飾具
出願人
レンゴー株式会社
代理人
個人
,
個人
主分類
A47F
5/00 20060101AFI20251107BHJP(家具;家庭用品または家庭用設備;コーヒーひき;香辛料ひき;真空掃除機一般)
要約
【課題】陳列棚上にデッドスペースができることを抑制し、陳列された商品の顧客訴求力を向上させることができる棚用装飾具を提供する。
【解決手段】
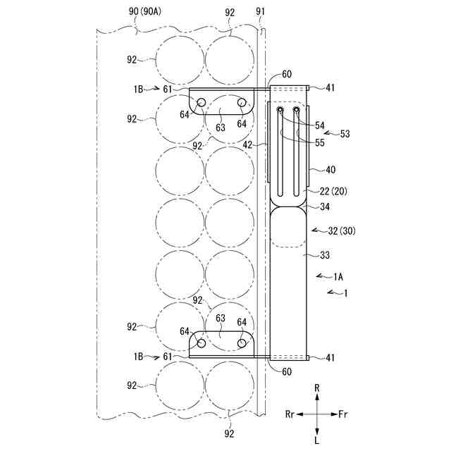
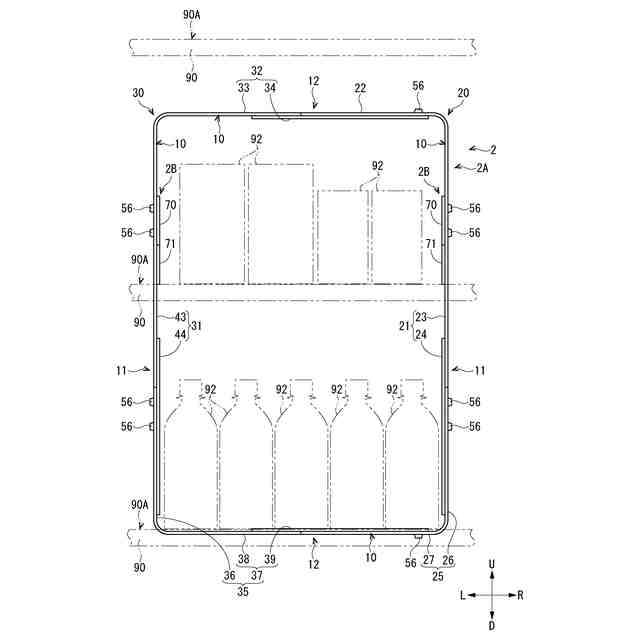
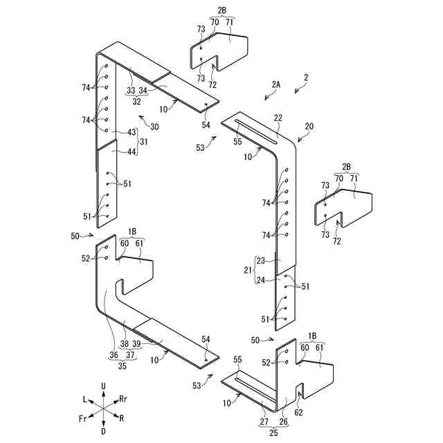
棚用装飾具1は、商品92を陳列する陳列棚90に取り付けられる。棚用装飾具1は、木端面10を前後両側に向けた帯状部材を、商品92の正面を囲むように周回させて筒状に形成される枠体1Aと、枠体1Aの左右両側から後方に延設され、左右方向に隣接する商品92の隙間に挿入可能に形成され、陳列棚90に取り付けられる一対の取付部1Bと、を備えている。枠体1Aは、上下方向と左右方向に分割されており、分割された枠体1Aを上下方向と左右方向に伸縮可能に連結する寸法変更部を有している。
【選択図】図1
特許請求の範囲
【請求項1】
商品(92)を陳列する陳列棚(90)に取り付けられる棚用装飾具(1,2)であって、
木端面(10)を前後両側に向けた帯状部材を、前記商品の正面を囲むように周回させて筒状に形成される枠体(1A,2A)と、
前記枠体の左右両側から後方に延設され、左右方向に隣接する前記商品の隙間に挿入可能に形成され、前記陳列棚に取り付けられる一対の取付部(1B,2B)と、を備えている棚用装飾具。
続きを表示(約 440 文字)
【請求項2】
前記枠体は、上下方向と左右方向の少なくとも一方向に分割されており、分割された前記枠体を上下方向と左右方向の少なくとも一方向に伸縮可能に連結する寸法変更部(50(51,52),57,53(54,55),58)を有していることを特徴とする請求項1に記載の棚用装飾具。
【請求項3】
前記取付部は、前記陳列棚の積載面(90A)に磁気的に吸着する永久磁石(64)を有していることを特徴とする請求項1または2に記載の棚用装飾具。
【請求項4】
前記枠体と前記取付部とは、透光性を有する材料で形成されていることを特徴とする請求項1または2に記載の棚用装飾具。
【請求項5】
前記枠体は、上下方向に間隔をあけて配置された複数段の前記陳列棚に亘る高さに形成され、
複数段の前記陳列棚の少なくとも1つの前記陳列棚に取り付けられる少なくとも一対の前記取付部が設けられていることを特徴とする請求項1または2に記載の棚用装飾具。
発明の詳細な説明
【技術分野】
【0001】
本発明は、陳列棚に取り付けられる棚用装飾具に関する。
続きを表示(約 1,300 文字)
【背景技術】
【0002】
商品陳列棚にセットされ、陳列商品の前面を囲む装飾枠を有する陳列商品装飾具が知られている(特許文献1)。装飾枠は、平板に矩形状の開口を形成し、正面から見て倒立したU字状の幅の広い枠状に形成されている。装飾枠は下側の第1枠部材と上側の第2枠部材とに分割されており、第1枠部材は第2枠部材にスライド可能に挿入されている。第2枠部材の上面には、陳列商品を置いた商品陳列棚よりも上段の商品陳列棚の下面に吸着する永久磁石が設けられている。第2枠部材は、永久磁石を介して上段の商品陳列棚の下面に固定される。
【先行技術文献】
【特許文献】
【0003】
実用新案登録第3214681号公報
【発明の概要】
【発明が解決しようとする課題】
【0004】
しかしながら、上記した陳列商品装飾具では、装飾枠が正面から見て幅広い(分厚い)額縁状に形成されているため、装飾枠の縦枠部分の裏側に商品を配置した場合、顧客は装飾枠の開口から縦枠部分の裏側にある商品を目視することが難しかった。すなわち、実質的に、装飾枠の縦枠部分の裏側は商品を陳列することのできないデッドスペースとなっており、本来、商品陳列棚に陳列可能な数量の商品を陳列することができなかった。また、上記した陳列商品装飾具では、装飾枠が幅広い額縁状であるため、商品陳列棚上に広く影ができて暗くなり、顧客にとって陳列商品が視認し難く、商品の訴求効果が低下する虞があった。
【0005】
本発明は、上記事情を考慮し、陳列棚上にデッドスペースができることを抑制し、陳列された商品の訴求効果を向上させることができる棚用装飾具を提供する。
【課題を解決するための手段】
【0006】
本発明は、商品を陳列する陳列棚に取り付けられる棚用装飾具であって、木端面を前後両側に向けた帯状部材を、前記商品の正面を囲むように周回させて筒状に形成される枠体と、前記枠体の左右両側から後方に延設され、左右方向に隣接する前記商品の隙間に挿入可能に形成され、前記陳列棚に取り付けられる一対の取付部と、を備えている。
【0007】
この場合、前記枠体は、上下方向と左右方向の少なくとも一方向に分割されており、分割された前記枠体を上下方向と左右方向の少なくとも一方向に伸縮可能に連結する寸法変更部を有しているとよい。
【0008】
この場合、前記取付部は、前記陳列棚の積載面に磁気的に吸着する永久磁石を有しているとよい。
【0009】
この場合、前記枠体と前記取付部とは、透光性を有する材料で形成されているとよい。
【0010】
この場合、前記枠体は、上下方向に間隔をあけて配置された複数段の前記陳列棚に亘る高さに形成され、複数段の前記陳列棚の少なくとも1つの前記陳列棚に取り付けられる少なくとも一対の前記取付部が設けられているとよい。
【発明の効果】
(【0011】以降は省略されています)
この特許をJ-PlatPat(特許庁公式サイト)で参照する
関連特許
レンゴー株式会社
包装箱
1か月前
レンゴー株式会社
棚用装飾具
4日前
レンゴー株式会社
包装箱、シート材
1か月前
レンゴー株式会社
微粒子分散剤兼凝集剤
1か月前
個人
箸
1か月前
個人
椅子
2か月前
個人
家具
4か月前
個人
掃除機
8か月前
個人
自助箸
7か月前
個人
枕
8か月前
個人
掃除用具
3か月前
個人
ソファー
2か月前
個人
枕
5か月前
個人
屋外用箒
7か月前
個人
多用途紐
1か月前
個人
体洗い具
10か月前
個人
耳拭き棒
11か月前
個人
ハンガー
7か月前
個人
掃除道具
8か月前
個人
物品
3か月前
個人
片手代替具
11か月前
個人
掃除シート
9か月前
個人
開閉トング
6か月前
個人
組立式棚板
7か月前
個人
省煙消臭器
8か月前
個人
エコ掃除機
12か月前
個人
バターナイフ
1か月前
個人
洗面台
10か月前
個人
転倒防止装置
5か月前
個人
ゴミ袋保持枠
7か月前
個人
受け皿
5か月前
個人
紙コップ 蓋
2か月前
個人
シャワー装置
6か月前
個人
経典表示装置
4か月前
個人
靴ベラ
2か月前
個人
中身のない枕
7か月前
続きを見る
他の特許を見る