TOP
|
特許
|
意匠
|
商標
特許ウォッチ
Twitter
他の特許を見る
10個以上の画像は省略されています。
公開番号
2025145992
公報種別
公開特許公報(A)
公開日
2025-10-03
出願番号
2024046542
出願日
2024-03-22
発明の名称
包装箱
出願人
レンゴー株式会社
代理人
個人
,
個人
主分類
B65D
5/02 20060101AFI20250926BHJP(運搬;包装;貯蔵;薄板状または線条材料の取扱い)
要約
【課題】十角形状の開口部を容易に閉塞することができる包装箱を提供する。
【解決手段】
包装箱1は筒体2の十角形状の開口部を閉塞する底面蓋部3を備え、筒体2は2組の第1~第5側壁で形成され、底面蓋部3は一対の蓋本体片22と一対の蓋係止片24とを有し、一対の蓋本体片22の先端側には一対の噛合凹部が凹設されると共に一対の幅広凸部と一対の幅狭凸部とが相対的に突設され、一対の蓋係止片24の先端側には一対の差込凸部33が互いに逆向きに突設され、底面蓋部3を形成する場合、一対の蓋本体片22が互いの噛合凹部を噛み合わせる際、一方(他方)の幅狭凸部は他方(一方)の蓋本体片22上に重なり、互いの噛合凹部の範囲内に互いに逆向きに一対の差込溝36が開口し、一方(他方)の蓋係止片24は、他方(一方)の幅狭凸部を押さえ、一方(他方)の差込凸部33は、一方(他方)の蓋本体片22側に開口した差込溝36に差し込まれる。
【選択図】図9
特許請求の範囲
【請求項1】
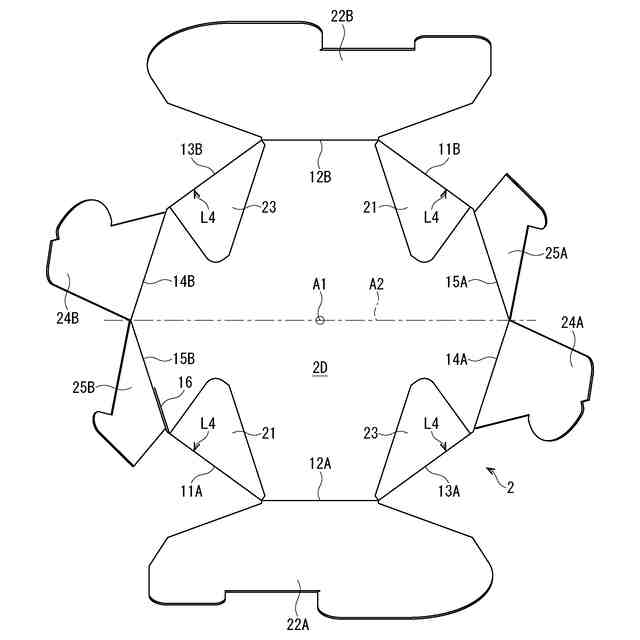
軸方向の一端に十角形状の開口部(2D)を有する筒体(2)と、前記開口部を閉塞する十角形状の蓋部(3)と、を備えた包装箱(1)であって、
前記筒体は、一対の第1側壁(11)、一対の第2側壁(12)、一対の第3側壁(13)、一対の第4側壁(14)および一対の第5側壁(15)を、それぞれ前記筒体の軸心(A1)を挟んで対向させた状態で前記軸心を中心とした周回方向に連ねることで形成され、
前記蓋部は、
一対の前記第2側壁の前記軸方向の一端に連設され、前記軸心を中心にした点対称となる形状であり、互いに先端側を噛み合わせて前記開口部の全体を閉じる一対の前記蓋本体片(22)と、
一対の前記第4側壁の前記軸方向の一端に連設され、前記軸心を中心にした点対称となる形状であり、互いに先端側を重ね合わせることなく前記蓋本体片の表面上に配置される一対の蓋係止片(24)と、を有し、
一対の前記蓋本体片の先端側には、前記蓋部を形成した状態で、前記軸心から互いに離れた位置までの間に一対の噛合凹部(30)が凹設されると共に、前記軸心側で前記噛合凹部に隣接する一対の幅広凸部(31)と前記軸心から離れた位置で前記噛合凹部に隣接する一対の幅狭凸部(32)とが相対的に突設され、
一対の前記蓋係止片の先端側には、前記蓋部を形成した状態で、前記第2側壁と平行かつ前記軸心を通る中心線(A2)を越えるように一対の差込凸部(33)が互いに逆向きに突設され、
前記蓋部を形成する場合、
一対の前記蓋本体片が内向きに折り曲げられて互いの前記噛合凹部を前記軸心の付近で噛み合わせる際、一方の前記幅狭凸部は他方の前記蓋本体片の表面に重なり、他方の前記幅狭凸部は一方の前記蓋本体片の表面に重なり、
この状態で、互いの前記噛合凹部の範囲内において、一方の前記蓋本体片の前記先端側を除く部位は、他方の前記幅広凸部の表面との間に他方の前記蓋本体片側を開口させた差込溝(36)を形成し、他方の前記蓋本体片の前記先端側を除く部位は、一方の前記幅広凸部の表面との間に一方の前記蓋本体片側を開口させた差込溝(36)を形成し、
一方の前記蓋係止片は、他方の前記幅狭凸部を押さえるように内向きに折り曲げられ、一方の前記差込凸部は、一方の前記蓋本体片側に開口した前記差込溝に差し込まれ、他方の前記蓋係止片は、一方の前記幅狭凸部を押さえるように内向きに折り曲げられ、他方の前記差込凸部は、他方の前記蓋本体片側に開口した前記差込溝に差し込まれることを特徴とする包装箱。
続きを表示(約 1,800 文字)
【請求項2】
前記幅狭凸部の突出量(P2)は、前記幅広凸部の突出量(P1)よりも小さいことを特徴とする請求項1に記載の包装箱。
【請求項3】
前記蓋部は、一対の前記第5側壁の前記軸方向の一端に連設され、前記軸心を中心にした点対称となる形状であり、噛み合わされた一対の前記蓋本体片の表面に重ねられる一対の蓋挟持片(25)を更に有し、
前記蓋挟持片の先端側には、前記蓋部を形成した状態で、前記軸心に接近する向きに案内凸部(34)が突設され、
前記蓋部を形成する場合、
一対の前記蓋本体片を折り曲げた後、一方の前記蓋挟持片は、他方の前記幅狭凸部に重なるように内向きに折り曲げられ、一方の前記案内凸部は、他方の前記幅狭凸部から前記軸心側に突出し、前記差込溝の開口に沿うように一方の前記蓋本体片の表面に重ねられ、他方の前記蓋挟持片は、一方の前記幅狭凸部に重なるように内向きに折り曲げられ、他方の前記案内凸部は、一方の前記幅狭凸部から前記軸心側に突出し、前記差込溝の開口に沿うように他方の前記蓋本体片の表面に重ねられ、
一方の前記蓋係止片は、一方の前記蓋挟持片を挟んで他方の前記幅狭凸部を押さえ、他方の前記蓋係止片は、他方の前記蓋挟持片を挟んで一方の前記幅狭凸部を押さえることを特徴とする請求項1または2に記載の包装箱。
【請求項4】
前記蓋部は、
一対の前記第1側壁の前記軸方向の一端に連設され、前記軸心を中心にした点対称となる形状である一対の第1内片(21)と、
一対の前記第3側壁の前記軸方向の一端に連設され、前記軸心を中心にした点対称となる形状である一対の第2内片(23)と、を更に有し、
前記蓋部を形成する場合、一対の前記蓋本体片の折り曲げに先立ち、一対の前記第1内片および一対の前記第2内片は、それぞれ内向きに折り曲げられることを特徴とする請求項3に記載の包装箱。
【請求項5】
前記筒体は、互いに隣接する前記第2内片と前記蓋係止片との間に対応する位置で前記軸方向と平行に形成された境界線(L1,L6)に沿って折り畳まれ、
互いに隣接する前記第2内片と前記蓋係止片とは、前記境界線を前記軸方向に延長した仮想線(V)を跨がないように形成されていることを特徴とする請求項4に記載の包装箱。
【請求項6】
前記軸方向の他端となる前記筒体の上端に開口した星形状の天面開口部(2U)を閉塞する天面蓋部(4)を更に備え、
2組の前記第1~第5側壁(11~15)は、10本の折線(L1,L2)を介して前記周回方向に連設され、
10本の前記折線は、
前記筒体の前記軸方向と平行に延びる5本の垂直折線(L1)と、
前記垂直折線の上端から下方に向かって前記周回方向の一方に傾斜しながら延びる5本の傾斜折線(L2)と、で構成され、
5本の前記垂直折線と5本の前記傾斜折線とは、前記周回方向に交互に並設され、
一方の前記第1側壁(11A)、一方の前記第3側壁(13A)、一方の前記第5側壁(15A)、他方の前記第2側壁(12B)および他方の前記第4側壁(14B)は、それぞれ、前記垂直折線と自身の下縁との成す角度が直角で、前記傾斜折線を斜辺とした直角三角形状に形成される凸面壁(17)を構成し、
一方の前記第2側壁(12A)、一方の前記第4側壁(14A)、他方の前記第1側壁(11B)、他方の前記第3側壁(13B)および他方の前記第5側壁(15B)は、それぞれ、隣り合う一対の前記垂直折線の上端から互いに接近するように斜め上方に延びた前記天面蓋部との境界としての一対の天面折曲線(L5)と、前記垂直折線と、前記傾斜折線と、自身の下縁とで五角形状に形成される凹面壁(18)を構成し、
前記凹面壁には、前記垂直折線の下端から一対の前記天面折曲線の交点までの間に前記傾斜折線と同一方向に傾斜する補助折線(L3)が形成され、
5つの前記凸面壁および5つの前記凹面壁が、それぞれ前記垂直折線および前記傾斜折線に沿って正折りされ、且つ5つの前記凹面壁が、それぞれ前記補助折線に沿って逆折りされることで、前記天面開口部が形成されることを特徴とする請求項1または2に記載の包装箱。
発明の詳細な説明
【技術分野】
【0001】
本発明は、包装箱に関する。
続きを表示(約 2,700 文字)
【背景技術】
【0002】
八角柱状の筒体を含む包装用容器が知られている(特許文献1)。この包装用容器では、筒体の八角形状の開口部を閉じる1枚の蓋が、開口部と同じ大きさの八角形に形成されている。他にも、概ね六角柱状の筒体を含む紙製容器が知られている(特許文献2)。この紙製容器では、筒体の六角形状の開口部を閉じる底面部が、いわゆる地獄底とされている。この底面部は、一般的な直方体状の紙箱で広く採用されている地獄底と同様の技術思想で構成されている。
【先行技術文献】
【特許文献】
【0003】
実用新案登録第3225031号公報
特開2020-66464号公報
【発明の概要】
【発明が解決しようとする課題】
【0004】
六角柱や八角柱よりも更に円柱(円筒)に近い十角柱状の箱が求められることがある。この際、十角形状の開口部を閉じる蓋部が、1枚の板で形成されたり、周知の地獄底を模して形成されたりすることは、実用的ではないことがあった。例えば、十角形を構成する一辺は六角形や八角形を構成する一辺よりも短くなるため、十角形の一辺に連設した1枚の蓋部は筒体から千切れやすくなるという問題があった。また、六角柱状の筒体では、軸心を挟んで対向する一対の面(辺)を固定すれば、他の4つの面(辺)の位置が定まるため、周知の地獄底を模した構造であっても、周知の地獄底と略同一の手順で開口部を閉塞することが容易である。しかし、十角柱状の筒体では、軸心を挟んで対向する一対の面(辺)を固定しても、他の8つの面(辺)の位置が定まらないため、周知の地獄底を模した構造では、周知の地獄底と略同一の手順で開口部を閉塞することが困難になることがあった。
【0005】
本発明は、上記事情を考慮し、十角形状の開口部を容易に閉塞することができる包装箱を提供する。
【課題を解決するための手段】
【0006】
本発明は、軸方向の一端に十角形状の開口部を有する筒体と、前記開口部を閉塞する十角形状の蓋部と、を備えた包装箱であって、前記筒体は、一対の第1側壁、一対の第2側壁、一対の第3側壁、一対の第4側壁および一対の第5側壁を、それぞれ前記筒体の軸心を挟んで対向させた状態で前記軸心を中心とした周回方向に連ねることで形成され、前記蓋部は、一対の前記第2側壁の前記軸方向の一端に連設され、前記軸心を中心にした点対称となる形状であり、互いに先端側を噛み合わせて前記開口部の全体を閉じる一対の前記蓋本体片と、一対の前記第4側壁の前記軸方向の一端に連設され、前記軸心を中心にした点対称となる形状であり、互いに先端側を重ね合わせることなく前記蓋本体片の表面上に配置される一対の蓋係止片と、を有し、一対の前記蓋本体片の先端側には、前記蓋部を形成した状態で、前記軸心から互いに離れた位置までの間に一対の噛合凹部が凹設されると共に、前記軸心側で前記噛合凹部に隣接する一対の幅広凸部と前記軸心から離れた位置で前記噛合凹部に隣接する一対の幅狭凸部とが相対的に突設され、一対の前記蓋係止片の先端側には、前記蓋部を形成した状態で、前記第2側壁と平行かつ前記軸心を通る中心線を越えるように一対の差込凸部が互いに逆向きに突設され、前記蓋部を形成する場合、一対の前記蓋本体片が内向きに折り曲げられて互いの前記噛合凹部を前記軸心の付近で噛み合わせる際、一方の前記幅狭凸部は他方の前記蓋本体片の表面に重なり、他方の前記幅狭凸部は一方の前記蓋本体片の表面に重なり、この状態で、互いの前記噛合凹部の範囲内において、一方の前記蓋本体片の前記先端側を除く部位は、他方の前記幅広凸部の表面との間に他方の前記蓋本体片側を開口させた差込溝を形成し、他方の前記蓋本体片の前記先端側を除く部位は、一方の前記幅広凸部の表面との間に一方の前記蓋本体片側を開口させた差込溝を形成し、一方の前記蓋係止片は、他方の前記幅狭凸部を押さえるように内向きに折り曲げられ、一方の前記差込凸部は、一方の前記蓋本体片側に開口した前記差込溝に差し込まれ、他方の前記蓋係止片は、一方の前記幅狭凸部を押さえるように内向きに折り曲げられ、他方の前記差込凸部は、他方の前記蓋本体片側に開口した前記差込溝に差し込まれる。
【0007】
この場合、前記幅狭凸部の突出量は、前記幅広凸部の突出量よりも小さいとよい。
【0008】
この場合、前記蓋部は、一対の前記第5側壁の前記軸方向の一端に連設され、前記軸心を中心にした点対称となる形状であり、噛み合わされた一対の前記蓋本体片の表面に重ねられる一対の蓋挟持片を更に有し、前記蓋挟持片の先端側には、前記蓋部を形成した状態で、前記軸心に接近する向きに案内凸部が突設され、前記蓋部を形成する場合、一対の前記蓋本体片を折り曲げた後、一方の前記蓋挟持片は、他方の前記幅狭凸部に重なるように内向きに折り曲げられ、一方の前記案内凸部は、他方の前記幅狭凸部から前記軸心側に突出し、前記差込溝の開口に沿うように一方の前記蓋本体片の表面に重ねられ、他方の前記蓋挟持片は、一方の前記幅狭凸部に重なるように内向きに折り曲げられ、他方の前記案内凸部は、一方の前記幅狭凸部から前記軸心側に突出し、前記差込溝の開口に沿うように他方の前記蓋本体片の表面に重ねられ、一方の前記蓋係止片は、一方の前記蓋挟持片を挟んで他方の前記幅狭凸部を押さえ、他方の前記蓋係止片は、他方の前記蓋挟持片を挟んで一方の前記幅狭凸部を押さえるとよい。
【0009】
この場合、前記蓋部は、一対の前記第1側壁の前記軸方向の一端に連設され、前記軸心を中心にした点対称となる形状である一対の第1内片と、一対の前記第3側壁の前記軸方向の一端に連設され、前記軸心を中心にした点対称となる形状である一対の第2内片と、を更に有し、前記蓋部を形成する場合、一対の前記蓋本体片の折り曲げに先立ち、一対の前記第1内片および一対の前記第2内片は、それぞれ内向きに折り曲げられるとよい。
【0010】
この場合、前記筒体は、互いに隣接する前記第2内片と前記蓋係止片との間に対応する位置で前記軸方向と平行に形成された境界線に沿って折り畳まれ、互いに隣接する前記第2内片と前記蓋係止片とは、前記境界線を前記軸方向に延長した仮想線を跨がないように形成されているとよい。
(【0011】以降は省略されています)
この特許をJ-PlatPat(特許庁公式サイト)で参照する
関連特許
レンゴー株式会社
包装箱
11日前
レンゴー株式会社
ストロー装飾体
12日前
レンゴー株式会社
包装箱、シート材
7日前
レンゴー株式会社
仮留め構造、包装箱
15日前
レンゴー株式会社
微粒子分散剤兼凝集剤
4日前
レンゴー株式会社
古紙パルプ中の異物検知方法
1か月前
個人
収容箱
3か月前
個人
ゴミ箱
12か月前
個人
コンベア
4か月前
個人
ゴミ収集器
6か月前
個人
容器
9か月前
個人
段ボール箱
6か月前
個人
段ボール箱
6か月前
個人
角筒状構造体
5か月前
個人
楽ちんハンド
4か月前
個人
バンド
1か月前
個人
宅配システム
6か月前
個人
土嚢運搬器具
8か月前
個人
パウチ補助具
11か月前
個人
閉塞装置
9か月前
個人
廃棄物収容容器
2か月前
個人
お薬の締結装置
5か月前
個人
コード類収納具
7か月前
個人
包装容器
25日前
株式会社バンダイ
物品
6日前
個人
把手付米袋
4か月前
株式会社和気
包装用箱
8か月前
個人
積み重ね用補助具
2か月前
個人
貯蔵サイロ
6か月前
株式会社コロナ
梱包材
5か月前
個人
蓋閉止構造
3か月前
個人
蓋閉止構造
3か月前
個人
ゴミ処理機
8か月前
個人
介護用コップ
1か月前
株式会社新弘
容器
12か月前
株式会社新弘
容器
12か月前
続きを見る
他の特許を見る