TOP
|
特許
|
意匠
|
商標
特許ウォッチ
Twitter
他の特許を見る
10個以上の画像は省略されています。
公開番号
2025168817
公報種別
公開特許公報(A)
公開日
2025-11-12
出願番号
2024073595
出願日
2024-04-30
発明の名称
内視鏡用色調整治具
出願人
富士フイルム株式会社
代理人
弁理士法人小林国際特許事務所
主分類
A61B
1/06 20060101AFI20251105BHJP(医学または獣医学;衛生学)
要約
【課題】本発明は、複数種類の外径種、又は、斜視角に対応させつつ、且つ、小型化された内視鏡用色調整治具を提供する。
【解決手段】挿入部11は、内視鏡14の先端部を挿入する挿入孔11a、11bを備える。挿入孔11a、11bは、X方向から見た場合に、特定平面PL上に存在し、且つ、Y方向から見た場合に、挿入孔の11a、11bの向きは、蓋部12の内面PNに対して、傾きを有する。蓋部12は、内面PNにおいて、内視鏡14の外径種の数と斜視角の種類の数とを掛け合わせた値よりも少ない枚数のマーク15を備える。
【選択図】図7
特許請求の範囲
【請求項1】
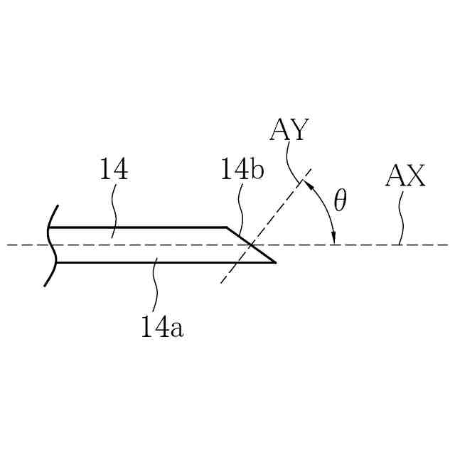
内視鏡の先端部を挿入する複数の挿入孔を備え、前記内視鏡の外径種に応じてそれぞれに前記挿入孔が設けられる挿入部と、
前記先端部の挿入方向において、前記挿入部と対向して配置される蓋部と、
前記挿入部及び前記蓋部と接することにより、これらと内部空間を形成する外周部とを備え、
前記蓋部は、前記内部空間に面する内面において、内視鏡の外径種の数と斜視角の種類の数とを掛け合わせた値よりも少ない枚数のマークを備え、
前記挿入部は、第1方向から見た場合に、前記複数の挿入孔は特定平面上に存在し、且つ、第2方向から見た場合に、少なくとも1つの挿入孔の向きが、前記蓋部の内面に対して、傾きを有する内視鏡用色調整治具。
続きを表示(約 670 文字)
【請求項2】
前記内視鏡の外径種の数が4以下の場合には、前記マークの枚数は、前記斜視角の種類の数と同じ又は前記斜視角の種類の数よりも少ない請求項1記載の内視鏡用色調整治具。
【請求項3】
前記内視鏡の外径種の数が2の場合は、前記マークの枚数は2である請求項2記載の内視鏡用色調整治具。
【請求項4】
前記内視鏡の斜視角の種類が3の場合、前記マークの枚数は3枚又は2枚である請求項2記載の内視鏡用色調整治具。
【請求項5】
前記内視鏡の外径種の数が5~12の場合には、前記マークの数は、前記斜視角の種類の数よりも大きい請求項1記載の内視鏡用色調整治具。
【請求項6】
前記斜視角の種類の数が2の場合には、前記マークの数は3である請求項5記載の内視鏡用色調整治具。
【請求項7】
前記斜視角の種類の数が3の場合には、前記マークの数は4である請求項5記載の内視鏡用色調整治具。
【請求項8】
前記特定平面は前記蓋部の中心軸に沿っている請求項1から7いずれか1項記載の内視鏡用色調整治具。
【請求項9】
前記特定平面は前記蓋部の中心軸から外れており、前記内視鏡で前記マークを撮影して得られる画像の外周形状が、前記内視鏡の外径種によって異なっている請求項1から7いずれか1項記載の内視鏡用色調整治具。
【請求項10】
前記蓋部と前記外周部とは、分離可能に連結する請求項1から7のいずれか1項に記載の内視鏡用色調整治具。
発明の詳細な説明
【技術分野】
【0001】
本発明は、内視鏡の複数種類の外径種又は斜視角に対応する内視鏡用色調整治具に関する。
続きを表示(約 1,600 文字)
【背景技術】
【0002】
医療分野においては、内視鏡を用いて、体内の観察、内視鏡下外科手術等が行われている。内視鏡には、観察対象を撮影するための撮像素子をはじめ、撮影により画像を生成するための各種の電子部品等が用いられる。これらの部品等については、個体差、経年劣化等を有するものがあり、そのままでは適切な画像が得られない場合がある。また、観察対象を撮影するために用いられる光源にも、個体差、経年劣化等が生じる場合がある。これらを解消して適切な画像を得るために、内視鏡に対してホワイトバランスなどの色調整処理が行われる。
【0003】
ホワイトバランスの調整に際しては、例えば、内視鏡下外科手術に用いられる硬性鏡等では、白色の滅菌ガーゼを撮影することにより行われる場合がある。また、内視鏡の先端部に白色のキャップを備えることにより行われる方法が知られている(特許文献1及び特許文献2)。また、キャップ状のホワイトバランス調整具を用いて行われることが知られている(特許文献3)。
【先行技術文献】
【特許文献】
【0004】
特開2020-032201号公報
特開2010-200880号公報
特開平05-076483号公報
【発明の概要】
【発明が解決しようとする課題】
【0005】
近年の医療分野においては、多種多様な種類の内視鏡が用いられつつある。例えば、内視鏡の先端部の外径種が、細径、太径など複数種類あるものや、斜視角が、直視、斜視のように複数種類あるものが用いられている。このような複数種類の外径種、又は、斜視角に対応させつつ、且つ、実際の使用現場で使い易いように、小型化された内視鏡用色調整治具が求められていた。
【0006】
本発明は、複数種類の外径種、又は、斜視角に対応させつつ、且つ、小型化された内視鏡用色調整治具を提供することを目的とする。
【課題を解決するための手段】
【0007】
本発明の内視鏡用色調整治具は、内視鏡の先端部を挿入する複数の挿入孔を備え、内視鏡の外径種に応じてそれぞれに前記挿入孔が設けられ、第1方向から見た場合に、複数の挿入孔は特定平面上に存在し、且つ、第2方向から見た場合に、少なくとも1つの挿入孔の向きが、蓋部の内面に対して、傾きを有する挿入部と、先端部の挿入方向において、挿入部と対向して配置される蓋部と、挿入部及び蓋部と接することにより、これらと内部空間を形成する外周部とを備え、蓋部は、内部空間に面する内面において、内視鏡の外径種の数と斜視角の種類の数とを掛け合わせた値よりも少ない枚数のマークを備える。
【0008】
内視鏡の外径種の数が4以下の場合には、マークの枚数は、斜視角の種類の数と同じ又は斜視角の種類の数よりも少ないことが好ましい。内視鏡の外径種の数が2の場合は、マークの枚数は2であることが好ましい。内視鏡の斜視角の種類が3の場合、マークの枚数は3枚又は2枚であることが好ましい。
【0009】
内視鏡の外径種の数が5~12の場合には、マークの数は、斜視角の種類の数よりも大きいことが好ましい。斜視角の種類の数が2の場合には、マークの数は3であることが好ましい。斜視角の種類の数が3の場合には、マークの数は4であることが好ましい。
【0010】
特定平面は蓋部の中心軸に沿っていることが好ましい。特定平面は蓋部の中心軸から外れており、内視鏡でマークを撮影して得られる画像の外周形状が、内視鏡の外径種によって異なっていることが好ましい。蓋部と外周部とは、分離可能に連結することが好ましい。
【発明の効果】
(【0011】以降は省略されています)
この特許をJ-PlatPat(特許庁公式サイト)で参照する
関連特許
個人
貼付剤
21日前
個人
簡易担架
3日前
個人
足踏み器具
10日前
個人
腋臭防止剤
3日前
個人
排尿補助器具
1か月前
個人
汚れ防止シート
1か月前
個人
胸骨圧迫補助具
2か月前
個人
ウォート指圧法
1か月前
個人
腰ベルト
24日前
個人
排尿排便補助器具
5日前
個人
美容セット
12日前
個人
治療用酸化防御装置
2か月前
株式会社コーセー
化粧料
1か月前
個人
精力増強キット
1か月前
株式会社ニデック
眼科装置
1か月前
株式会社ニデック
眼科装置
2か月前
個人
こむら返り応急治し具
10日前
株式会社ニデック
眼科装置
2か月前
株式会社ダリヤ
毛髪化粧料
1か月前
オンキヨー株式会社
電子機器
18日前
株式会社東洋新薬
皮膚外用剤
1か月前
株式会社東洋新薬
皮膚外用剤
1か月前
株式会社いうら
入浴用車椅子
10日前
株式会社成和化成
毛髪化粧料
7日前
株式会社成和化成
毛髪化粧料
7日前
花王株式会社
放散装置
2か月前
株式会社マンダム
乳化化粧料
1か月前
株式会社ノエビア
皮膚外用剤
1か月前
オンキヨー株式会社
電子機器
18日前
株式会社ノエビア
毛髪化粧料
27日前
株式会社メルコ
毛髪質改善剤
2か月前
個人
放射線治療用固定具
1か月前
個人
腹圧アシストベルト
1か月前
株式会社マックス
皮膚用化粧料
1か月前
株式会社モルテン
移乗支援装置
1か月前
個人
アレルゲンブロックジェル
24日前
続きを見る
他の特許を見る