TOP
|
特許
|
意匠
|
商標
特許ウォッチ
Twitter
他の特許を見る
公開番号
2025141303
公報種別
公開特許公報(A)
公開日
2025-09-29
出願番号
2024041177
出願日
2024-03-15
発明の名称
腹圧アシストベルト
出願人
個人
代理人
個人
主分類
A61F
5/03 20060101AFI20250919BHJP(医学または獣医学;衛生学)
要約
【課題】シンプルで安価な構成で持ち上げ動作時の腹圧を高め腰部への負荷を軽減することができる腹圧アシストベルトを提供する。
【解決手段】本発明に係る腹圧アシストベルト1は、腰回りに装着されるベルト本体2と、ベルト本体2に内装した空気袋6,(7,8,9)と、ベルト本体2に配設され空気袋6への空気の出し入れを行なう空気送出部18と、ベルト本体2の傾きに対応して空気の送出を制御する制御部19と、からなることを特徴とする。
【選択図】図3
特許請求の範囲
【請求項1】
腰回りに装着されるベルト本体と、
前記ベルト本体に内装した空気袋と、
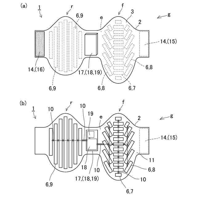
前記ベルト本体に配設され前記空気袋への空気の出し入れを行なう空気送出部と、
前記ベルト本体の傾きに対応して前記空気の送出を制御する制御部と、からなることを特徴とする腹圧アシストベルト。
続きを表示(約 530 文字)
【請求項2】
前記ベルト本体は、装着時の前側又は、前記前側及び後側において上下に湾曲凸状に形成したことを特徴とする請求項1に記載の腹圧アシストベルト。
【請求項3】
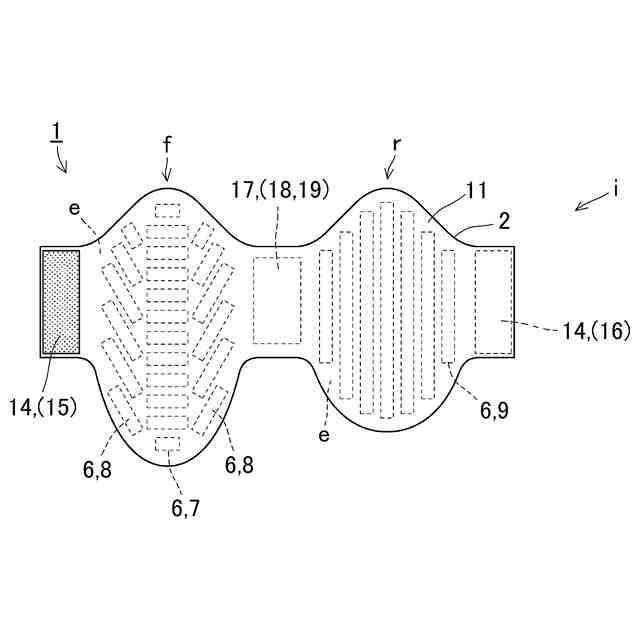
前記ベルト本体の前記前側に内装される前記空気袋は、中央部において水平方向に伸延した帯状の水平空気袋を垂直方向に隣接して複数配設すると共に、前記中央部の両側において外方に拡開して傾斜状に配設した帯状の傾斜空気袋を垂直方向に隣接して複数配設したことを特徴とする請求項2に記載の腹圧アシストベルト。
【請求項4】
前記ベルト本体の前記後側に内装される前記空気袋は、垂直方向に伸延した帯状の垂直空気袋を水平方向に隣接して複数配設したことを特徴とする請求項3に記載の腹圧アシストベルト。
【請求項5】
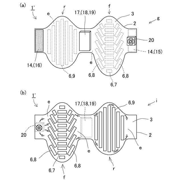
前記ベルト本体は、前記空気袋を前後から囲繞し略密閉する前シート部と後シート部と、からなる内部空間を有し、前記内部空間内に送風用の空気を送出する送風部を配設すると共に、前記後シート部に前記内部空間と貫通した空気孔を複数穿設することでベルト装着者に向けて送風自在に形成したことを特徴とする請求項1乃至4の何れか1項に記載の腹圧アシストベルト。
発明の詳細な説明
【技術分野】
【0001】
本発明は、持ち上げ動作時の腰部への負荷を軽減する腹圧アシストベルトに関する。
続きを表示(約 1,500 文字)
【背景技術】
【0002】
従来、特に介護業界や運送業界等においては、下方に位置する人や物を持ち上げて移動させる等のために股・膝関節を屈曲させつつ腰椎も屈曲させ、その後、股・膝関節を伸展して対象となるものを持ち上げるような動作が日々行われている。
【0003】
しかしながら、腰部が屈曲した状態で人や物を持ち上げる際に内腹斜筋等の腹筋群の活動によって脊椎周囲の安定化を図ろうとするものの、腹圧が低いと腰部に過大な負荷がかかり腰痛の原因となってしまう。
【0004】
従って、介護業界や運送業界等における持ち上げ動作時の腰部への負荷の軽減が望まれており、介護の現場においては、人的作業ではなく機械式のリフトやスタンディングマシーン等を採用することや、運送業界等においては単純に腹部を締付けて腹圧を高めるようなベルトを装着して作業を行なっている例も多い。
【0005】
しかしながら、リフトやスタンディングマシーン等は導入コストの問題や使用する部屋の広さ等がネックになり、自宅における個人的な介護や小規模な施設等ではこれらを導入することは難しく、また、腹部を締付けて腹圧を高めるようなベルトは常時締付けられてしまうため物を持ち上げない作業時には逆に作業性が悪く、しかし、持ち上げ作業の度に装着するのも煩雑であるというような問題を有していた。
【0006】
このような、問題に対して、例えば、特許文献1に記載の補助用具に係る技術は、使用者の所定の部位の筋力を補助する補助用具であって、所定の部位の周りに取り付けられる本体と、本体に取り付けられ、本体が使用者の部位に取り付けられた状態で、部位への締め付け力を発生するアクチュエータと、部位への締め付け力を調整する制御部とを備えるものである。
【0007】
本技術により、コルセットを締め付けるベルト等を操作することなく腰部への締め付け力が自動制御されるので、コルセットを衣服の下に装着していても衣服を捲りあげてコルセットを締め付ける操作をしなくてもよいとされている。
【0008】
また、特許文献2に記載の動作補助スーツに係る技術は、使用者の上半身に装着される衣服と、衣服に一体に結合され、背面側から正面側に亘って配設されるベルトと、衣服の背面側に上下方向に沿って配置され、空気の供給により縮まってベルトを引く人工筋肉部と、衣服の背面側に設けられ、人工筋肉部の上端部とベルトとを連結し、または連結を解除する第1連結部と、衣服の背面側で第1連結部より下方に設けられ、人工筋肉部の下端部に連結し、または連結を解除する第2連結部と、人工筋肉部に接続され、人工筋肉部に供給する空気を貯めるエアタンクと、人工筋肉部の下端部およびエアタンクを接続する接続路に設けられ、エアタンクからの空気の供給および人工筋肉部の排気を制御する制御部と、制御部に指示信号を送るスイッチと、を備え、人工筋肉部は、第1連結部および第2連結部の連結を解除することで衣服から取り外し可能であるというものである。
【0009】
また、本技術により、人工筋肉部を用いて駆動力を確保しつつ、使用者の動きやすさを向上させることができるとされている。
【先行技術文献】
【特許文献】
【0010】
特開2014-133121号公報
特開2017-148488号公報
【発明の概要】
【発明が解決しようとする課題】
(【0011】以降は省略されています)
この特許をJ-PlatPat(特許庁公式サイト)で参照する
関連特許
個人
短下肢装具
2か月前
個人
排尿補助器具
今日
個人
白内障治療法
7か月前
個人
嚥下鍛錬装置
3か月前
個人
前腕誘導装置
2か月前
個人
洗井間専家。
6か月前
個人
アイマスク装置
1か月前
個人
バッグ式オムツ
3か月前
個人
胸骨圧迫補助具
1か月前
個人
汚れ防止シート
15日前
個人
歯の修復用材料
3か月前
個人
矯正椅子
4か月前
個人
ホバーアイロン
6か月前
個人
車椅子持ち上げ器
7か月前
個人
歯の保護用シール
4か月前
三生医薬株式会社
錠剤
7か月前
個人
シャンプー
5か月前
個人
哺乳瓶冷まし容器
2か月前
個人
陣痛緩和具
3か月前
個人
湿布連続貼り機。
1か月前
個人
治療用酸化防御装置
1か月前
株式会社大野
骨壷
3か月前
個人
服薬支援装置
6か月前
株式会社結心
手袋
7か月前
個人
性行為補助具
2か月前
株式会社八光
剥離吸引管
4か月前
個人
エア誘導コルセット
1か月前
株式会社ニデック
眼科装置
27日前
株式会社ニデック
眼科装置
3か月前
株式会社松風
口腔用組成物
3か月前
株式会社GSユアサ
歩行器
4か月前
個人
精力増強キット
19日前
個人
高気圧環境装置
4か月前
株式会社ダリヤ
毛髪化粧料
25日前
株式会社ニデック
眼科装置
4日前
個人
シリンダ式歩行補助具
2か月前
続きを見る
他の特許を見る