TOP
|
特許
|
意匠
|
商標
特許ウォッチ
Twitter
他の特許を見る
公開番号
2025168660
公報種別
公開特許公報(A)
公開日
2025-11-11
出願番号
2025072165
出願日
2025-04-24
発明の名称
高電圧DC電源における負荷のキャパシタンス又はインピーダンスの測定
出願人
スペルマン ハイボルテージ エレクトロニクス コーポレーション
,
Spellman High-Voltage Electronics Corporation
代理人
弁理士法人岡田国際特許事務所
主分類
G01R
27/02 20060101AFI20251104BHJP(測定;試験)
要約
【課題】接続された負荷のインピーダンス又はキャパシタンスをモニタリングできる電源を提供する。
【解決手段】電源であって、電源に接続された負荷を流れる振動電流を測定する電流センサと、負荷の両端の振動電圧を測定する電圧センサと、正弦波発振器によって発生させられた正弦波電圧を出力するソースコンダクタと、を含んでいる。マイクロコントローラが、電流センサ、電圧センサ及びソースコンダクタと結合されている。マイクロコントローラは、3つのセンサから導出されたデジタルデータを用いて負荷のインピーダンス又はキャパシタンスを計算する。
【選択図】図4
特許請求の範囲
【請求項1】
電源であって、
前記電源に接続された負荷のインピーダンス又はキャパシタンスをモニタリングすることが可能であり、
前記電源は、
前記負荷と接続可能な第1端子と、
第1端子と第2端子との間に直流(DC)高電圧を発生するように適合された発電機であって、前記発電機の第1端子が前記電源の第1端子と接続され、前記発電機の第2端子がアースに接続された、発電機と、
モニタリング部と、
を有し、
前記モニタリング部は、
第1端子と第2端子との間に振動電流を流すように適合されたインジェクト回路であって、前記インジェクト回路の第1端子が前記電源の第1端子に接続され、前記インジェクト回路の第2端子がアースに接続され或いは前記電源の第2端子に接続された、インジェクト回路と、
第1端子と第2端子との間に振動電圧を発生させるように適合されたブースト回路であって、前記ブースト回路の第1端子が前記発電機の第1端子に接続され、前記ブースト回路の第2端子が前記電源の第1端子に接続された、ブースト回路と、
所定周波数にて正弦波電圧を発生させるように適合された正弦波発振器であって、前記インジェクト回路及び前記ブースト回路の一方に結合された端子を有する、正弦波発振器と、
前記振動電流を示す第1交流信号を発生させるように適合された電流センサであって、前記ブースト回路と前記電源の第1端子との間に直列に接続された一次コイル、及び反転又は非反転オペアンプの入力に接続された二次コイルを備える変圧器を有する、電流センサと、
前記振動電圧を示す第2交流信号を発生させるように適合された電圧センサと、
前記正弦波電圧を示す第3交流信号を出力するように適合されたソースコンダクタと、
前記第1交流信号、前記第2交流信号及び前記第3交流信号と結合されたマイクロコントローラであって、前記第1交流信号、前記第2交流信号及び前記第3交流信号から導出されたデジタルデータを用いて前記負荷のインピーダンス又はキャパシタンスを演算するように適合されたマイクロコントローラと、を有する、
電源。
続きを表示(約 2,900 文字)
【請求項2】
請求項1に記載の電源であって、
前記インジェクト回路は、
前記電源の第1端子と接続された1つのリード線を有するカップリングキャパシタを含み、
前記正弦波発振器は、
前記カップリングキャパシタの他のリード線と接続された第1端子と、アースに接続され或いは前記電源の第2端子と接続された第2端子と、を有し、
前記ブースト回路は、
ブロッキングインダクタを含み、
前記ブロッキングインダクタは、前記発電機の第1端子と前記カップリングキャパシタとの間に接続された、
電源。
【請求項3】
請求項1に記載の電源であって、
前記電流センサ、前記電圧センサ及び前記ソースコンダクタと結合された入力を有するアナログ復調器を更に有し、
前記アナログ復調器は、
前記マイクロコントローラと結合された出力を備え、
前記第1交流信号及び前記第2交流信号を前記第3交流信号に対してアナログ的に復調するように構成された、
電源。
【請求項4】
請求項3に記載の電源であって、
前記アナログ復調器は、
4つの出力信号を発生させるように構成された直交復調器を含み、
前記4つの出力信号は、
前記第1交流信号の大きさに、前記第3交流信号に対する前記第1交流信号の位相の余弦を乗じたものと、
前記第1交流信号の大きさに、前記第3交流信号に対する前記第1交流信号の位相の正弦を乗じたものと、
前記第2交流信号の大きさに、前記第3交流信号に対する前記第2交流信号の位相の余弦を乗じたものと、
前記第2交流信号の大きさに、前記第3交流信号に対する前記第2交流信号の位相の正弦を乗じたものと、である、
電源。
【請求項5】
請求項1に記載の電源であって、
前記電圧センサは、
前記電源の第1端子及びアースに接続されたローパス又はバンドパスフィルタと、
前記ローパス又はバンドパスフィルタと接続された入力を有する反転又は非反転オペアンプと、を含む、
電源。
【請求項6】
電源に接続された負荷のインピーダンス又はキャパシタンスをモニタリングする方法であって、
前記電源は、
前記負荷に接続可能な第1端子と、第1端子と第2端子とのとの間に直流(DC)高電圧を発生させるように適合された発電機と、を含み、前記発電機の第1端子が前記電源の第1端子に接続され、前記発電機の第2端子がアースに接続され、
前記方法は、
前記電源にモニタリング部を提供することと、
前記モニタリング部に、前記負荷のインピーダンス又はキャパシタンスを示すデジタルデータを表示させ或いは記憶させることと、
を含み、
前記モニタリング部は、
第1端子と第2端子との間に振動電流を流すように適合されたインジェクト回路であって、前記インジェクト回路の第1端子は、前記電源の第1端子に接続され、且つ、前記インジェクト回路の第2端子は、アースに接続され、或いは前記電源の第2端子に接続された、インジェクト回路と、
第1端子と第2端子との間に振動電圧を発生させるように適合されたブースト回路であって、前記ブースト回路の第1端子は、前記発電機の第1端子に接続され、且つ、前記ブースト回路の第2端子は、前記電源の第1端子に接続された、ブースト回路と、
所定周波数にて正弦波電圧を発生させるように適合された正弦波発振器であって、前記インジェクト回路及び前記ブースト回路の1つと結合された端子を有する、正弦波発振器と、
前記振動電流を示す第1交流信号を発生させるように適合された電流センサであって、前記ブースト回路と前記電源の第1端子との間に直列に接続された一次コイルと、反転又は非反転オペアンプの入力に接続された二次コイルと、を有する変圧器を有する、電流センサと、
前記振動電圧を示す第2交流信号を発生させるように適合された電圧センサと、
と、
前記正弦波電圧を示す第3交流信号を出力するように適合されたソースコンダクタと、
前記第1交流信号、前記第2交流信号及び前記第3交流信号と結合されたマイクロコントローラであって、前記第1交流信号、前記第2交流信号及び前記第3交流信号から導出されたデジタルデータを用いて前記負荷のインピーダンス又はキャパシタンスを演算するように適合されたマイクロコントローラと、を含む、
方法。
【請求項7】
請求項6に記載の方法であって、
前記インジェクト回路は、
前記電源の第1端子と接続された1つのリード線を有するカップリングキャパシタを含み、
前記正弦波発振器は、
前記カップリングキャパシタの他のリード線と接続された第1端子と、アースに接続され或いは前記電源の第2端子と接続された第2端子と、を有し、
前記ブースト回路は、
ブロッキングインダクタを含み、
前記ブロッキングインダクタは、前記発電機の第1端子と前記カップリングキャパシタとの間に接続された、
方法。
【請求項8】
請求項6に記載の方法であって、
前記電流センサ、前記電圧センサ及び前記ソースコンダクタと結合された入力を有するアナログ復調器を更に有し、
前記アナログ復調器は、
前記マイクロコントローラと結合された出力を備え、
前記第1交流信号及び前記第2交流信号を前記第3交流信号に対してアナログ的に復調するように構成された、
方法。
【請求項9】
請求項8に記載の方法であって、
前記アナログ復調器は、
4つの出力信号を発生させるように構成された直交復調器を含み、
前記4つの出力信号は、
前記第1交流信号の大きさに、前記第3交流信号に対する前記第1交流信号の位相の余弦を乗じたものと、
前記第1交流信号の大きさに、前記第3交流信号に対する前記第1交流信号の位相の正弦を乗じたものと、
前記第2交流信号の大きさに、前記第3交流信号に対する前記第2交流信号の位相の余弦を乗じたものと、
前記第2交流信号の大きさに、前記第3交流信号に対する前記第2交流信号の位相の正弦を乗じたものと、である、
方法。
【請求項10】
請求項6に記載の方法であって、
前記電圧センサは、
前記電源の第1端子及びアースに接続されたローパス又はバンドパスフィルタと、
前記ローパス又はバンドパスフィルタと接続された入力を有する反転又は非反転オペアンプと、を含む、
方法。
(【請求項11】以降は省略されています)
発明の詳細な説明
【技術分野】
【0001】
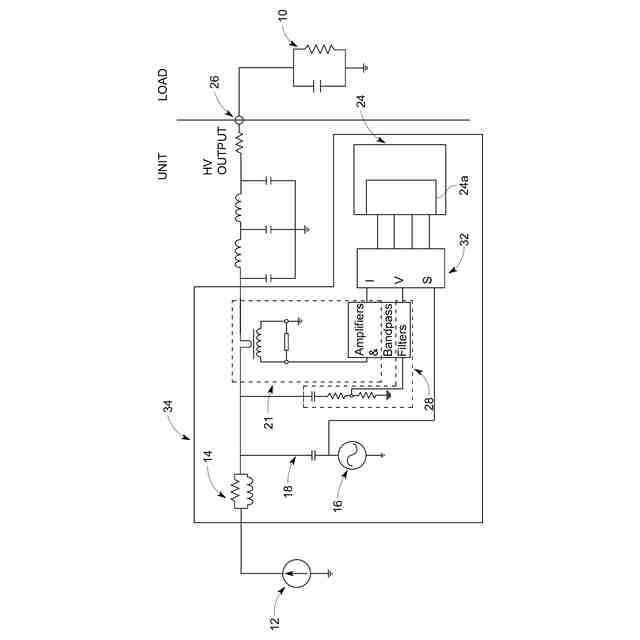
本開示は、概して、直流(DC)高電圧を発生させるように適合され、接続された負荷(load)のインピーダンス又はキャパシタンスをモニタリング可能な電源(power supply)に関する。本開示は、より具体的には、静電チャックとの使用に適した電源に関する。
続きを表示(約 1,800 文字)
【背景技術】
【0002】
半導体及び液晶パネルの製造工程において、従来、基板を固定して取り扱うために真空チャック及び機械式チャックシステムが用いられてきた。しかしながら、吸着、歪み、及び信頼性向上の要求の効果に起因して、これらの制約を克服するため、今日の半導体製造装置では、静電気力を用いるチャックが広く採用されている。
【0003】
静電チャック(「eチャック」)は、プラテン及びウェハーの間に静電気力を発生させるために高電圧でバイアスされた表面電極を備えるプラテンで構成されている。2つの種類の静電チャックが利用可能であり、即ち、クーロン型、及びジョンセン-ラーベック(「J-R」)型である。これらは誘電特性により区別され、従って、クランプ力の発生方法によって区別される。クーロンチャックは、従来の誘電体キャパシタと同様に機能する。J-R型は、抵抗が大きく、しかし有限であるため、表面どうしが密着し且つ電圧が印加されると、J-R型及び基板に電流が流れる。基板と誘電体との間の界面に、クランプ力を発生させる電荷が蓄積される。
【0004】
加えて、チャック上の電極(又は、極)の異なる構成が、異なる特性を得るために利用される。用途に応じて、モノポーラ、バイポーラ(2つの極)及びマルチポーラのチャック(6フェーズの6極型を含む)が利用可能である。
【0005】
既知の電源がeチャックの全範囲に提供される。既知の電源は、以下の特徴を有する。即ち、
高電圧バイポーラ出力(正/負)、
ウェハーのチャック開始/チャック解除を容易にする出力極性反転機能
キャパシタンス測定(クーロンチャック)又は電流測定(J-Rチャック)によるウェハーの状態を検知する能力、及び/又は、
種々のシステムに容易に統合するためのアナログ及びデジタルインタフェース、である。
【0006】
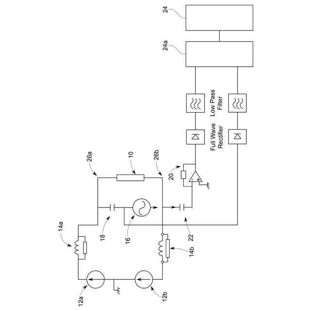
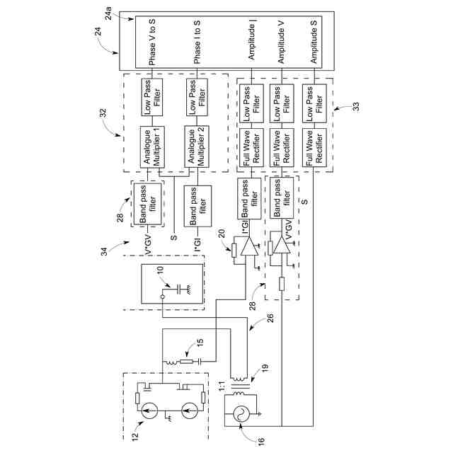
例えば、クーロンチャックの使用に適した既知の電源が図1に示される。この例では、電源はバイポーラであり、2つの端子26a~26bを有している。負荷10(例えば、クーロン型静電チャック)が示され、2つの端子26a、26bの間に接続されている。使用時には、発電機12a~12bのそれぞれが、負荷10に適用される直流(DC)高電力を発生させる。
【0007】
図1に示される電源は、正弦波発振器16を有している。使用時には、正弦波発振器16は、所定周波数にて正弦波電圧を発生させる。正弦波発振器16は、キャパシタ18の第1リード線と接続されていて、キャパシタ18の第2リード線は、端子26aに接続されている。キャパシタ18の第1リード線に印加される正弦波電圧は、アースから流れる振動電流を生じさせる。振動電流の第1部分は、ブロッキングインダクタ14a及び発電機12aを介してアースへ逆流する可能性がある。振動電流の第2部分は、負荷10、キャパシタ22及び電流-電圧変換器20を介してアースへ逆流する可能性がある。振動電流の第3部分は、負荷10、ブロッキングインダクタ14b及び発電機12bを介してアースへ逆流する可能性がある。
【0008】
振動電流の第1部分は、振動電流の第2部分と比較して、理想的には無視できるほど小さい。他方、振動電流の第2部分は、負荷10を流れる交流電流(AC)と殆ど等しい。第1部分と同様に、振動電流の第3部分は、振動電流の第2部分と比較して、理想的には無視できるほど小さい。
【0009】
負荷10、ブロッキングインダクタ14a及びカップリングキャパシタ18が並列に配置されているので、負荷10のリード線の1つに振動電位が生じる。同様に、負荷10、ブロッキングインダクタ14b及びカップリングキャパシタ22が並列に配置されているので、負荷10の他のリード線に振動電位が生じる。
【0010】
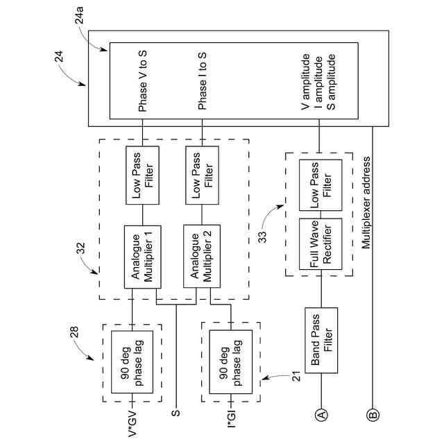
図1に示される電源は、振動電流の第2部分の大きさを測定する第1センサを有していて、これは上述のように負荷10を流れるACと殆ど等しい。第1センサは、電流-電圧変換器20、全波整流器(full wave rectifier)、ローパスフィルタ(lowpass filter)及びアナログ-デジタル変換器ADC24aを含んでいる。第1センサは、位相を測定できない。
(【0011】以降は省略されています)
特許ウォッチbot のツイートを見る
この特許をJ-PlatPat(特許庁公式サイト)で参照する
関連特許
日本精機株式会社
検出装置
6日前
個人
計量機能付き容器
1日前
甲神電機株式会社
電流検出装置
6日前
大成建設株式会社
風洞実験装置
1日前
双庸電子株式会社
誤配線検査装置
7日前
個人
計量具及び計量機能付き容器
1日前
日本信号株式会社
距離画像センサ
4日前
個人
非接触による電磁パルスの測定方法
4日前
株式会社不二越
X線測定装置
4日前
日東精工株式会社
振動波形検査装置
7日前
株式会社エルメックス
希釈液収容容器
1日前
株式会社マグネア
磁界検出素子
4日前
株式会社電巧社
試験装置及び試験方法
7日前
日本特殊陶業株式会社
化学センサ
6日前
IMV株式会社
振動試験システム
4日前
シチズンファインデバイス株式会社
外形検査装置
今日
三菱電機株式会社
検査治具および検査装置
4日前
個人
試料霧化導入装置
5日前
株式会社鷺宮製作所
材料試験装置
5日前
浜松ホトニクス株式会社
分光装置
4日前
キヤノン株式会社
測距装置
6日前
三菱電機株式会社
移動体監視装置
4日前
矢崎総業株式会社
導通検査システム
4日前
株式会社アイシン
静電容量センサシステム
5日前
花王株式会社
アノード電極
5日前
JRCモビリティ株式会社
測位装置および測位方法
5日前
日野自動車株式会社
方位ずれ検出装置
6日前
トヨタ自動車株式会社
蓄電量推定装置
12日前
株式会社アイシン
車両用駆動伝達装置
7日前
日本信号株式会社
制御システム
4日前
花王株式会社
バイオセンサー
4日前
サンケン電気株式会社
電流検出器及び電気機器
4日前
株式会社豊田自動織機
繊維機械の検査システム
12日前
日本特殊陶業株式会社
検知装置および検知方法
4日前
ダイハツ工業株式会社
落雷予測システム及び落雷予測方法
7日前
サンデン株式会社
情報処理装置
12日前
続きを見る
他の特許を見る