TOP
|
特許
|
意匠
|
商標
特許ウォッチ
Twitter
他の特許を見る
10個以上の画像は省略されています。
公開番号
2025168329
公報種別
公開特許公報(A)
公開日
2025-11-07
出願番号
2025073091
出願日
2025-04-25
発明の名称
バイオセンサー
出願人
花王株式会社
代理人
弁理士法人アルガ特許事務所
主分類
G01N
27/327 20060101AFI20251030BHJP(測定;試験)
要約
【課題】本開示は、一様態において、被測定溶液中のアミノ酸について、より高精度な濃度測定が可能なバイオセンサーを提供する。
【解決手段】本開示は、一態様において、導電材を含有する導電層と、前記導電層と隣接する試薬層とを含む、酵素電極を含み、前記試薬層は、アミノ酸オキシダーゼと高分子型酵素固定化剤とを含む、バイオセンサーに関する。前記高分子型酵素固定化剤は、好ましくはヒドロゲルである。
【選択図】図1
特許請求の範囲
【請求項1】
導電材を含有する導電層と、前記導電層と隣接する試薬層とを含む、酵素電極を含み、
前記試薬層は、アミノ酸オキシダーゼと高分子型酵素固定化剤とを含み、
前記高分子型酵素固定化剤がヒドロゲルである、
バイオセンサー。
続きを表示(約 750 文字)
【請求項2】
前記ヒドロゲルは、繰り返しユニットを含むカチオン性ポリマーであり、単位ユニット当たりの平均ヒドロキシ基の含有量が1.5以上である、請求項1記載のバイオセンサー。
【請求項3】
前記カチオン性ポリマーがキトサンである、請求項2記載のバイオセンサー。
【請求項4】
前記酵素電極は、さらにメディエータを含有する請求項1記載のバイオセンサー。
【請求項5】
前記メディエータがプルシアンブルーである、請求項4記載のバイオセンサー。
【請求項6】
前記試薬層が前記導電層上に積層されている、請求項1記載のバイオセンサー。
【請求項7】
前記アミノ酸オキシダーゼがD-アミノ酸オキシダーゼである、請求項1記載のバイオセンサー。
【請求項8】
前記高分子型酵素固定化剤に対する前記アミノ酸オキシダーゼの質量比が0.25以上20以下である、請求項1記載のバイオセンサー。
【請求項9】
前記試薬層における、前記高分子型酵素固定化剤の含有量が0.2μg/mm
2
以上30μg/mm
2
以下である、請求項1記載のバイオセンサー。
【請求項10】
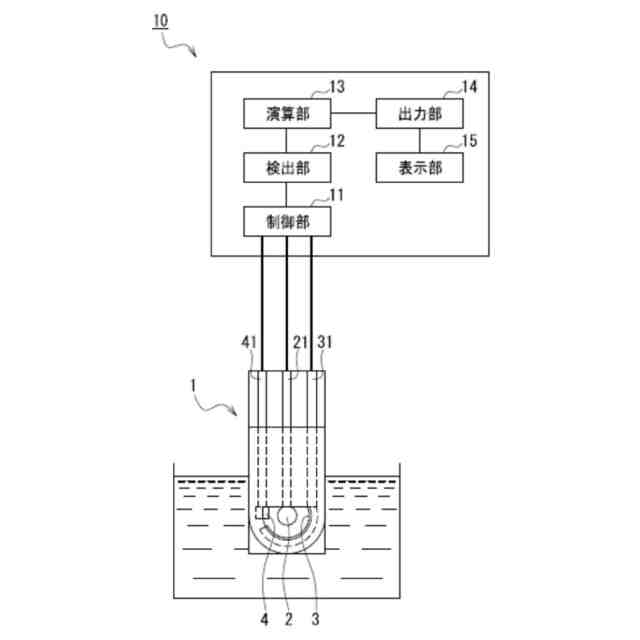
請求項1~9のいずれか1項記載のバイオセンサーと、
前記バイオセンサーへの電圧印加を制御する、制御部と、
前記バイオセンサーへの電圧印加によって得られる電流値を検出する、検出部と、
前記電流値から被測定溶液のアミノ酸濃度を算出する、演算部と、
前記算出された前記アミノ濃度を出力する出力部と、
を含む、測定装置。
(【請求項11】以降は省略されています)
発明の詳細な説明
【技術分野】
【0001】
本開示は、本発明は、被測定溶液中に含まれている特定の有機物質を電気化学的に分析するバイオセンサーに関する。
続きを表示(約 1,600 文字)
【背景技術】
【0002】
近年、疾病の診断や予防のために尿等の被検液中の特定成分をバイオセンサーで検出して濃度を測定する、ということが行われている。特に、採尿は、被験者の身体を傷つけることなく採取できるため、測定に供する被検液として簡便である。しかし、非侵襲測定可能な被検液では血液中よりも有機物質濃度が低い傾向にあり、そのため、より高感度なセンサーが求められている。この種のセンサーとしては、酵素の高い選択性を利用し、選択的に高感度の有機物質の検出が可能な酵素センサーが有力候補とされている。また、例えば、犬や猫の死因の上位にある慢性腎臓病に対し、尿中の遊離アミノ酸がバイオマーカーとなり得る可能性があることが知られている。
【0003】
特許文献1は、バイオエレクトロケミカル測定系に使用する電極として、作動表面に一次元導電特性と酵素とを有する電極が開示されており、その一例として、透析膜を使用してD-アミノ酸オキシダーゼをテトラチアフルバレンTCNQ(メディエータ)充填くぼみ電極上に取り込んだ電極が開示されている。
特許文献2には、多孔質ポリアクリロニトリルフィルムにアミノ酸オキシダーゼを固定化して構成した第1の膜と、第1の膜に積層され上記同様な多孔質フィルムにタンパク質分解酵素を固定化して構成した第2の膜と、第1の膜で生じる過酸化水素を検出するための電極と、第2の膜に該膜を湿潤させるための水又は水溶液を供給する点滴装置とを具えた花粉センサーが開示されている。第1の膜では、例えば、アミノ酸オキシダーゼをグルタルアルデヒドによって多孔質ポリアクリロニトリルフィルムに固定している。
【先行技術文献】
【特許文献】
【0004】
特開昭61-269059号公報
特開平4-348270号公報
【発明の概要】
【発明が解決しようとする課題】
【0005】
アミノ酸の濃度測定の高精度化の要請がある。
【0006】
本開示は、一様態において、被測定溶液中のアミノ酸について高精度な濃度測定が可能なバイオセンサーを提供する。
【課題を解決するための手段】
【0007】
本開示は、一態様において、
導電材を含有する導電層と、前記導電層と隣接する試薬層とを含む、酵素電極を含み、
前記試薬層は、アミノ酸オキシダーゼと高分子型酵素固定化剤とを含み、
前記高分子型酵素固定化剤がヒドロゲルである、
バイオセンサーに関する。
【0008】
本開示は、一態様において、
本開示のバイオセンサーと、
前記バイオセンサーへの電圧印加を制御する、制御部と、
前記バイオセンサーへの電圧印加によって得られる電流値を検出する、検出部と、
前記電流値から被測定溶液のアミノ酸濃度を算出する、演算部と、
前記算出された前記アミノ濃度を出力する出力部と、
を含む、測定装置に関する。
【0009】
本開示は、一態様において、本開示の測定装置を用いたアミノ酸濃度の測定方法であり、
前記バイオセンサーに被測定物質を含む被測定溶液を供給し、
前記制御部にて前記バイオセンサーへ定電圧を印加し、
前記検出部にて前記バイオセンサーから得られる電流値を検出し、
検出された電流値から前記演算部にて前記被測定物質の濃度を算出すること、
を含む、アミノ酸濃度の測定方法に関する。
【0010】
本開示は、一態様において、被験対象動物の腎機能障害の検査方法であって、
本開示のアミノ酸濃度の測定方法により前記被験対象動物の尿中アミノ酸濃度を測定する工程を含む、腎機能障害の検査方法に関する。
(【0011】以降は省略されています)
この特許をJ-PlatPat(特許庁公式サイト)で参照する
関連特許
花王株式会社
袋体
1か月前
花王株式会社
組立体
2か月前
花王株式会社
製函装置
2か月前
花王株式会社
固形食品
1か月前
花王株式会社
吐出容器
1か月前
花王株式会社
吐出容器
1か月前
花王株式会社
放散装置
2か月前
花王株式会社
清掃用具
1か月前
花王株式会社
固形食品
2か月前
花王株式会社
包装容器
23日前
花王株式会社
油性化粧料
1か月前
花王株式会社
泡吐出容器
1か月前
花王株式会社
毛髪洗浄剤
1か月前
花王株式会社
容器組立体
3か月前
花王株式会社
乳化化粧料
1か月前
花王株式会社
油性化粧料
2か月前
花王株式会社
吸収性物品
2か月前
花王株式会社
吸収性物品
3か月前
花王株式会社
吸収性物品
3か月前
花王株式会社
吸収性物品
3か月前
花王株式会社
パウチ容器
3か月前
花王株式会社
固形入浴剤
3か月前
花王株式会社
乳化化粧料
1か月前
花王株式会社
乳化化粧料
1か月前
花王株式会社
紙コート剤
4日前
花王株式会社
皮膚洗浄料
23日前
花王株式会社
乳化化粧料
11日前
花王株式会社
吸収性物品
2日前
花王株式会社
皮膚化粧料
3日前
花王株式会社
紙コート剤
4日前
花王株式会社
消臭用組成物
2日前
花王株式会社
抗菌剤組成物
1か月前
花王株式会社
情報処理装置
11日前
花王株式会社
口腔用組成物
1か月前
花王株式会社
口腔用組成物
2か月前
花王株式会社
口腔用組成物
2か月前
続きを見る
他の特許を見る