TOP
|
特許
|
意匠
|
商標
特許ウォッチ
Twitter
他の特許を見る
10個以上の画像は省略されています。
公開番号
2025166926
公報種別
公開特許公報(A)
公開日
2025-11-07
出願番号
2024071123
出願日
2024-04-25
発明の名称
包装容器
出願人
花王株式会社
代理人
弁理士法人翔和国際特許事務所
主分類
B65D
25/36 20060101AFI20251030BHJP(運搬;包装;貯蔵;薄板状または線条材料の取扱い)
要約
【課題】把持した際の使用感に優れるとともに、容器本体に装着されたラベルの捲れを抑制できる、包装容器を提供すること。
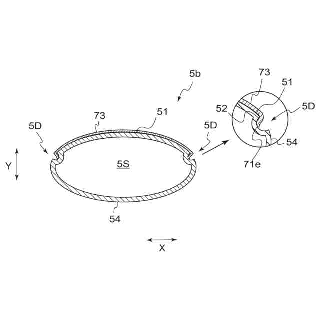
【解決手段】包装容器1は、ノズル部2、下方胴部3、上方胴部4、及び該上方胴部4との間に把持貫通孔42を有する把持部5を具備するボトル容器10と、上方胴部4及び把持部5の外面を被覆するラベル7とを備えている。把持部5は、把持内面54と把持外面51との境界に、把持貫通孔42の周縁の一部に沿った段差部52を有している。段差部52は、把持外面51又は把持内面54から突出した凸部5Pを設けて形成されている。ラベル7は、把持貫通孔42の周囲を囲むラベル開口部71を有し、把持部5の周方向において該ラベル開口部の端縁71eが段差部52よりも把持外面51側に位置している。
【選択図】図5
特許請求の範囲
【請求項1】
ノズル部、底部を有する下方胴部、該下方胴部と該ノズル部との間に位置する上方胴部、及び該上方胴部との間に把持貫通孔を有する把持部を具備するボトル容器と、前記上方胴部及び前記把持部の外面を被覆するラベルとを備えた、包装容器であって、
前記把持部は、前記把持貫通孔を挟んで前記上方胴部とは反対側に位置し、該把持貫通孔側に位置する把持内面と、該把持内面とは反対側に位置する把持外面とを有しており、
前記把持部は、前記把持内面と前記把持外面との境界に、前記把持貫通孔の周縁の一部に沿った段差部を有しており、
前記段差部は、前記把持外面又は前記把持内面から突出した凸部を設けて形成されており、
前記ラベルは、前記把持貫通孔の周囲を囲むラベル開口部を有し、前記把持部の周方向において該ラベル開口部の端縁が前記段差部よりも前記把持外面側に位置している、包装容器。
続きを表示(約 1,500 文字)
【請求項2】
ノズル部、底部を有する下方胴部、該下方胴部と該ノズル部との間に位置する上方胴部、及び該上方胴部との間に把持貫通孔を有する把持部を具備するボトル容器と、前記上方胴部及び前記把持部の外面を被覆するラベルとを備えた、包装容器であって、
前記把持部は、前記把持貫通孔を挟んで前記上方胴部とは反対側に位置し、該把持貫通孔側に位置する把持内面と、該把持内面とは反対側に位置する把持外面とを有しており、
前記把持部は、前記把持内面と前記把持外面との境界に、前記把持貫通孔の周縁の一部に沿った段差部を有しており、
前記段差部は、前記把持外面及び前記把持内面よりも低い凹部を設けて形成されており、
前記ラベルは、前記把持貫通孔の周囲を囲むラベル開口部を有し、前記把持部の周方向において該ラベル開口部の端縁が前記凹部内に位置している、包装容器。
【請求項3】
ノズル部、底部を有する下方胴部、該下方胴部と該ノズル部との間に位置する上方胴部、及び該上方胴部との間に把持貫通孔を有する把持部を具備するボトル容器と、前記上方胴部及び前記把持部の外面を被覆するラベルとを備えた、包装容器であって、
前記上方胴部は、その外周面のうち、前記把持貫通孔を挟んで前記把持部とは反対側に位置する貫通孔側内面と、該上方胴部の正面部及び背面部を形成する上方胴部外面とを有しており、
前記上方胴部は、前記上方胴部外面と前記貫通孔側内面との境界に、前記把持貫通孔の周縁の一部に沿った段差部を有しており、
前記段差部は、前記貫通孔側内面から突出した凸部を設けて形成されており、
前記ラベルは、前記把持貫通孔の周囲を囲むラベル開口部を有し、前記上方胴部の周方向において該ラベル開口部の端縁が前記段差部よりも前記上方胴部外面側に位置している、包装容器。
【請求項4】
ノズル部、底部を有する下方胴部、該下方胴部と該ノズル部との間に位置する上方胴部、及び該上方胴部との間に把持貫通孔を有する把持部を具備するボトル容器と、前記上方胴部及び前記把持部の外面を被覆するラベルとを備えた、包装容器であって、
前記上方胴部は、その外周面のうち、前記把持貫通孔を挟んで前記把持部とは反対側に位置する貫通孔側内面と、該上方胴部の正面部及び背面部を形成する上方胴部外面とを有しており、
前記上方胴部は、前記上方胴部外面と前記貫通孔側内面との境界に、前記把持貫通孔の周縁の一部に沿った段差部を有しており、
前記段差部は、前記上方胴部外面及び前記貫通孔側内面よりも低い凹部を設けて形成されており、
前記ラベルは、前記把持貫通孔の周囲を囲むラベル開口部を有し、前記上方胴部の周方向において該ラベル開口部の端縁が前記凹部内に位置している、包装容器。
【請求項5】
前記ボトル容器は、該ボトル容器を二等分するパーティングラインを有し、該パーティングラインの両側それぞれに前記把持貫通孔の開口を有しており、
前記把持部は、前記パーティングラインの両側それぞれの前記境界に前記段差部を有している、請求項1~4の何れか1項に記載の包装容器。
【請求項6】
内容物を充填する前の空の状態で、前記上方胴部及び前記把持部の外面を前記ラベルで被覆する工程と、
レーザーカットにより、前記ラベルに前記ラベル開口部を形成する工程とを具備する、請求項1~4の何れか1項に記載の包装容器の製造方法。
発明の詳細な説明
【技術分野】
【0001】
本発明は、包装容器に関する。
続きを表示(約 2,800 文字)
【背景技術】
【0002】
液体洗剤や飲料等の液体は、ボトル容器に収容された状態で流通することがある。このボトル容器として、手で把持するため把持部が設けられたものが知られている。
例えば本出願人は、先に、一対の側面部の両側縁部が互いに連設されて断面楕円形状の胴部が形成されるとともに、該胴部の上部に、把持部及び上方に開口した注出部が形成された容器を提案している(特許文献1)。
【0003】
特許文献2には、容器内方に陥没し且つ該容器の高さ方向に延びる一対の把持用凹部が胴部に形成されており、該把持用凹部の内部に補強リブが設けられた合成樹脂製容器が開示されている。
特許文献3には、容器内方に窪み且つ容器の高さ方向に直交する方向に延びる把持部が形成され、且つ該把持部を含む範囲にシュリンクラベルが装着されており、該シュリンクラベルに形成された切り抜き部の上端縁及び下端縁が、容器の周方向両端部で角をなすように交わっている、ラベル付き容器が開示されている。
【先行技術文献】
【特許文献】
【0004】
特開2001-31085号公報
特開2012-171661号公報
特開2013-1416号公報
【発明の概要】
【発明が解決しようとする課題】
【0005】
ボトル容器が把持貫通孔によって形成された把持部を有する場合、ボトル容器の外面は、把持貫通孔以外の部分がラベルで被覆されることが一般的である。斯かるラベルとボトル容器とを備えた包装容器を使用する際、使用者は、把持部を手で握って包装容器を支持し、ボトル容器の口首部に装着されたキャップを回転させて、該キャップの脱着操作を行う。しかしながら、把持部を握った状態での脱着操作によって、包装容器のラベルが捲れたり、該ラベルの端縁が手に当接して使用感が低下したりすることがある。
特許文献1~3の容器は、斯かる脱着操作に伴うラベルの捲れや該ラベルの端縁の当接について検討されていない。
【0006】
本発明は、把持した際の使用感に優れるとともに、容器本体に装着されたラベルの捲れを抑制できる、包装容器に関する。
【課題を解決するための手段】
【0007】
本発明は、ノズル部、底部を有する下方胴部、該下方胴部と該ノズル部との間に位置する上方胴部、及び該上方胴部との間に把持貫通孔を有する把持部を具備するボトル容器と、前記上方胴部及び前記把持部の外面を被覆するラベルとを備えた、包装容器に関する。
一実施形態として、前記把持部は、前記把持貫通孔を挟んで前記上方胴部とは反対側に位置し、該把持貫通孔側に位置する把持内面と、該把持内面とは反対側に位置する把持外面とを有していることが好ましい。
一実施形態として、前記把持部は、前記把持内面と前記把持外面との境界に、前記把持貫通孔の周縁の一部に沿った段差部を有していることが好ましい。
一実施形態として、前記段差部は、前記把持外面又は前記把持内面から突出した凸部を設けて形成されていることが好ましい。
一実施形態として、前記ラベルは、前記把持貫通孔の周囲を囲むラベル開口部を有し、前記把持部の周方向において該ラベル開口部の端縁が前記段差部よりも前記把持外面側に位置していることが好ましい。
【0008】
また本発明は、ノズル部、底部を有する下方胴部、該下方胴部と該ノズル部との間に位置する上方胴部、及び該上方胴部との間に把持貫通孔を有する把持部を具備するボトル容器と、前記上方胴部及び前記把持部の外面を被覆するラベルとを備えた、包装容器に関する。
一実施形態として、前記把持部は、前記把持貫通孔を挟んで前記上方胴部とは反対側に位置し、該把持貫通孔側に位置する把持内面と、該把持内面とは反対側に位置する把持外面とを有していることが好ましい。
一実施形態として、前記把持部は、前記把持内面と前記把持外面との境界に、前記把持貫通孔の周縁の一部に沿った段差部を有していることが好ましい。
一実施形態として、前記段差部は、前記把持外面及び前記把持内面よりも低い凹部を設けて形成されていることが好ましい。
一実施形態として、前記ラベルは、前記把持貫通孔の周囲を囲むラベル開口部を有し、前記把持部の周方向において該ラベル開口部の端縁が前記凹部内に位置していることが好ましい。
【0009】
また本発明は、ノズル部、底部を有する下方胴部、該下方胴部と該ノズル部との間に位置する上方胴部、及び該上方胴部との間に把持貫通孔を有する把持部を具備するボトル容器と、前記上方胴部及び前記把持部の外面を被覆するラベルとを備えた、包装容器に関する。
一実施形態として、前記上方胴部は、その外周面のうち、前記把持貫通孔を挟んで前記把持部とは反対側に位置する貫通孔側内面と、該上方胴部の正面部及び背面部を形成する上方胴部外面とを有していることが好ましい。
一実施形態として、前記上方胴部は、前記上方胴部外面と前記貫通孔側内面との境界に、前記把持貫通孔の周縁の一部に沿った段差部を有していることが好ましい。
一実施形態として、前記段差部は、前記貫通孔側内面から突出した凸部を設けて形成されていることが好ましい。
一実施形態として、前記ラベルは、前記把持貫通孔の周囲を囲むラベル開口部を有し、前記上方胴部の周方向において該ラベル開口部の端縁が前記段差部よりも前記上方胴部外面側に位置していることが好ましい。
【0010】
また本発明は、ノズル部、底部を有する下方胴部、該下方胴部と該ノズル部との間に位置する上方胴部、及び該上方胴部との間に把持貫通孔を有する把持部を具備するボトル容器と、前記上方胴部及び前記把持部の外面を被覆するラベルとを備えた、包装容器に関する。
一実施形態として、前記上方胴部は、その外周面のうち、前記把持貫通孔を挟んで前記把持部とは反対側に位置する貫通孔側内面と、該上方胴部の正面部及び背面部を形成する上方胴部外面とを有していることが好ましい。
一実施形態として、前記上方胴部は、前記上方胴部外面と前記貫通孔側内面との境界に、前記把持貫通孔の周縁の一部に沿った段差部を有していることが好ましい。
一実施形態として、前記段差部は、前記上方胴部外面及び前記貫通孔側内面よりも低い凹部を設けて形成されていることが好ましい。
一実施形態として、前記ラベルは、前記把持貫通孔の周囲を囲むラベル開口部を有し、前記上方胴部の周方向において該ラベル開口部の端縁が前記凹部内に位置していることが好ましい。
【発明の効果】
(【0011】以降は省略されています)
この特許をJ-PlatPat(特許庁公式サイト)で参照する
関連特許
花王株式会社
袋体
1か月前
花王株式会社
組立体
1か月前
花王株式会社
清掃用具
1か月前
花王株式会社
固形食品
1か月前
花王株式会社
吐出容器
22日前
花王株式会社
吐出容器
22日前
花王株式会社
放散装置
1か月前
花王株式会社
製函装置
1か月前
花王株式会社
包装容器
1日前
花王株式会社
固形食品
1か月前
花王株式会社
吸収性物品
2か月前
花王株式会社
皮膚洗浄料
1日前
花王株式会社
毛髪洗浄剤
23日前
花王株式会社
吸収性物品
1か月前
花王株式会社
泡吐出容器
22日前
花王株式会社
油性化粧料
1か月前
花王株式会社
油性化粧料
18日前
花王株式会社
容器組立体
2か月前
花王株式会社
乳化化粧料
10日前
花王株式会社
乳化化粧料
1か月前
花王株式会社
固形入浴剤
2か月前
花王株式会社
吸収性物品
2か月前
花王株式会社
吸収性物品
2か月前
花王株式会社
乳化化粧料
1か月前
花王株式会社
パウチ容器
2か月前
花王株式会社
鋳型用組成物
2か月前
花王株式会社
口腔用組成物
1か月前
花王株式会社
口腔用組成物
1か月前
花王株式会社
口腔用組成物
1か月前
花王株式会社
口腔用組成物
3日前
花王株式会社
口腔用組成物
3日前
花王株式会社
シート材容器
2か月前
花王株式会社
口腔用組成物
3日前
花王株式会社
剥離剤組成物
1か月前
花王株式会社
口腔用組成物
3日前
花王株式会社
吸収性パッド
1か月前
続きを見る
他の特許を見る