TOP
|
特許
|
意匠
|
商標
特許ウォッチ
Twitter
他の特許を見る
公開番号
2025136448
公報種別
公開特許公報(A)
公開日
2025-09-19
出願番号
2024035038
出願日
2024-03-07
発明の名称
組立体
出願人
花王株式会社
代理人
個人
,
個人
主分類
B65D
33/38 20060101AFI20250911BHJP(運搬;包装;貯蔵;薄板状または線条材料の取扱い)
要約
【課題】耐久性が向上された組立体を提供する。
【解決手段】収容空間を形成する容器本体に取り付けられる、筒形状を有する注出口部と、前記注出口部の中空領域内に設けられた弾性体と、前記弾性体に支持されており、押圧力に応じて、前記中空領域を通過する流路を閉鎖する閉鎖位置から前記注出口部の軸方向の一側である第1方向側に移動して前記流路を開き、前記押圧力が解放されると前記弾性体の弾性力に応じて前記第1方向の反対方向である第2方向に移動して前記閉鎖位置に復帰する可動部と、を備え、前記注出口部の外周面には、前記容器本体の内容物を吐出するポンプ装置、ノズルまたはキャップに係合する係合部が形成されている、組立体。
【選択図】図5
特許請求の範囲
【請求項1】
収容空間を形成する容器本体に取り付けられる、筒形状を有する注出口部と、
前記注出口部の中空領域内に設けられた弾性体と、
前記弾性体に支持されており、押圧力に応じて、前記中空領域を通過する流路を閉鎖する閉鎖位置から前記注出口部の軸方向の一側である第1方向側に移動して前記流路を開き、前記押圧力が解放されると前記弾性体の弾性力に応じて前記第1方向の反対方向である第2方向に移動して前記閉鎖位置に復帰する可動部と、
を備え、
前記注出口部の外周面には、前記容器本体の内容物を吐出するポンプ装置、ノズルまたはキャップに係合する係合部が形成されている、組立体。
続きを表示(約 880 文字)
【請求項2】
前記可動部の前記第2方向側には貫通孔が形成されている面部が位置しており、
前記組立体は、前記可動部と前記貫通孔の間に環状のガスケットを有し、
前記可動部は、前記閉鎖位置において前記ガスケットに当接する、請求項1に記載の組立体。
【請求項3】
前記組立体は、前記注出口部に挿入されて前記注出口部に支持される筒部を有し、
前記弾性体および前記可動部は前記筒部の内側に位置する、請求項1に記載の組立体。
【請求項4】
前記筒部の外周面は、軸方向の一側に向かうにつれて外径が大きくなるテーパー面と、前記テーパー面の大径側の端部から内側に延びることにより形成されている第1段差面と、を有する、請求項3に記載の組立体。
【請求項5】
前記第1段差面は、前記注出口部の一側の開口を形成する縁、または、前記注出口部の内側に形成されている段差面と係合する、請求項4に記載の組立体。
【請求項6】
前記筒部の外周面は、前記第1段差面に対向する第2段差面を有し、
前記第2段差面は、前記注出口部の他側の開口を形成する縁、または注出口部の内側に形成されている他の段差面と係合する、請求項5に記載の組立体。
【請求項7】
前記注出口部は、貫通孔、または内周面に形成された凹部を有し、
前記筒部は、前記貫通孔または前記凹部に嵌合する凸部を有する、請求項3に記載の組立体。
【請求項8】
前記筒部の外周面には、前記注出口部の内周面に当接する環状の凸部が形成されている、請求項3~7のいずれか一項に記載の組立体。
【請求項9】
前記弾性体は、前記注出口部の軸方向に沿って伸縮するスプリングである、請求項1~7のいずれか一項に記載の組立体。
【請求項10】
請求項1~7のいずれか一項に記載の組立体と、
前記容器本体と、
を備える、容器。
(【請求項11】以降は省略されています)
発明の詳細な説明
【技術分野】
【0001】
本発明は、組立体に関する。
続きを表示(約 1,400 文字)
【背景技術】
【0002】
液状物が充填されている内袋および当該内袋およびガスを収容する缶を有するエアゾール容器が知られている。エアゾール容器は、ガスの圧力により液状物を吐出することが可能である。エアゾール容器に液状物を充填する前に、内袋内の残存酸素を減少させる、または0にするための処理が行われることがある。当該処理は、例えば、窒素の充填とバキュームの繰り返しである。
【0003】
このような処理を実現するために、窒素の充填とバキュームが行われる間には流路が開き、窒素の充填およびバキュームのいずれも行われていない間には流路を閉じる部材が用いられる。例えば、特許文献1には、内容物の収容空間に繋がる貫通孔を有する雌部材と、貫通孔を封止するプラグを有する部材が開示されている。流体の充填および注出を行うための雄部材が貫通孔に挿入されると、雄部材の先端がプラグの連結部に係合してプラグを貫通孔から押し外す。また、雄部材が引き抜かれる際には、プラグが貫通孔を封止して雄部材から外れる。
【先行技術文献】
【特許文献】
【0004】
特開2014-144782号公報
【発明の概要】
【発明が解決しようとする課題】
【0005】
しかし、特許文献1に開示された部材では、雄部材の抜き差しの繰り返しにより、プラグが破損する恐れがある。
【0006】
本発明は、耐久性が向上された組立体に関する。
【課題を解決するための手段】
【0007】
上記課題を解決するために、本発明のある観点は、収容空間を形成する容器本体に取り付けられる、筒形状を有する注出口部と、前記注出口部の中空領域内に設けられた弾性体と、前記弾性体に支持されており、押圧力に応じて、前記中空領域を通過する流路を閉鎖する閉鎖位置から前記注出口部の軸方向の一側である第1方向側に移動して前記流路を開き、前記押圧力が解放されると前記弾性体の弾性力に応じて前記第1方向の反対方向である第2方向に移動して前記閉鎖位置に復帰する可動部と、を備え、前記注出口部の外周面には、前記容器本体の内容物を吐出するポンプ装置、ノズルまたはキャップに係合する係合部が形成されている、組立体に関する。
【発明の効果】
【0008】
以上説明したように本発明によれば、耐久性が向上された組立体が提供される。
【図面の簡単な説明】
【0009】
本発明の一実施形態による容器10の外観構成を示す説明図である。
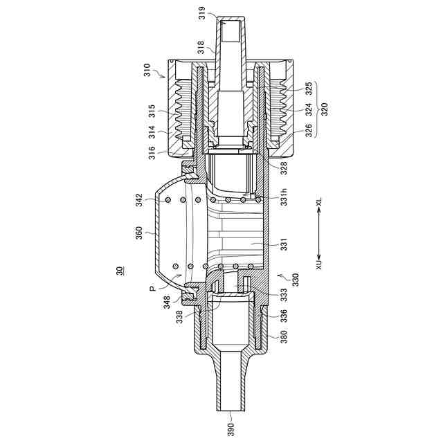
ポンプ装置30の断面構成を示す説明図である。
バルブスパウト40の外観を示す説明図である。
バルブユニット50の外観を示す説明図である。
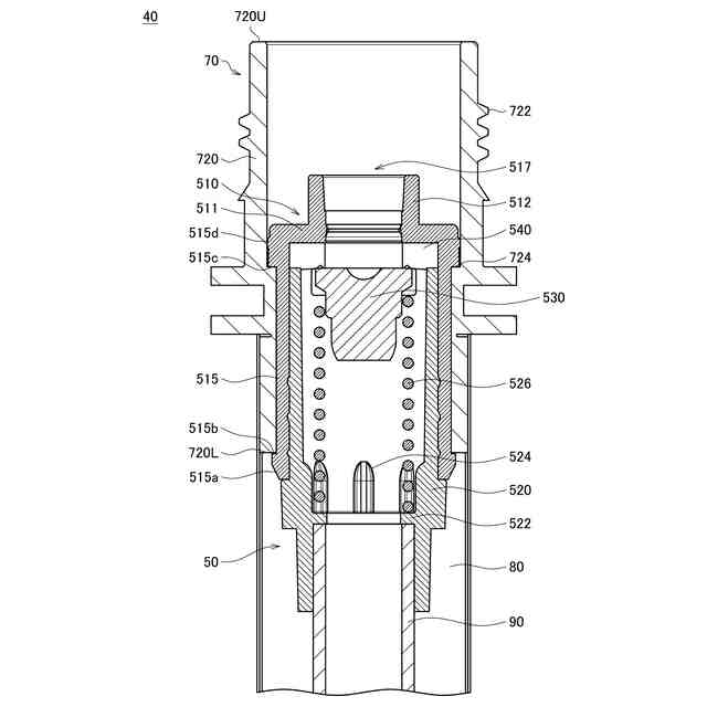
バルブスパウト40の断面構成を示す説明図である。
ピストン530の斜視図である。
バルブスパウト40の流路が開いている状態を示す説明図である。
容器10の断面構成を示す説明図である。
【発明を実施するための形態】
【0010】
以下に添付図面を参照しながら、本発明の好適な実施の形態について詳細に説明する。なお、本明細書及び図面において、実質的に同一の機能構成を有する構成要素については、同一の符号を付することにより重複説明を省略する。
(【0011】以降は省略されています)
この特許をJ-PlatPat(特許庁公式サイト)で参照する
関連特許
花王株式会社
袋体
25日前
花王株式会社
組立体
1か月前
花王株式会社
放散装置
1か月前
花王株式会社
製函装置
1か月前
花王株式会社
清掃用具
24日前
花王株式会社
吐出容器
16日前
花王株式会社
吐出容器
16日前
花王株式会社
固形食品
1か月前
花王株式会社
固形食品
1か月前
花王株式会社
油性化粧料
1か月前
花王株式会社
油性化粧料
12日前
花王株式会社
毛髪洗浄剤
17日前
花王株式会社
泡吐出容器
16日前
花王株式会社
乳化化粧料
25日前
花王株式会社
乳化化粧料
25日前
花王株式会社
吸収性物品
2か月前
花王株式会社
吸収性物品
2か月前
花王株式会社
吸収性物品
2か月前
花王株式会社
パウチ容器
2か月前
花王株式会社
乳化化粧料
4日前
花王株式会社
固形入浴剤
2か月前
花王株式会社
化粧料容器
3か月前
花王株式会社
容器組立体
2か月前
花王株式会社
吸収性物品
1か月前
花王株式会社
剥離剤組成物
1か月前
花王株式会社
抗菌剤組成物
26日前
花王株式会社
口腔用組成物
1か月前
花王株式会社
口腔用組成物
1か月前
花王株式会社
口腔用組成物
1か月前
花王株式会社
口腔用組成物
1か月前
花王株式会社
シート材容器
2か月前
花王株式会社
防錆剤組成物
1か月前
花王株式会社
酵素センサー
2か月前
花王株式会社
洗浄剤組成物
3日前
花王株式会社
洗浄剤組成物
3日前
花王株式会社
洗浄剤組成物
3日前
続きを見る
他の特許を見る