TOP
|
特許
|
意匠
|
商標
特許ウォッチ
Twitter
他の特許を見る
10個以上の画像は省略されています。
公開番号
2025158269
公報種別
公開特許公報(A)
公開日
2025-10-17
出願番号
2024060647
出願日
2024-04-04
発明の名称
泡吐出容器
出願人
花王株式会社
代理人
弁理士法人きさらぎ国際特許事務所
主分類
B65D
47/06 20060101AFI20251009BHJP(運搬;包装;貯蔵;薄板状または線条材料の取扱い)
要約
【課題】泡吐出容器を傾けて使用する場合においても良質な泡を吐出することが可能な泡吐出容器に関する。
【解決手段】液体及び空気を収容可能な容器本体と、容器本体の口部に取り付け可能な装着キャップと備える泡吐出容器であって、装着キャップは、液体及び空気を混合して泡を生成させる混合室と、容器本体に収容された液体を混合室に流入させる液体流路と、容器本体に収容された空気を混合室に流入させる空気導入孔と、混合室で生成された泡を前方に向けて吐出可能なノズルとを有し、空気導入孔は、液体流路の周方向に間隔をおいて複数設けられており、空気導入孔は、容器本体の中心軸よりも後方側に位置している。
【選択図】図1
特許請求の範囲
【請求項1】
液体及び空気を収容可能な容器本体と、
前記容器本体の口部に取り付け可能な装着キャップと
備える泡吐出容器であって、
前記装着キャップは、
液体及び空気を混合して泡を生成させる混合室と、
前記容器本体に収容された液体を前記混合室に流入させる液体流路と、
前記容器本体に収容された空気を前記混合室に流入させる空気導入孔と、
前記混合室で生成された泡を前方に向けて吐出可能なノズルと
を有し、
前記空気導入孔は、前記液体流路の周方向に間隔をおいて複数設けられており、
前記空気導入孔は、前記容器本体の中心軸よりも後方側に位置している
泡吐出容器。
続きを表示(約 520 文字)
【請求項2】
前記口部の前後方向の長さは、前記容器本体の底部の前後方向の長さよりも短く形成されており、
前記口部の中心軸は、前記容器本体の中心軸よりも後方側に位置している
請求項1に記載の泡吐出容器。
【請求項3】
前記混合室の中心軸は、前記口部の中心軸よりも後方側に位置している
請求項1又は2に記載の泡吐出容器。
【請求項4】
前記容器本体の胴部の前端部は、側面視において、前方に向けて湾曲している
請求項1又は2に記載の泡吐出容器。
【請求項5】
前記容器本体の胴部は、平面視において、前後方向の長さが前後方向に直交する方向の長さよりも長く形成されている
請求項1又は2に記載の泡吐出容器。
【請求項6】
前記胴部の後端部は、側面視において、前方に向けてくびれたくびれ部を有する
請求項5に記載の泡吐出容器。
【請求項7】
前記容器本体の口部に前記装着キャップが取り付けられた状態において、前記口部に対する前記装着キャップの取り外しを規制する規制部を有する
請求項1又は2に記載の泡吐出容器。
発明の詳細な説明
【技術分野】
【0001】
本発明は、泡吐出容器に関する。
続きを表示(約 1,800 文字)
【背景技術】
【0002】
従来から、泡を吐出可能な泡吐出容器が知られている。例えば、特許文献1には、容器の内部からチューブの内部を通過してチャンバーに到達した液体と、容器の内部からスリット部を通過してチャンバーに到達したエアーとをチャンバーで混合し、混合によって生成された泡を口栓から吐出する泡状液体絞り出し容器が記載されている。
【先行技術文献】
【特許文献】
【0003】
特開平8-198296号公報
【発明の概要】
【発明が解決しようとする課題】
【0004】
ところで、使用者が泡吐出容器を使用する場合、泡吐出容器を泡の吐出方向に傾けて使用することが想定される。しかしながら、特許文献1に記載の泡状液体絞り出し容器では、泡状液体絞り出し容器を泡の吐出方向に傾けた場合、容器の内部に収容された液体がスリット部に流入する恐れがあり、それゆえ、良質な泡を生成することができないという問題や、口栓から泡ではなく液体が吐出されるという問題がある。
【0005】
本発明は、泡吐出容器を傾けて使用する場合においても良質な泡を吐出することが可能な泡吐出容器に関する。
【課題を解決するための手段】
【0006】
本発明に係る泡吐出容器は、液体及び空気を収容可能な容器本体と、前記容器本体の口部に取り付け可能な装着キャップと備える泡吐出容器であって、前記装着キャップは、液体及び空気を混合して泡を生成させる混合室と、前記容器本体に収容された液体を前記混合室に流入させる液体流路と、前記容器本体に収容された空気を前記混合室に流入させる空気導入孔と、前記混合室で生成された泡を前方に向けて吐出可能なノズルとを有し、前記空気導入孔は、前記液体流路の周方向に間隔をおいて複数設けられており、前記空気導入孔は、前記容器本体の中心軸よりも後方側に位置している。
【発明の効果】
【0007】
本発明の泡吐出容器によれば、泡吐出容器を傾けて使用する場合においても良質な泡を吐出することが可能になる。
【図面の簡単な説明】
【0008】
本実施形態に係る泡吐出容器を示す斜視図である。
本実施形態に係る泡吐出容器を示す分解斜視図である。
本実施形態に係る泡吐出容器を示す側面図である。
本実施形態に係る泡吐出容器を示す平面図である。
本実施形態に係る泡吐出容器の上下方向に沿う断面図である。
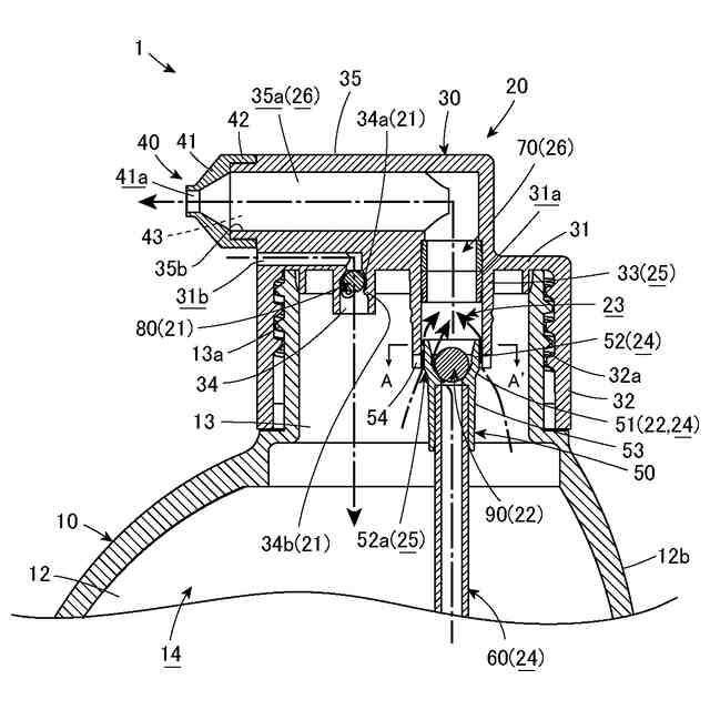
本実施形態に係る泡吐出容器の一部を拡大して示す拡大断面図である。
本実施形態に係る保持部材を示す斜視図である。
図6のA-A’ 線に沿った断面図である。
本実施形態に係る泡吐出容器の一部を拡大して示す拡大側面図である。
泡吐出容器が良質な泡を吐出できる傾斜範囲を示す参考図であり、図10(a)は、空気導入孔が容器本体の中心軸よりも後方側に位置していない泡吐出容器の例を示し、図10(b)は、空気導入孔が容器本体の中心軸よりも後方側に位置しているが、口部の中心軸が容器本体の中心軸よりも後方側に位置していない泡吐出容器の例を示し、図10(c)は、本実施形態に係る泡吐出容器の例を示している。
【発明を実施するための形態】
【0009】
以下、本発明を実施するための好適な実施形態について、図面を用いて説明する。なお、以下の実施形態は、各請求項に係る発明を限定するものではなく、また、実施形態の中で説明されている特徴の組み合わせの全てが発明の解決手段に必須であるとは限らない。また、本実施形態においては、各構成要素の縮尺や寸法が誇張されて示されている場合や、一部の構成要素が省略されている場合がある。
【0010】
[泡吐出容器の全体構成]
本実施形態に係る泡吐出容器1は、発泡性を有する洗浄剤や染毛剤等の液体(以下、単に「液体」という)を泡状にして吐出させる用途で用いられる泡吐出容器であり、好ましくは、スクイズフォーマー容器である。具体的には、図1~図6に示すように、泡吐出容器1は、液体及び空気を収容可能な容器本体10と、容器本体10の口部13に取り付け可能な装着キャップ20とを備えている。
(【0011】以降は省略されています)
この特許をJ-PlatPat(特許庁公式サイト)で参照する
関連特許
花王株式会社
袋体
9日前
花王株式会社
組立体
28日前
花王株式会社
製函装置
18日前
花王株式会社
固形食品
1か月前
花王株式会社
固形食品
14日前
花王株式会社
吐出容器
今日
花王株式会社
放散装置
1か月前
花王株式会社
清掃用具
8日前
花王株式会社
吐出容器
今日
花王株式会社
乳化化粧料
9日前
花王株式会社
吸収性物品
1か月前
花王株式会社
乳化化粧料
9日前
花王株式会社
泡吐出容器
今日
花王株式会社
油性化粧料
18日前
花王株式会社
皮膚化粧料
2か月前
花王株式会社
吸収性物品
1か月前
花王株式会社
吸収性物品
1か月前
花王株式会社
パウチ容器
1か月前
花王株式会社
固形入浴剤
1か月前
花王株式会社
容器組立体
2か月前
花王株式会社
吸収性物品
1か月前
花王株式会社
化粧料容器
2か月前
花王株式会社
毛髪洗浄剤
1日前
花王株式会社
口腔用組成物
14日前
花王株式会社
抗菌剤組成物
10日前
花王株式会社
エッチング液
2か月前
花王株式会社
剥離剤組成物
1か月前
花王株式会社
吸収性パッド
1か月前
花王株式会社
口腔用組成物
14日前
花王株式会社
口腔用組成物
1か月前
花王株式会社
防錆剤組成物
1か月前
花王株式会社
口腔用組成物
1か月前
花王株式会社
防錆剤組成物
1か月前
花王株式会社
吸収性パッド
1か月前
花王株式会社
鋳型用組成物
1か月前
花王株式会社
シート材容器
2か月前
続きを見る
他の特許を見る