TOP
|
特許
|
意匠
|
商標
特許ウォッチ
Twitter
他の特許を見る
10個以上の画像は省略されています。
公開番号
2025134102
公報種別
公開特許公報(A)
公開日
2025-09-17
出願番号
2024031787
出願日
2024-03-04
発明の名称
吸収性物品
出願人
花王株式会社
代理人
弁理士法人南青山国際特許事務所
主分類
A61F
13/539 20060101AFI20250909BHJP(医学または獣医学;衛生学)
要約
【課題】表面シートを排泄部の隙間にフィットさせて、表面シートに含まれるスキンケア剤を排泄部の隙間に効率よく接触させることが可能な吸収性物品に関する。
【解決手段】吸収性物品の本体は、縦方向に関して、着用者の排泄部と対向する排泄部対向領域を含む中間領域と、中間領域の縦方向前方の前方領域と、中間領域の縦方向後方の後方領域と、に区分される。表面シートは、少なくとも中間領域において、肌対向面にスキンケア剤を含み、かつ、吸収体と接合される。裏面シートは、少なくとも中間領域において横方向に間隔をあけてそれぞれ配置され吸収体と接合される一対の接合領域と、一対の接合領域の間に配置され吸収体と接合されていない非接合領域と、を有する。本体粘着部は、横方向において、一方の接合領域から非接合領域を通って他方の接合領域まで延びる。
【選択図】図3
特許請求の範囲
【請求項1】
表面シートと、裏面シートと、前記表面シート及び前記裏面シートの間に配置される吸収体と、前記裏面シートの非肌対向面に配置される本体粘着部と、を有する本体を備え、着用者の前後方向に対応する縦方向と、前記縦方向に直交し前記着用者の左右方向に対応する横方向と、を有する吸収性物品であって、
前記本体は、前記縦方向に関して、前記着用者の排泄部と対向する排泄部対向領域を含む中間領域と、前記中間領域の前記縦方向前方の前方領域と、前記中間領域の前記縦方向後方の後方領域と、に区分され、
前記表面シートは、少なくとも前記中間領域において、肌対向面にスキンケア剤を含み、かつ、前記吸収体と接合され、
前記裏面シートは、
少なくとも前記中間領域において前記横方向に間隔をあけてそれぞれ配置され、前記吸収体と接合される一対の接合領域と、
前記一対の接合領域の間に配置され、前記吸収体と接合されていない非接合領域と、を有し、
前記接合領域は、前記横方向において、前記非接合領域との境界部から前記吸収体の前記横方向の側縁まで延び、
前記本体粘着部は、前記横方向において、一方の前記接合領域から前記非接合領域を通って他方の前記接合領域まで延びる
吸収性物品。
続きを表示(約 1,100 文字)
【請求項2】
前記裏面シートは、
前記非肌対向面に形成され、肌側に向かって窪む窪み部をさらに有し、
前記窪み部は、
前記中間領域の前記接合領域において、前記本体粘着部と平面視において重なる位置に配置され、かつ、前記縦方向に延びる
請求項1に記載の吸収性物品。
【請求項3】
前記本体粘着部は、前記横方向に沿って延び、前記縦方向に間隙部を介して配置された複数の帯状粘着部を有し、
前記窪み部は、前記複数の帯状粘着部のうちの2以上の前記帯状粘着部及び少なくとも1つの前記間隙部と平面視において重なるように、前記縦方向に連続して延びる
請求項2に記載の吸収性物品。
【請求項4】
前記窪み部は、前記一対の接合領域にそれぞれ配置される
請求項2又は3に記載の吸収性物品。
【請求項5】
前記吸収体は、
前記中間領域に配置され、相対的に坪量が高い高坪量部と、
前記高坪量部の周囲に配置され、相対的に坪量が低い低坪量部と、を有し、
前記高坪量部は、前記横方向において、前記非接合領域の全幅にわたって延び、
前記吸収体は、前記高坪量部に少なくとも配置され、前記縦方向に延びるスリット部を有し、
前記スリット部は、前記非接合領域と平面視において重なる
請求項2又は3に記載の吸収性物品。
【請求項6】
前記高坪量部の前記横方向における側縁は、平面視において前記接合領域と重なるように、前記非接合領域の近傍に配置され、
前記窪み部は、前記中間領域の前記接合領域において、前記高坪量部と平面視において重なるように配置される
請求項5に記載の吸収性物品。
【請求項7】
前記表面シートは、肌側に向かって突出する複数の凸部と、非肌側に向かって突出する複数の凹部と、を備え、
前記複数の凸部は、 前記スキンケア剤を含み、前記非接合領域と平面視において重なるように配置される
請求項1に記載の吸収性物品。
【請求項8】
前記表面シートにおいて、前記凸部の非肌側には、内部空間が形成される
請求項7に記載の吸収性物品。
【請求項9】
前記表面シートは、不織布で構成され、
前記凹部は、
繊維で構成される繊維部と、
前記繊維部間に配置され、前記凸部よりも大きい繊維間距離を有する空隙で構成される空隙部と、を有する
請求項7又は8に記載の吸収性物品。
発明の詳細な説明
【技術分野】
【0001】
本発明は、生理用ナプキン等の吸収性物品に関する。
続きを表示(約 2,200 文字)
【背景技術】
【0002】
生理用ナプキン等の吸収性物品は、一般に、表面シートと、裏面シートと、これらの間に配置された吸収体と、を備え、例えば裏面シートの非肌対向面に配置された本体粘着部をショーツのクロッチ部に貼り付けて装着される。表面シートは、着用者の排泄部に接触するため、ムレなどによる肌トラブルを防止できる構成が望まれる。このような観点から、特許文献1には、表面シートの突出部の頂部にスキンケア剤を含む吸収性物品が記載されている。
【先行技術文献】
【特許文献】
【0003】
特開2012-143543号公報
【発明の概要】
【発明が解決しようとする課題】
【0004】
表面シートがスキンケア剤を含む場合、このスキンケア剤を排泄部に接触させて転写させることで、スキンケア効果が発揮される。しかしながら、着用時に吸収性物品が着用者の左右の陰唇によって非肌側に押圧された場合、吸収性物品全体がショーツとともに非肌側に押圧され、表面シートの横方向中央部が排泄部の陰唇間の隙間に入り込みにくくなることがあった。このため、表面シートを排泄部の隙間にフィットさせて、表面シートに含まれるスキンケア剤を排泄部の隙間に効率よく接触させることが可能な吸収性物品が求められている。
【0005】
本発明の課題は、表面シートを排泄部の隙間にフィットさせて、表面シートに含まれるスキンケア剤を排泄部の隙間に効率よく接触させることが可能な吸収性物品に関する。
【課題を解決するための手段】
【0006】
本発明の一形態に係る吸収性物品は、表面シートと、裏面シートと、前記表面シート及び前記裏面シートの間に配置される吸収体と、前記裏面シートの非肌対向面に配置される本体粘着部と、を有する本体を備え、着用者の前後方向に対応する縦方向と、前記縦方向に直交し前記着用者の左右方向に対応する横方向と、を有する。
前記本体は、前記縦方向に関して、前記着用者の排泄部と対向する排泄部対向領域を含む中間領域と、前記中間領域の前記縦方向前方の前方領域と、前記中間領域の前記縦方向後方の後方領域と、に区分される。
前記表面シートは、少なくとも前記中間領域において、肌対向面にスキンケア剤を含み、かつ、前記吸収体と接合される。
前記裏面シートは、
少なくとも前記中間領域において前記横方向に間隔をあけてそれぞれ配置され、前記吸収体と接合される一対の接合領域と、
前記一対の接合領域の間に配置され、前記吸収体と接合されていない非接合領域と、を有する。
前記接合領域は、前記横方向において、前記非接合領域との境界部から前記吸収体の前記横方向の側縁まで延びる。
前記本体粘着部は、前記横方向において、一方の前記接合領域から前記非接合領域を通って他方の前記接合領域まで延びる。
【発明の効果】
【0007】
本発明の吸収性物品によれば、表面シートを排泄部の隙間にフィットさせて、表面シートに含まれるスキンケア剤を排泄部の隙間に効率よく接触させることが可能である。
【図面の簡単な説明】
【0008】
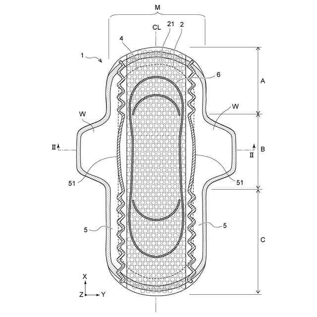
本発明の一実施形態に係る吸収性物品の肌対向面側を示す平面図である。
図1のII-II線から見た上記吸収性物品の断面図である。
上記吸収性物品の非肌対向面側を示す平面図(裏面図)である。
上記吸収性物品の作用効果を説明するための模式的な断面図であり、着用時における中間領域及びそれに固定されたショーツを示す図である。
上記吸収性物品の窪み部の作用効果を説明するための縦方向Xから見た部分的な断面図であり、着用時における、裏面シート(接合領域)、本体粘着部(帯状粘着部)及びそれに固定されたショーツを模式的に示す図である。
上記窪み部の配置を説明するための、図3の一部を拡大して示す平面図である。
上記吸収性物品の吸収体の肌対向面側を示す平面図である。
上記吸収性物品の表面シートを示す斜視図である。
上記表面シートを示す断面図である。
上記表面シートの凹部を拡大して示す平面図である。
【発明を実施するための形態】
【0009】
以下、図面を参照しながら、本発明の実施形態を説明する。
【0010】
[ナプキン(吸収性物品)の全体構成]
本発明の一実施形態に係る吸収性物品1は、ショーツ等の下着に固定して用いられるパット状の女性用吸収性物品であって、例えば生理用ナプキンとして構成される。吸収性物品1を、以下、ナプキン1と称する。ナプキン1は、図1に示すように、本体Mと、一対のウイング部Wと、を備える。ナプキン1は、着用者の前後方向に対応する縦方向Xと、着用者の左右方向に対応し縦方向Xに直交する横方向Yとを有する。さらに、ナプキン1は、縦方向X及び横方向Yの双方に直交する厚み方向Zを有する。ナプキン1は、例えば、ナプキン1を横方向Yに2等分する縦中心線CLに関して線対称(左右対称)に構成される。
(【0011】以降は省略されています)
この特許をJ-PlatPat(特許庁公式サイト)で参照する
関連特許
花王株式会社
袋体
1か月前
花王株式会社
組立体
2か月前
花王株式会社
吐出容器
1か月前
花王株式会社
放散装置
2か月前
花王株式会社
清掃用具
1か月前
花王株式会社
固形食品
2か月前
花王株式会社
包装容器
12日前
花王株式会社
吐出容器
1か月前
花王株式会社
固形食品
1か月前
花王株式会社
製函装置
1か月前
花王株式会社
泡吐出容器
1か月前
花王株式会社
吸収性物品
2か月前
花王株式会社
毛髪洗浄剤
1か月前
花王株式会社
油性化粧料
29日前
花王株式会社
油性化粧料
1か月前
花王株式会社
吸収性物品
2か月前
花王株式会社
乳化化粧料
1か月前
花王株式会社
乳化化粧料
1か月前
花王株式会社
吸収性物品
2か月前
花王株式会社
乳化化粧料
21日前
花王株式会社
吸収性物品
2か月前
花王株式会社
固形入浴剤
3か月前
花王株式会社
パウチ容器
2か月前
花王株式会社
皮膚洗浄料
12日前
花王株式会社
容器組立体
3か月前
花王株式会社
乳化化粧料
今日
花王株式会社
口腔用組成物
1か月前
花王株式会社
口腔用組成物
1か月前
花王株式会社
シート材容器
3か月前
花王株式会社
剥離剤組成物
2か月前
花王株式会社
抗菌剤組成物
1か月前
花王株式会社
酵素センサー
3か月前
花王株式会社
口腔用組成物
14日前
花王株式会社
口腔用組成物
2か月前
花王株式会社
口腔用組成物
2か月前
花王株式会社
練歯磨組成物
23日前
続きを見る
他の特許を見る