TOP
|
特許
|
意匠
|
商標
特許ウォッチ
Twitter
他の特許を見る
10個以上の画像は省略されています。
公開番号
2025168596
公報種別
公開特許公報(A)
公開日
2025-11-07
出願番号
2025150685,2021127280
出願日
2025-09-10,2021-08-03
発明の名称
台車
出願人
大一機材工業株式会社
代理人
個人
主分類
B62B
3/02 20060101AFI20251030BHJP(鉄道以外の路面車両)
要約
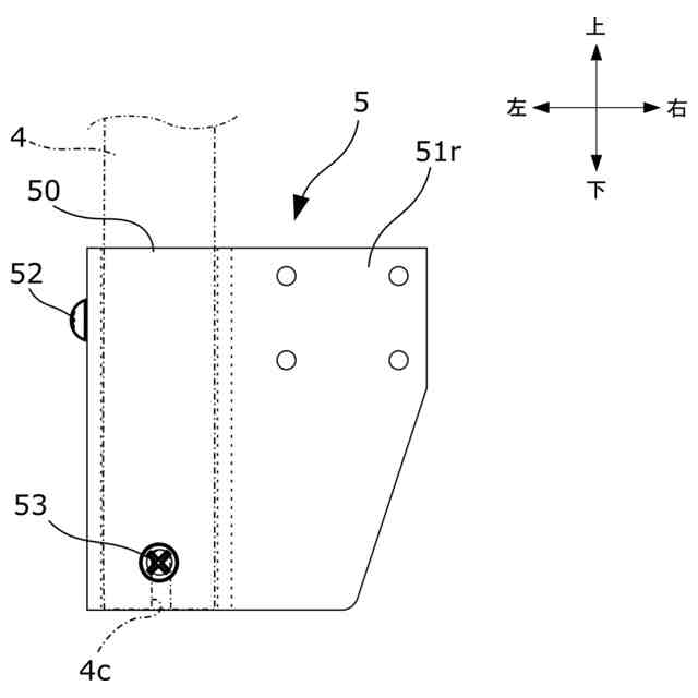
【課題】台車本体に対して折畳み可能な支柱を有する台車において、支柱の固定を安定させるとともに、軽量化を図ることができる台車を提供する。
【解決手段】 台車本体2の四隅に設けられた支柱保持部材50に支柱4を差し込むとともに、支柱4を折畳み可能にした台車1において、支柱4を支柱保持部材50に差し込んだときに差し込みを受け止める支柱受け軸53に嵌合するU字穴4cを設けることで、差し込み量を大きくする。
【選択図】図7
特許請求の範囲
【請求項1】
台車本体と、
前記台車本体に回動自在に設けられた支柱と、を備え、
前記支柱の下部を受け止める支柱受け軸が設けられ、前記支柱の下部に下方に開口する切欠部が設けられ、前記支柱を立てたときに前記切欠部が前記支柱受け軸に嵌合し、
前記支柱が回動する方向に前記支柱受け軸が延びている、
ことを特徴とする台車。
続きを表示(約 180 文字)
【請求項2】
前後に位置する支柱が後方及び前方に折畳まれたときに、各支柱の上面を前記台車本体の上面と面一にした、
ことを特徴とする請求項1に記載の台車。
【請求項3】
前後で対向する支柱を折畳んだときに、支柱の互いに重なる部分が干渉しないように、逃げ部を設けた、
ことを特徴とする請求項1または2に記載の台車。
発明の詳細な説明
【技術分野】
【0001】
本発明は、資材などの運搬や保管等に用いられる台車に関し、特に、台車に載置した資材が荷崩れしないように台車本体の四隅に設けられる支柱のがたつきを防止し、また、構造上比較的軽い材料での製作を可能とすることで台車の軽量化も図ることができる台車に関する。
続きを表示(約 1,300 文字)
【背景技術】
【0002】
建設現場や工場、或いは配送所などでは、完成品または原材料などの資材を運搬や保管等する台車として平台車が一般に用いられている。
【0003】
この種の平台車は、例えば、矩形の枠状又は板状に組み立てられた台車本体の下面に4つのキャスタが取り付けられ、台車本体に積載した資材が横崩れしないように台車本体の上面四隅に支柱が設けられている。
【0004】
このような平台車は、台車本体に支柱を折畳みできるようにすることで台車の持運びや保管をコンパクトにすることができるようになっている。
【先行技術文献】
【特許文献】
【0005】
特許第4373302号公報
【発明の概要】
【発明が解決しようとする課題】
【0006】
ところで、特許文献1に記載の平台車にあっては、資材を積載するときに荷受台1に折畳んだ支柱5を立てて支柱保持部2に差し込むことになるが、その差し込み量が少ないと支柱5ががたついたり、支柱5の固定が不安定になったりするという問題があった。また、上述の支柱保持部2への支柱5の差し込み量が少ない場合でも堅牢な固定を成すために鉄系材料など強度が強い(高硬度、低粘性)材料を使わなければならず、平台車の軽量化を図ることができないという問題もあった。
【0007】
そこでこの発明は、支柱の支柱保持部材に対する差し込み量を大きくすることで垂直に立てた支柱の固定を安定させるとともに、軽量化を図ることができる台車を提供することを目的とする。
【課題を解決するための手段】
【0008】
上記課題を解決するために、この発明に係る台車は、平面視で四角形を呈し下面にキャスタが設けられた台車本体と、前記台車本体の四隅に設けられ上下方向に延びる角筒状の支柱保持部材と、前記支柱保持部材内に内嵌するように差し込まれる角筒状の支柱と、を備え、前記支柱の側面下部には上下方向に延びる長孔が形成され、前記支柱保持部材の上部には前記長孔に嵌合する支軸が設けられ、前記支軸を前記支柱の長孔に嵌合することで、前記支柱を前記支柱保持部材に対して回動自在で折畳み可能にするとともに、前記支柱を立てたときに前記支柱保持部材に差し込み可能にし、また、前記支柱保持部材の下部には前記支柱の下部を受け止める支柱受け軸が設けられ、前記支柱の下部前後側面に下方に開口する切欠部が設けられ、前記支柱を立てて下方に差し込んだときに前記切欠部が前記支柱受け軸に嵌合する、ようにしてもよい。
【0009】
この発明に係る台車は、前後に位置する支柱が後方及び前方に折畳まれたときに、各支柱の上面を前記台車本体の上面と面一にする、ようにしてもよい。
【0010】
この発明に係る台車は、前後で対向する支柱を折畳んだときに、支柱の互いに重なる部分が干渉しないように、逃げ部を設ける、ようにしてもよい。
【発明の効果】
(【0011】以降は省略されています)
この特許をJ-PlatPat(特許庁公式サイト)で参照する
関連特許
大一機材工業株式会社
スロープ装置
2か月前
大一機材工業株式会社
台車
3日前
個人
カート
4か月前
個人
走行装置
4か月前
個人
三輪バイク
18日前
個人
乗り物
6か月前
個人
電動走行車両
4か月前
個人
発音装置
8か月前
個人
自転車用歩数計
26日前
個人
折り畳み自転車
11か月前
個人
駐輪設備
2か月前
個人
閂式ハンドル錠
4か月前
個人
電動モビリティ
8か月前
個人
ボギー・フレーム
2か月前
個人
“zen-go.”
3か月前
個人
ルーフ付きトライク
3か月前
個人
自由方向乗車自転車
8か月前
個人
三輪電動車両
26日前
個人
ルーフ付きトライク
2か月前
個人
体重掛けリフト台車
11か月前
個人
自転車用荷物台
12か月前
個人
パワーアシスト自転車
2か月前
個人
車の室内高温防止屋根
4日前
個人
キャンピングトライク
9か月前
井関農機株式会社
作業車両
11日前
個人
ステアリングの操向部材
9か月前
株式会社豊田自動織機
産業車両
5か月前
株式会社三五
リアサブフレーム
11か月前
個人
フロントフットブレーキ。
4か月前
個人
乗用自動車のディフューザー
1か月前
学校法人千葉工業大学
車両
10か月前
学校法人千葉工業大学
車両
10か月前
学校法人千葉工業大学
車両
10か月前
個人
ホイールハブ駆動構造
5か月前
豊田鉄工株式会社
小型車両
4か月前
ヤマハ発動機株式会社
自転車
5か月前
続きを見る
他の特許を見る