TOP
|
特許
|
意匠
|
商標
特許ウォッチ
Twitter
他の特許を見る
10個以上の画像は省略されています。
公開番号
2025168578
公報種別
公開特許公報(A)
公開日
2025-11-07
出願番号
2025149016,2024542855
出願日
2025-09-09,2023-08-23
発明の名称
ウェーハ検査装置及びウェーハ搬送装置
出願人
株式会社ナノシステムソリューションズ
代理人
弁理士法人ドライト国際特許事務所
主分類
H01L
21/66 20060101AFI20251030BHJP(基本的電気素子)
要約
【課題】ウェーハの欠陥を従来よりも正確に検出できるウェーハ検査装置及びウェーハ搬送装置を提供する。
【解決手段】ウェーハ検査装置11は、ウェーハ10が配置される通気ブロック18から当該ウェーハ10の面に向けてエアーを排出することにより、ウェーハ10を通気ブロック18の上方に水平浮上させる。そして、搬送部14は、駆動部30によって通気ブロック18に対して当接部25~28を相対移動させることによりウェーハ10を一方向に移動させ、検査情報取得部15にウェーハ10を水平浮上させたまま通過させる。これにより、ウェーハ検査装置11は、検査情報取得部15によってウェーハ10が検査情報取得部15を通過した際にウェーハ10の検査用情報として受光結果を取得し、検出部16によって受光結果に基づいてウェーハ10の欠陥を検出する。
【選択図】図1
特許請求の範囲
【請求項1】
ウェーハの欠陥の有無を検査するウェーハ検査装置において、
通気ブロックの上に前記ウェーハが配置され、前記通気ブロックから前記ウェーハの面に向けてエアーを排出することにより前記ウェーハを前記通気ブロックの上方に水平浮上させるステージと、
エアーによって前記ステージの上方に水平浮上させた前記ウェーハを前記ステージに対して一方向に搬送する搬送部と、
前記ウェーハの検査用情報を取得する検査情報取得部と、
前記検査情報取得部で取得した前記ウェーハの検査用情報に基づいて前記ウェーハの欠陥を検出する検出部と、
を備え、
前記搬送部は、
エアーによって前記ステージの上方で水平浮上している前記ウェーハの外周縁に当接する当接部と、
前記ステージに対して前記当接部を相対移動させる駆動部と、
を備え、前記駆動部によって前記ステージに対して前記当接部を相対移動させることにより前記ウェーハを一方向に移動させ、前記検査情報取得部に前記ウェーハを水平浮上させたまま通過させ、
前記検査情報取得部は、
前記ウェーハが通過した際に前記ウェーハの検査用情報を取得する、
ウェーハ検査装置。
続きを表示(約 2,400 文字)
【請求項2】
前記通気ブロックは、
多孔質部材により形成されており、前記ウェーハの面に向けてエアーを排出する排気孔と、前記通気ブロックと前記ウェーハの面との間のエアーを吸気する吸気孔と、を備え、前記排気孔からのエアーの排気と、前記吸気孔からのエアーの吸気とによって、前記通気ブロックと前記ウェーハの面との間の圧力を調整し、前記通気ブロックの上方に前記ウェーハを水平浮上させる、
請求項1に記載のウェーハ検査装置。
【請求項3】
前記検査情報取得部は、
前記ウェーハが移動する一方向に対して直交する方向に沿って配置された複数の光源と、
前記ウェーハが移動する一方向に対して直交する方向に沿って、前記光源と対向するように配置された複数の受光部と、
を備え、
前記受光部は、
前記光源と前記受光部との間を前記ウェーハが通過する際に、前記光源から前記ウェーハに照射光が照射されることにより前記ウェーハを透過した透過光を受光し、得られた受光結果を前記検査用情報として前記検出部に出力する、
請求項1に記載のウェーハ検査装置。
【請求項4】
前記ステージには、
前記通気ブロックが複数設けられ、
前記検査情報取得部は、
隣接する前記通気ブロックの間に設けられ、かつ、一方向に移動する前記ウェーハが通過可能な開口部を有した開口形成部を備えており、
前記開口形成部には、
前記開口部を挟んで前記複数の光源及び前記複数の受光部が対向配置されている、
請求項3に記載のウェーハ検査装置。
【請求項5】
前記当接部は、
前記ウェーハの一方の外周縁に当接する複数の第1当接部と、
前記ウェーハを介して前記複数の第1当接部と対向配置され、かつ、前記ウェーハの他方の外周縁に当接する複数の第2当接部と、
を備え、
前記搬送部は、
前記ウェーハの一方の外周縁に前記複数の第1当接部を当接させて前記駆動部によって前記ステージに対して前記複数の第1当接部を相対移動させることにより、前記ウェーハを水平浮上させたまま一方向に移動させ、前記検査情報取得部に前記ウェーハを通過させる第1搬送動作と、
前記第1搬送動作により前記検査情報取得部を通過させた後に、前記ウェーハの他方の外周縁に前記複数の第2当接部を当接させて前記駆動部によって前記ステージに対して前記複数の第2当接部を相対移動させることにより、前記ウェーハを水平浮上させたまま一方向とは逆方向の他方向に移動させ、前記検査情報取得部に前記ウェーハを再び通過させる第2搬送動作と、
を実行する、請求項1に記載のウェーハ検査装置。
【請求項6】
前記第1搬送動作では、
少なくとも前記ウェーハが前記検査情報取得部を通過する間、前記複数の第2当接部が前記ウェーハに当接していない状態となり、
前記第2搬送動作では、
少なくとも前記ウェーハが前記検査情報取得部を通過する間、前記複数の第1当接部が前記ウェーハに当接していない状態となる、
請求項5に記載のウェーハ検査装置。
【請求項7】
前記第1搬送動作では、
前記ウェーハが前記検査情報取得部を通過してから前記一方向の移動が停止する前までの間に、前記複数の第2当接部が前記ウェーハに当接した状態となり、
前記第2搬送動作では、
前記ウェーハが前記検査情報取得部を通過してから前記他方向の移動が停止する前までの間に、前記複数の第1当接部が前記ウェーハに当接した状態となる、
請求項6に記載のウェーハ検査装置。
【請求項8】
前記当接部は、
前記ウェーハの一方の外周縁に当接する複数の第1当接部と、
前記ウェーハを介して前記複数の第1当接部と対向配置され、かつ、前記ウェーハの他方の外周縁に当接する複数の第2当接部と、
を備え、
前記搬送部は、
前記ウェーハの一方の外周縁に前記複数の第1当接部を当接させて前記駆動部によって前記ステージに対して前記複数の第1当接部を相対移動させることにより、前記ウェーハを水平浮上させたまま一方向に移動させ、前記検査情報取得部に前記ウェーハを通過させる搬送動作を実行し、
前記複数の第2当接部は、前記搬送動作による前記ウェーハの前記一方向の移動の停止する際に、前記ウェーハが前記検査情報取得部を通過してから前記一方向の移動が停止する前までの間に前記ウェーハに当接した状態となる、
請求項1に記載のウェーハ検査装置。
【請求項9】
ウェーハから得た検査用情報に基づいて前記ウェーハの欠陥の有無を検査するために、前記検査用情報を取得する検査情報取得部に前記ウェーハを通過させるウェーハ搬送装置において、
通気ブロックの上に前記ウェーハが配置され、前記通気ブロックから前記ウェーハの面に向けてエアーを排出することにより前記ウェーハを前記通気ブロックの上方に水平浮上させるステージと、
エアーによって前記ステージの上方に水平浮上させた前記ウェーハを前記ステージに対して一方向に搬送する搬送部と、
を備え、
前記搬送部は、
エアーによって前記ステージの上方で水平浮上している前記ウェーハの外周縁に当接する当接部と、
前記ステージに対して前記当接部を相対移動させる駆動部と、
を備え、前記駆動部によって前記ステージに対して前記当接部を相対移動させることにより前記ウェーハを一方向に移動させ、前記検査情報取得部に前記ウェーハを水平浮上させたまま通過させる、
ウェーハ搬送装置。
発明の詳細な説明
【技術分野】
【0001】
本発明は、ウェーハ検査装置及びウェーハ搬送装置に関する。
続きを表示(約 2,600 文字)
【背景技術】
【0002】
従来、ウェーハの欠陥には、製造時や搬送時に生じる微小な割れ(クラック)、結晶成長時に導入されるピンホール欠陥、双晶欠陥、ウェーハ熱処理時に導入されるスリップ欠陥、及びウェーハ搬送時に導入される疵等が知られている。これらの欠陥には、ウェーハの裏面から表面まで達する欠陥(表面まで突き抜けた欠陥)、ウェーハの表面あるいは裏面だけに存在する欠陥(表面まで突き抜けてはいない欠陥)、ウェーハ内部に存在して、ウェーハ表面および裏面から見えない欠陥がある。
【0003】
ウェーハの内部に存在する欠陥を検査するウェーハ検査装置として、赤外線又はX線(以下、単に照射光とも称する)をウェーハの検査面に対して垂直に照射して、当該検査面を透過した赤外線又はX線の透過光の強度を検出して、ウェーハの表面及び裏面の間に存在する欠陥等を検出可能なウェーハ検査装置が知られている(例えば、特許文献1参照)。
【先行技術文献】
【特許文献】
【0004】
特開2020-26954号公報
【発明の概要】
【発明が解決しようとする課題】
【0005】
しかしながら、前述したウェーハ検査装置では、検査時にウェーハの中心を水平保持しているため、自重によってウェーハの外周側に反りやたわみが生じるおそれがあり、ウェーハに生じた意図しない反りやたわみによって、光源からの照射光が、ウェーハの検査面に対して垂直に入射され難いこともある。このように、照射光がウェーハの検査面に垂直に入射されないと、ウェーハ内部の欠陥を正確に検出し難いという問題がある。また、ウェーハの表面をカメラ等の撮像部で撮影してウェーハの表面の疵等を検査するウェーハ検査装置においても、ウェーハの外周側に反りやたわみが生じると、ウェーハの検査面を撮像部により撮像し難くなり、ウェーハ外部の欠陥を正確に検出し難いという問題がある。
【0006】
本発明の目的は、ウェーハの欠陥を従来よりも正確に検出できるウェーハ検査装置及びウェーハ搬送装置を提供することを目的とする。
【課題を解決するための手段】
【0007】
本発明に係るウェーハ検査装置は、ウェーハの欠陥の有無を検査するウェーハ検査装置において、通気ブロックの上に前記ウェーハが配置され、前記通気ブロックから前記ウェーハの面に向けてエアーを排出することにより前記ウェーハを前記通気ブロックの上方に水平浮上させるステージと、エアーによって前記ステージの上方に水平浮上させた前記ウェーハを前記ステージに対して一方向に搬送する搬送部と、前記ウェーハの検査用情報を取得する検査情報取得部と、前記検査情報取得部で取得した前記ウェーハの検査用情報に基づいて前記ウェーハの欠陥の有無を検出する検出部と、を備え、前記搬送部は、エアーによって前記ステージの上方で水平浮上している前記ウェーハの外周縁に当接する当接部と、前記ステージに対して前記当接部を相対移動させる駆動部と、を備え、前記駆動部によって前記ステージに対して前記当接部を相対移動させることにより前記ウェーハを一方向に移動させ、前記検査情報取得部に前記ウェーハを水平浮上させたまま通過させ、前記検査情報取得部は、前記ウェーハが通過した際に前記ウェーハの検査用情報を取得する。
【0008】
また、本発明に係るウェーハ搬送装置は、ウェーハから得た検査用情報に基づいて前記ウェーハの欠陥の有無を検査するために、前記検査用情報を取得する検査情報取得部に前記ウェーハを通過させるウェーハ搬送装置において、通気ブロックの上に前記ウェーハが配置され、前記通気ブロックから前記ウェーハの面に向けてエアーを排出することにより前記ウェーハを前記通気ブロックの上方に水平浮上させるステージと、エアーによって前記ステージの上方に水平浮上させた前記ウェーハを前記ステージに対して一方向に搬送する搬送部と、を備え、前記搬送部は、エアーによって前記ステージの上方で水平浮上している前記ウェーハの外周縁に当接する当接部と、前記ステージに対して前記当接部を相対移動させる駆動部と、を備え、前記駆動部によって前記ステージに対して前記当接部を相対移動させることにより前記ウェーハを一方向に移動させ、前記検査情報取得部に前記ウェーハを水平浮上させたまま通過させる。
【発明の効果】
【0009】
本発明によれば、エアーによってウェーハを水平浮上させることで、ウェーハの反りやたわみの発生を抑制できるので、欠陥の有無の検査時にウェーハの反りやたわみによる影響が少なくなり、その分、ウェーハの欠陥を従来よりも正確に検出することができる。
【図面の簡単な説明】
【0010】
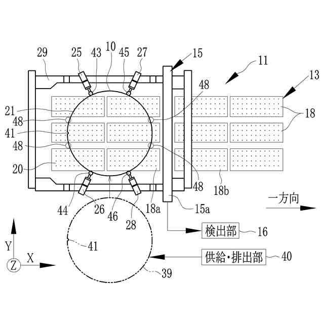
本実施形態に係るウェーハ検査装置の全体構成を示す斜視図である。
図1に示したウェーハ検査装置においてウェーハが初期位置に配置されている状態を示す概略図である。
図1に示したウェーハ検査装置においてウェーハがリターン位置まで移動したときの状態を示す概略図である。
検査情報取得部の構成を示す斜視図である。
ウェーハを透過する透過光を受光部が受光する位置を説明するための説明図である。
通気ブロック上でウェーハを搬送するときの状態(1)を示す概略図である。
通気ブロック上でウェーハを搬送するときの状態(2)を示す概略図である。
ノッチに対して所定位置に現れる双晶欠陥について説明するための説明図である。
図8とは異なる他の位置に現れる双晶欠陥を説明するための説明図である。
ウェーハを一方向に搬送する、他の実施形態の搬送部を説明するための説明図である。
ウェーハを他方向に搬送する、他の実施形態の搬送部を説明するための説明図である。
移動方向上流側の当接部だけを接触させてウェーハが検査情報取得部を通過させるとともに初期位置及びリターン位置で停止する前に移動方向下流側の当接部を接触させる例を示す説明図である。
【発明を実施するための形態】
(【0011】以降は省略されています)
この特許をJ-PlatPat(特許庁公式サイト)で参照する
関連特許
東ソー株式会社
絶縁電線
20日前
APB株式会社
蓄電セル
18日前
個人
フレキシブル電気化学素子
1か月前
マクセル株式会社
電源装置
12日前
株式会社東芝
端子台
12日前
株式会社ユーシン
操作装置
1か月前
ローム株式会社
半導体装置
1か月前
日新イオン機器株式会社
イオン源
28日前
ローム株式会社
半導体装置
19日前
株式会社GSユアサ
蓄電設備
1か月前
株式会社GSユアサ
蓄電装置
5日前
株式会社ホロン
冷陰極電子源
26日前
株式会社GSユアサ
蓄電設備
1か月前
株式会社GSユアサ
蓄電装置
13日前
株式会社GSユアサ
蓄電装置
13日前
太陽誘電株式会社
コイル部品
1か月前
オムロン株式会社
電磁継電器
1か月前
トヨタ自動車株式会社
蓄電装置
13日前
日東電工株式会社
積層体
1か月前
日本特殊陶業株式会社
保持装置
21日前
日新イオン機器株式会社
基板処理装置
15日前
日本特殊陶業株式会社
保持装置
4日前
トヨタ自動車株式会社
バッテリ
1か月前
ノリタケ株式会社
熱伝導シート
1か月前
トヨタ自動車株式会社
冷却構造
20日前
サクサ株式会社
電池の固定構造
1か月前
トヨタ自動車株式会社
蓄電装置
1か月前
トヨタ自動車株式会社
バッテリ
18日前
北道電設株式会社
配電具カバー
18日前
株式会社トクヤマ
シリコンエッチング液
26日前
日亜化学工業株式会社
半導体レーザ素子
15日前
トヨタ自動車株式会社
電池パック
25日前
トヨタ自動車株式会社
電池パック
25日前
株式会社デンソー
電子装置
15日前
日本無線株式会社
レーダアンテナ
6日前
日本製紙株式会社
導電性フィルム
1か月前
続きを見る
他の特許を見る