TOP
|
特許
|
意匠
|
商標
特許ウォッチ
Twitter
他の特許を見る
10個以上の画像は省略されています。
公開番号
2025168541
公報種別
公開特許公報(A)
公開日
2025-11-07
出願番号
2025147501,2021196005
出願日
2025-09-05,2021-12-02
発明の名称
補給システム
出願人
キヤノン株式会社
代理人
弁理士法人近島国際特許事務所
主分類
G03G
21/00 20060101AFI20251030BHJP(写真;映画;光波以外の波を使用する類似技術;電子写真;ホログラフイ)
要約
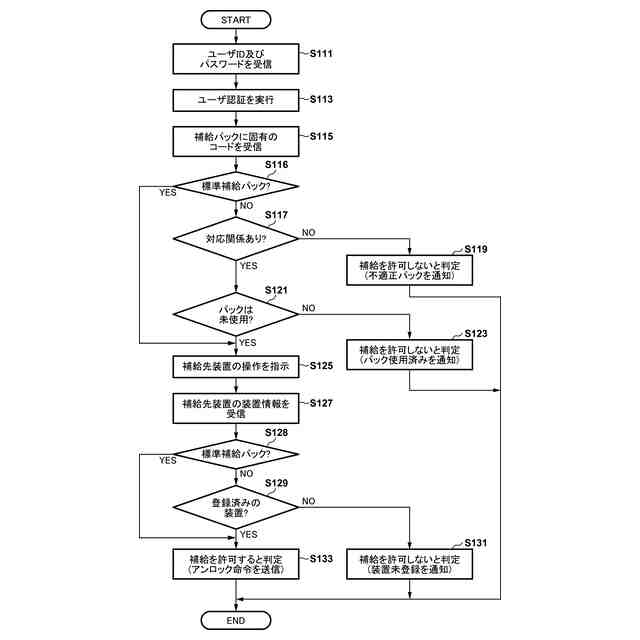
【課題】所定のサービスを通じて提供された消耗材を補給するための収容デバイスが、所定のサービスの対象ではない画像形成装置によって使用されることを抑制可能な情報処理装置及び補給システムを提供する。
【解決手段】判定手段は、第1の画像形成装置に対して第1の収容デバイスが使用される場合、及び前記第1の画像形成装置に対して第2の収容デバイスが使用される場合、収容デバイスの使用を許可し、前記第2の画像形成装置に対して前記第1の収容デバイスが使用される場合、前記収容デバイスの使用を許可せず、前記第2の画像形成装置に対して前記第2の収容デバイスが使用される場合、前記収容デバイスの使用を許可する。
【選択図】図18
特許請求の範囲
【請求項1】
消耗材を使用してシートに画像を形成する画像形成装置に対して着脱可能であり、前記消耗材を収容する収容デバイスであって、前記画像形成装置に装着された状態で前記画像形成装置に設けられた消耗材収容部へ前記消耗材を補給することが可能な前記収容デバイスの使用を許可するか否かを判定する情報処理装置において、
前記収容デバイスが前記画像形成装置において使用される前に、前記収容デバイスが第1の収容デバイスであるか第2の収容デバイスであるかを識別するための第1識別情報を取得する取得手段と、
前記取得手段により取得した前記第1識別情報と、前記収容デバイスを装着して前記消耗材を補給する対象が第1の画像形成装置であるか第2の画像形成装置であるかを識別するための第2識別情報と、に基づいて前記収容デバイスの使用を許可するか否かを判定する判定手段と、
所定のサービスの対象となっている画像形成装置に関する情報を記憶する記憶手段と、を有し、
前記記憶手段に、前記第1の画像形成装置が前記所定のサービスの対象となっていることに関する情報が記憶されており、前記第2の画像形成装置が前記所定のサービスの対象となっていることに関する情報は記憶されていない状態において、
前記判定手段は、前記第1の画像形成装置に対して前記第1の収容デバイスが使用される場合、及び前記第1の画像形成装置に対して前記第2の収容デバイスが使用される場合、前記収容デバイスの使用を許可し、
前記第2の画像形成装置に対して前記第1の収容デバイスが使用される場合、前記収容デバイスの使用を許可せず、前記第2の画像形成装置に対して前記第2の収容デバイスが使用される場合、前記収容デバイスの使用を許可する、
ことを特徴とする情報処理装置。
続きを表示(約 2,600 文字)
【請求項2】
前記判定手段は、前記第1の画像形成装置に対して前記第1の収容デバイスが使用される場合、及び前記第1の画像形成装置に対して前記第2の収容デバイスが使用される場合であっても、前記収容デバイスが使用済みである場合には、前記収容デバイスの使用を許可しない、
ことを特徴とする請求項1に記載の情報処理装置。
【請求項3】
前記第1識別情報は、ユーザ端末を介して前記判定手段に送信される、
ことを特徴とする請求項1又は2に記載の情報処理装置。
【請求項4】
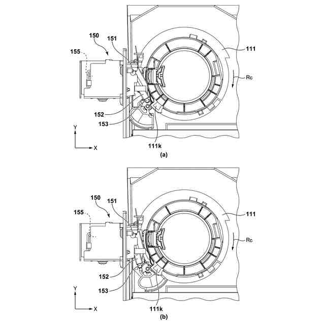
第1のアカウントを有する第1のユーザに対応づけられる第1の画像形成装置であって、画像形成のために消費される消耗材を収容する第1収容部と、前記第1収容部へ消耗材が補給されるための第1補給経路と、前記第1補給経路を開閉する第1開閉部と、前記第1開閉部が開放されることを規制するための第1規制位置と、前記第1開閉部が開放されることを許容するための第1許容位置と、に移動可能な第1規制部と、前記第1規制部を前記第1規制位置と前記第1許容位置との間で移動させる第1アクチュエータと、を有する第1の画像形成装置と、
前記第1のアカウントとは異なる第2のアカウントを有する第2のユーザに対応づけられる第2の画像形成装置であって、画像形成のために消費される消耗材を収容する第2収容部と、前記第2収容部へ消耗材が補給されるための第2補給経路と、前記第2補給経路を開閉する第2開閉部と、前記第2開閉部が開放されることを規制するための第2規制位置と、前記第2開閉部が開放されることを許容するための第2許容位置と、に移動可能な第2規制部と、前記第2規制部を前記第2規制位置と前記第2許容位置との間で移動させる第2アクチュエータと、を有する第2の画像形成装置と、
第1の認証情報が付与され、画像形成のために消費される消耗材を収容する第1の収容デバイスと、
前記第1の認証情報とは異なる第2の認証情報が付与され、画像形成のために消費される消耗材を収容する第2の収容デバイスと、
前記第1のユーザによって前記第1の認証情報又は前記第2の認証情報に関する情報が入力されたこと、若しくは前記第2のユーザによって前記第2の認証情報に関する情報が入力されたことに基づいて、認証信号を出力し、かつ前記第2のユーザによって前記第1の認証情報に関する情報が入力された場合には、前記認証信号を出力しない認証手段と、を備え、
前記第1アクチュエータは、前記第1の画像形成装置に前記認証信号が入力された場合、前記第1規制部を前記第1規制位置から前記第1許容位置へ移動させ、
前記第2アクチュエータは、前記第2の画像形成装置に前記認証信号が入力された場合、前記第2規制部を前記第2規制位置から前記第2許容位置へ移動させ、前記第2の画像形成装置に前記認証信号が入力されない場合、前記第2規制部を前記第2規制位置に保持する、
ことを特徴とする補給システム。
【請求項5】
前記第1のアカウントは、所定のサービスの対象となっており、
前記第2のアカウントは、前記所定のサービスの対象となっていない、
ことを特徴とする請求項4に記載の補給システム。
【請求項6】
前記第1の収容デバイスが使用済みでないことを第1の条件とし、前記第2の収容デバイスが使用済みでないことを第2の条件とした場合、
前記認証手段は、前記第1の条件及び前記第2の条件を満たし、前記第1のユーザによって前記第1の認証情報又は前記第2の認証情報に関する情報が入力されたこと、若しくは前記第2の条件を満たし、前記第2のユーザによって前記第2の認証情報に関する情報が入力されたことに基づいて、前記認証信号を出力し、かつ前記第1の条件又は前記第2の条件を満たさず、前記第1のユーザ及び前記第2のユーザのいずれかによって前記第1の認証情報に関する情報及び前記第2の認証情報に関する情報のいずれかが入力された場合には、前記認証信号を出力しない、
ことを特徴とする請求項4又は5に記載の補給システム。
【請求項7】
前記第1の認証情報及び前記第2の認証情報を読み取り可能なユーザ端末を更に備え、
前記第1の認証情報に関する情報及び前記第2の認証情報に関する情報は、前記ユーザ端末を介して前記認証手段に送信される、
ことを特徴とする請求項4乃至6のいずれか1項に記載の補給システム。
【請求項8】
前記ユーザ端末は、メッセージを表示可能な表示部を有し、
前記認証手段は、前記第2のユーザによって前記第1の認証情報に関する情報が入力されたことに基づいて、前記ユーザ端末に通知信号を出力し、
前記表示部は、前記ユーザ端末が前記通知信号を受信したことに基づいて、前記第1の収容デバイスが前記第2の画像形成装置に使用不能な旨を示すメッセージを表示する、
ことを特徴とする請求項7に記載の補給システム。
【請求項9】
前記第1開閉部は、前記第1補給経路を開閉する第1装置シャッタと、前記第1装置シャッタを開閉するための第1操作部と、を有し、
前記第2開閉部は、前記第2補給経路を開閉する第2装置シャッタと、前記第2装置シャッタを開閉するための第2操作部と、を有し、
前記第1規制部は、前記第1規制位置において前記第1操作部の移動を規制し、かつ前記第1許容位置において前記第1操作部の移動を許容し、
前記第2規制部は、前記第2規制位置において前記第2操作部の移動を規制し、かつ前記第2許容位置において前記第2操作部の移動を許容する、
ことを特徴とする請求項4乃至8のいずれか1項に記載の補給システム。
【請求項10】
前記第1の画像形成装置又は前記第2の画像形成装置とネットワークを介して接続され、前記認証手段を含むサーバを更に備える、
ことを特徴とする請求項4乃至9のいずれか1項に記載の補給システム。
(【請求項11】以降は省略されています)
発明の詳細な説明
【技術分野】
【0001】
本発明は、消耗材を画像形成装置に補給する際に用いられる情報処理装置及び補給システムに関する。
続きを表示(約 3,200 文字)
【背景技術】
【0002】
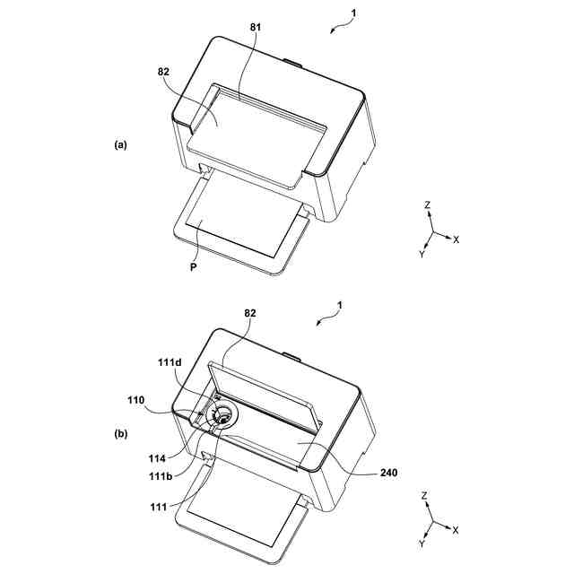
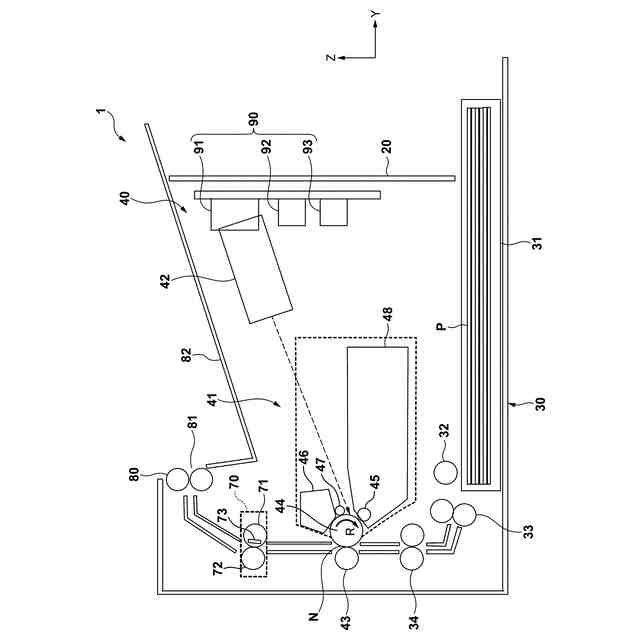
コピー機、プリンタ及びファクシミリ受信機といった画像形成装置は、トナー又はインクなどの消耗材を消費して記録媒体に画像を形成する。消耗材が枯渇すると、ユーザは、使用済みのカートリッジを新しいカートリッジへ交換する。このときカートリッジには、消耗材及び画像形成動作の主体となる各種機能部品が含まれており、このようなカートリッジをプロセスカートリッジと呼ぶ。一方、先の機能部品を含まない消耗材を収容したパックから画像形成装置のタンクへ消耗材を補給する補給方式が考案されている。先のプロセスカートリッジ方式と比較すると、補給時にのみ補給パックのようなデバイスを画像形成装置へ接続して消耗材を装置内へ補給(例えば、注入)する補給方式は、低コストであり且つ環境負荷が低いといった利点を有する。例えば、特許文献1は、トナーを収容しているシリンダ状の収容デバイスをプリンタへ接続し、収容デバイスからプリンタへトナーを補給するための仕組みを提案している。
【先行技術文献】
【特許文献】
【0003】
国際公開第2020/046338号
【発明の概要】
【発明が解決しようとする課題】
【0004】
一方、画像形成装置の分野では近年サブスクリプションサービスが普及し始めている。ここでサブスクリプションサービスとは、例えばユーザが使用するプリンタを事前にオンラインで登録し、ディーラに一定の金額を支払うことで、予め設定された規定枚数の印刷を実行することが可能なサービスである。上述した補給方式の画像形成装置にサブスクリプションサービスを適用した場合、契約対象のプリンタに含まれる消耗材の残量が少なくなると、ディーラから契約ユーザのもとにトナー補給用の収容デバイスが送付されることとなる。そして契約ユーザは、この収容デバイスから契約対象のプリンタにトナーを補給することによって契約条件下での印刷を行うことができる。例えばユーザは、契約で定められた規定枚数まで印刷を継続することができる。
【0005】
ここで、補給方式の一つとして、収容デバイスからプリンタへトナーを一括して補給する方式を出願人は検討している。しかしながら、この場合、ユーザが誤って契約対象ではない別のプリンタにトナーを補給してしまうと、プリンタの内部から補給済みのトナーを回収することは困難であり、またサブスクリプションサービスの管理が煩雑になるという課題が発生する。
【0006】
一方で、契約対象のプリンタに対し、所定のサービスを通じてユーザに提供される収容デバイスのみの使用を許可した場合、例えばユーザが提供された収容デバイスを使用前に紛失してしまうと、プリンタを利用できないダウンタイムが生じ得る。
【0007】
そこで、本発明は、所定のサービスを通じて提供された消耗材を補給するための収容デバイスが、所定のサービスの対象ではない画像形成装置によって使用されることを抑制可能な仕組みを提供することを目的とする。
【0008】
或いは、本発明は、所定のサービスを通じてユーザに消耗剤を収容した収容デバイスが提供される場合において、より画像形成装置の使い勝手を良くする仕組みを提供することを目的とする。
【課題を解決するための手段】
【0009】
本発明は、消耗材を使用してシートに画像を形成する画像形成装置に対して着脱可能であり、前記消耗材を収容する収容デバイスであって、前記画像形成装置に装着された状態で前記画像形成装置に設けられた消耗材収容部へ前記消耗材を補給することが可能な前記収容デバイスの使用を許可するか否かを判定する情報処理装置において、前記収容デバイスが前記画像形成装置において使用される前に、前記収容デバイスが第1の収容デバイスであるか第2の収容デバイスであるかを識別するための第1識別情報を取得する取得手段と、前記取得手段により取得した前記第1識別情報と、前記収容デバイスを装着して前記消耗材を補給する対象が第1の画像形成装置であるか第2の画像形成装置であるかを識別するための第2識別情報と、に基づいて前記収容デバイスの使用を許可するか否かを判定する判定手段と、所定のサービスの対象となっている画像形成装置に関する情報を記憶する記憶手段と、を有し、前記記憶手段に、前記第1の画像形成装置が前記所定のサービスの対象となっていることに関する情報が記憶されており、前記第2の画像形成装置が前記所定のサービスの対象となっていることに関する情報は記憶されていない状態において、前記判定手段は、前記第1の画像形成装置に対して前記第1の収容デバイスが使用される場合、及び前記第1の画像形成装置に対して前記第2の収容デバイスが使用される場合、前記収容デバイスの使用を許可し、前記第2の画像形成装置に対して前記第1の収容デバイスが使用される場合、前記収容デバイスの使用を許可せず、前記第2の画像形成装置に対して前記第2の収容デバイスが使用される場合、前記収容デバイスの使用を許可する、ことを特徴とする。
【0010】
また、本発明は、補給システムにおいて、第1のアカウントを有する第1のユーザに対応づけられる第1の画像形成装置であって、画像形成のために消費される消耗材を収容する第1収容部と、前記第1収容部へ消耗材が補給されるための第1補給経路と、前記第1補給経路を開閉する第1開閉部と、前記第1開閉部が開放されることを規制するための第1規制位置と、前記第1開閉部が開放されることを許容するための第1許容位置と、に移動可能な第1規制部と、前記第1規制部を前記第1規制位置と前記第1許容位置との間で移動させる第1アクチュエータと、を有する第1の画像形成装置と、前記第1のアカウントとは異なる第2のアカウントを有する第2のユーザに対応づけられる第2の画像形成装置であって、画像形成のために消費される消耗材を収容する第2収容部と、前記第2収容部へ消耗材が補給されるための第2補給経路と、前記第2補給経路を開閉する第2開閉部と、前記第2開閉部が開放されることを規制するための第2規制位置と、前記第2開閉部が開放されることを許容するための第2許容位置と、に移動可能な第2規制部と、前記第2規制部を前記第2規制位置と前記第2許容位置との間で移動させる第2アクチュエータと、を有する第2の画像形成装置と、第1の認証情報が付与され、画像形成のために消費される消耗材を収容する第1の収容デバイスと、前記第1の認証情報とは異なる第2の認証情報が付与され、画像形成のために消費される消耗材を収容する第2の収容デバイスと、前記第1のユーザによって前記第1の認証情報又は前記第2の認証情報に関する情報が入力されたこと、若しくは前記第2のユーザによって前記第2の認証情報に関する情報が入力されたことに基づいて、認証信号を出力し、かつ前記第2のユーザによって前記第1の認証情報に関する情報が入力された場合には、前記認証信号を出力しない認証手段と、を備え、前記第1アクチュエータは、前記第1の画像形成装置に前記認証信号が入力された場合、前記第1規制部を前記第1規制位置から前記第1許容位置へ移動させ、前記第2アクチュエータは、前記第2の画像形成装置に前記認証信号が入力された場合、前記第2規制部を前記第2規制位置から前記第2許容位置へ移動させ、前記第2の画像形成装置に前記認証信号が入力されない場合、前記第2規制部を前記第2規制位置に保持する、ことを特徴とする。
【発明の効果】
(【0011】以降は省略されています)
この特許をJ-PlatPat(特許庁公式サイト)で参照する
関連特許
キヤノン株式会社
容器
1か月前
キヤノン株式会社
容器
1か月前
キヤノン株式会社
トナー
1か月前
キヤノン株式会社
トナー
2か月前
キヤノン株式会社
トナー
2か月前
キヤノン株式会社
トナー
2か月前
キヤノン株式会社
トナー
1か月前
キヤノン株式会社
撮像装置
13日前
キヤノン株式会社
表示装置
11日前
キヤノン株式会社
撮像装置
1か月前
キヤノン株式会社
撮像装置
1か月前
キヤノン株式会社
撮像装置
1か月前
キヤノン株式会社
撮像装置
27日前
キヤノン株式会社
表示装置
11日前
キヤノン株式会社
表示装置
4日前
キヤノン株式会社
撮像装置
4日前
キヤノン株式会社
撮像装置
4日前
キヤノン株式会社
撮像装置
11日前
キヤノン株式会社
定着装置
25日前
キヤノン株式会社
現像装置
1か月前
キヤノン株式会社
記録装置
25日前
キヤノン株式会社
定着装置
25日前
キヤノン株式会社
撮像装置
11日前
キヤノン株式会社
記録装置
1か月前
キヤノン株式会社
撮像装置
1か月前
キヤノン株式会社
電子機器
27日前
キヤノン株式会社
電子機器
1か月前
キヤノン株式会社
撮像装置
1か月前
キヤノン株式会社
測距装置
1か月前
キヤノン株式会社
記録装置
1か月前
キヤノン株式会社
撮像装置
1か月前
キヤノン株式会社
電子機器
1か月前
キヤノン株式会社
記録装置
1か月前
キヤノン株式会社
表示装置
1か月前
キヤノン株式会社
電子機器
4日前
キヤノン株式会社
発光装置
11日前
続きを見る
他の特許を見る