TOP
|
特許
|
意匠
|
商標
特許ウォッチ
Twitter
他の特許を見る
10個以上の画像は省略されています。
公開番号
2025168311
公報種別
公開特許公報(A)
公開日
2025-11-07
出願番号
2025072020
出願日
2025-04-24
発明の名称
時系列異常検出
出願人
ファナック株式会社
代理人
個人
,
個人
,
個人
,
個人
主分類
G06N
3/0455 20230101AFI20251030BHJP(計算;計数)
要約
【課題】時系列データにおける異常検出のためのシステム及び方法を提供する。
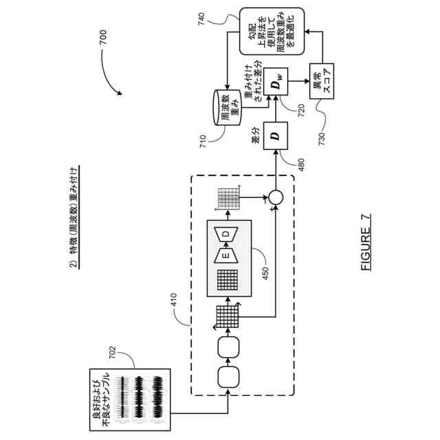
【解決手段】異常検出システム700において、再構成に基づく異常検出モジュール410は、時系列データサンプルに対して短時間フーリエ変換(STFT)を実行し、STFT周波数成分行列に特徴ジッタリングを適用し、特徴ジッタリング後のSTFT行列をエンコーダ/デコーダニューラルネットワーク450に入力し、エンコーダの前にマスキングを適用し、層毎の特徴埋め込みを行う。エンコーダ/デコーダニューラルネットワークの出力は再構成されたSTFT行列であり、このSTFT行列が入力STFT行列から差し引かれて差分行列480を生成し、差分行列から異常スコアを計算する。良好なデータサンプル及び不良なデータサンプルの両方で正確な異常スコアを達成するために、差分行列に適用される周波数重みを最適化する特徴重み付けが採用される。
【選択図】図7
特許請求の範囲
【請求項1】
再構成に基づく時系列異常検出のための方法であって、
時系列データサンプルに対して短時間フーリエ変換(STFT)を実行して入力STFT行列を提供することと、
前記入力STFT行列をエンコーダ/デコーダニューラルネットワークに提供し、前記エンコーダ/デコーダニューラルネットワークが再構成された出力STFT行列を計算することと、
周波数重みベクトルに、前記入力STFT行列と前記出力STFT行列との差分を乗算して、重み付けされた差分行列を生成することと、
前記重み付けされた差分行列から、前記時系列データサンプルの異常スコアを計算することと、を含む、方法。
続きを表示(約 1,100 文字)
【請求項2】
前記入力STFT行列、前記出力STFT行列、及び前記重み付けされた差分行列のそれぞれは、複数の時間区間の各々の複数の周波数成分の大きさを含む、請求項1に記載の方法。
【請求項3】
前記入力STFT行列が前記エンコーダ/デコーダニューラルネットワークに提供される前に、前記入力STFT行列に対して特徴ジッタリング演算が実行される、請求項1に記載の方法。
【請求項4】
前記エンコーダ/デコーダニューラルネットワークが、エンコーダモジュールの前に適用されるランダムマスキング機構を含み、層ごとのクエリ埋め込みを含む、請求項1に記載の方法。
【請求項5】
事前に分類された複数の良好な時系列データサンプルに対して前記異常スコアを計算し、前記異常スコアをニューラルネットワークの学習のためのフィードバックとして提供することにより、前記エンコーダ/デコーダニューラルネットワークが、教師あり学習を使用して訓練される、請求項1に記載の方法。
【請求項6】
前記教師あり学習は、前記エンコーダ/デコーダニューラルネットワークに、前記良好な時系列データサンプルに対して低い異常スコアを生成させるペナルティ又はレインフォースメントを含む、請求項5に記載の方法。
【請求項7】
前記周波数重みベクトルが、前記エンコーダ/デコーダニューラルネットワークの前記教師あり学習の間、すべての値が1に等しく設定される、請求項5に記載の方法。
【請求項8】
良好なサンプル及び不良なサンプルの両方を含む複数の事前に分類された時系列データサンプルの異常スコアを計算することと、前記周波数重みベクトルの値を反復的に調整し、前記良好なサンプル及び前記不良なサンプルの前記異常スコア間の差を最大化するように前記異常スコアを再計算することを含む、勾配上昇法最適化を実行することによって、前記周波数重みベクトルの値が決定される、請求項1に記載の方法。
【請求項9】
前記エンコーダ/デコーダニューラルネットワークが、良好な時系列データサンプルに対して低い異常スコアを生成するように訓練された後に、前記周波数重みベクトルの前記勾配上昇法最適化が実行される、請求項8に記載の方法。
【請求項10】
各時間区間における最大の周波数成分を有するベクトルを得るために前記重み付けされた差分行列のノルムをとり、最大の値を有する前記ベクトルの要素の数を選択し、前記最大の値を有する要素の数の平均として前記異常スコアを計算することによって、前記異常スコアが計算される、請求項1に記載の方法。
(【請求項11】以降は省略されています)
発明の詳細な説明
【技術分野】
【0001】
本開示は、概して、再構成に基づく異常検出方法に関し、より詳細には、短時間フーリエ変換を使用して時系列データを周波数成分入力行列に変換し、エンコーダ/デコーダニューラルネットワークを使用して出力行列を再構成し、入力行列と出力行列との間の差分に基づいて異常スコアを計算する、時系列データにおける異常検出の方法に関し、周波数重み付けを使用して異常検出性能を最適化する。
続きを表示(約 2,700 文字)
【背景技術】
【0002】
異常検出とは、何らかのタイプの入力データサンプルを解析して、そのデータサンプルが正常な状態を表しているか異常な状態を表しているかを判定する、広義の計算解析である。データサンプルは部品の画像であってもよく、この場合に、解析は部品が正常か異常かを判定し、また、データサンプルは動作からの時系列データであってもよく、この場合に、解析は動作状態が正常か異常かを判定する。
【0003】
この技術分野では、エンコーダ/デコーダニューラルネットワークを含むニューラルネットワークシステムを使用して、データサンプルに対して異常検出を実行することが知られている。ニューラルネットワークの訓練を管理可能にするためには、入力データストリームの次元を小さくする必要がある。入力データが部品の画像であるときには、特徴抽出を使用して画像ピクセルデータを、より低い次元を有する特徴の行列に低減することができる。しかしながら、他のタイプの入力データには、次元を低減するための異なる課題がある。
【0004】
異常検出におけるもう1つの基本的な課題は、「良好な」物/工程を表す入力データと、「不良な」物/工程を表す入力データとの間のデータ不均衡である。すなわち、ニューラルネットワークシステムを訓練するために使用される良好な物/工程の数は、通常、不良な物/工程の数をはるかに上回る。このため、ニューラルネットワークが、良好な物/工程と不良な物/工程の特性を正確に区別するモデルを構築することが困難になることがある。
【0005】
この技術分野では、異常検出システムの有効性の改善を試みる手法が知られている。これらの手法は、良好なスコアと不良なスコアの間の閾値の単純な調整から、ニューラルネットワーク分類器の適合化、特徴ベクトル計算における1回ごとのフィルタ重み付けまで、多岐にわたる。しかしながら、これらの既存の手法はいずれも、特に入力データストリームが時系列データであるアプリケーションに対して、柔軟に適応し、異常検出結果を改善するのに有効であることが証明されていない。
【発明の概要】
【発明が解決しようとする課題】
【0006】
上述した状況を考慮すると、既存の手法では単一の異常データポイントを検出することが難しい場合がある時系列入力データからの異常検出には、改良された方法が必要とされている。
【課題を解決するための手段】
【0007】
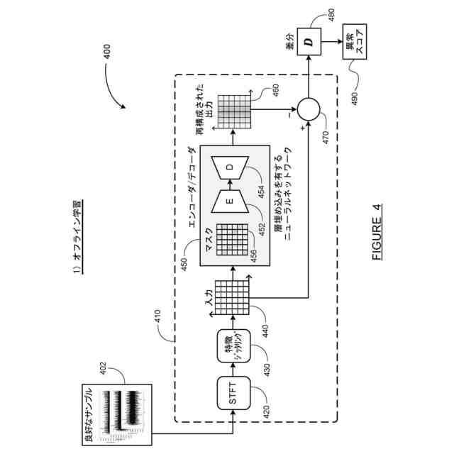
以下の開示では、時系列入力データから異常検出を行う方法及びシステムについて説明する。再構成に基づく異常検出モジュールが構築され、このモジュールでは、最初に時系列データサンプルに対して短時間フーリエ変換(short time Fourier transform、STFT)が実行され、次にランダムかつ静的な特徴ジッタリング(feature jittering)が、時間区間ごとの周波数成分の大きさのSTFT行列に適用される。特徴ジッタリング後のSTFT行列が、エンコーダ/デコーダニューラルネットワークに入力され、この場合に、エンコーダの前にランダムかつ動的なマスキングが適用され、層ごとの特徴埋め込みが採用される。エンコーダ/デコーダニューラルネットワークの出力は、再構成されたSTFT行列であり、この行列が入力STFT行列から差し引かれて差分行列が生成され、差分行列から異常スコアが計算される。良好なデータサンプルでエンコーダ/デコーダニューラルネットワークを訓練した後、良好なデータサンプル及び不良なデータサンプルの両方に対して最も正確な異常スコアを達成するために、差分行列に適用される周波数重みを最適化する特徴重み付け手法が採用される。エンコーダ/デコーダニューラルネットワークの訓練と周波数重み付けの最適化の後、完全な異常検出システムが生産データの推論モードで使用される。
【0008】
本開示の追加的な特徴は、添付の図面と併せて考慮される以下の説明及び添付の特許請求の範囲から明らかになるであろう。
【図面の簡単な説明】
【0009】
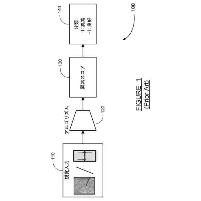
図1は、この技術分野で知られている異常検出システムの基本的な構造を示すブロック図である。
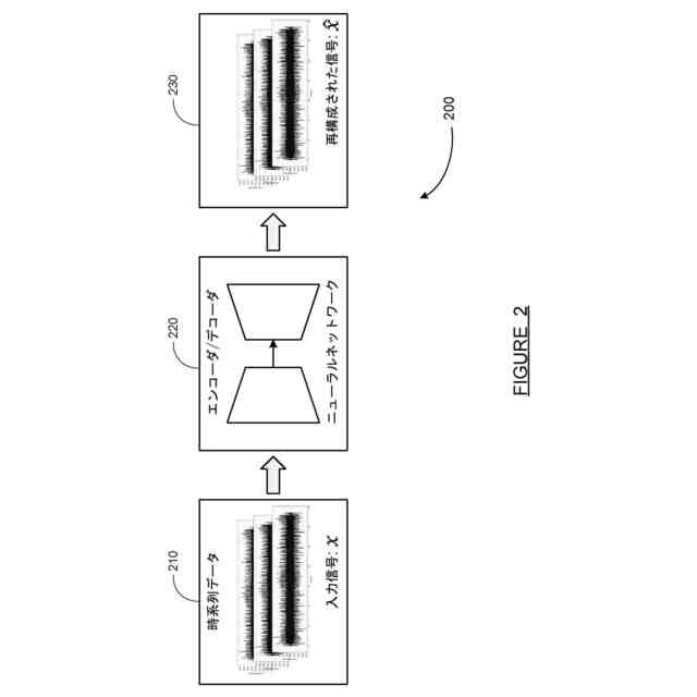
図2は、本開示の実施形態における再構成に基づく異常検出システムのブロック図である。
図3は、本開示の一実施形態における、時系列異常検出手法を使用して解析することのできる振動データが記録される加工システムの概略図である。
図4は、本開示の一実施形態における、オフライン学習用に構成された異常検出システムのブロック図であり、エンコーダ/デコーダニューラルネットワークを有する再構成に基づく異常検出モジュールが良好な時系列データサンプルで訓練される。
図5は、この技術分野で知られているように、時系列データサンプルに対して実行された短時間フーリエ変換(STFT)の結果の図である。
図6は、本開示の一実施形態における、入力STFT行列と再構成STFT行列との差分から異常スコアを計算する手法の図である。
図7は、本開示の一実施形態における、特徴重み付けのために構成された異常検出システムのブロック図であり、図4の再構成に基づく異常検出モジュールに良好なデータサンプル及び不良なデータサンプルの両方が提供され、異常スコア結果を最適化する特徴重みが決定される。
図8は、本開示の一実施形態における、図7に描かれた特徴重み付け手法によって決定されたX、Y、Z時系列データ信号の周波数重みのグラフを含む。
図9は、本開示の一実施形態における、推論モードでのオンラインテスト用に構成された異常検出システムのブロック図であり、動作データサンプルが、図4の訓練された異常検出モジュールに提供され、最適化された周波数重みを使用して、異常スコア及び分類を決定する。
図10は、本開示の実施形態における、エンコーダ/デコーダニューラルネットワークを訓練し、異常スコアを計算するために使用される周波数重みを最適化することを含む再構成に基づく時系列異常検出のための方法のフローチャート図である。
【発明を実施するための形態】
【0010】
時系列異常検出のための再構成に基づく方法を対象とする本開示の実施形態に関する以下の議論は、本質的に単に例示的なものであり、開示された手法又はその適用もしくは使用を制限することを決して意図するものではない。
(【0011】以降は省略されています)
この特許をJ-PlatPat(特許庁公式サイト)で参照する
関連特許
個人
詐欺保険
27日前
個人
縁伊達ポイン
27日前
個人
RFタグシート
14日前
個人
5掛けポイント
3日前
個人
地球保全システム
1か月前
個人
ペルソナ認証方式
11日前
個人
QRコードの彩色
1か月前
個人
情報処理装置
6日前
個人
自動調理装置
13日前
個人
残土処理システム
1か月前
個人
農作物用途分配システム
26日前
個人
インターネットの利用構造
10日前
個人
知的財産出願支援システム
1か月前
個人
タッチパネル操作指代替具
20日前
個人
スケジュール調整プログラム
19日前
個人
携帯端末障害問合せシステム
19日前
株式会社キーエンス
受発注システム
1か月前
個人
海外支援型農作物活用システム
1か月前
個人
エリアガイドナビAIシステム
11日前
株式会社キーエンス
受発注システム
1か月前
個人
食品レシピ生成システム
1か月前
株式会社キーエンス
受発注システム
1か月前
個人
音声・通知・再配達UX制御構造
1か月前
株式会社ワコム
電子ペン
5日前
株式会社ワコム
電子ペン
5日前
個人
帳票自動生成型SaaSシステム
1か月前
トヨタ自動車株式会社
通知装置
17日前
大同特殊鋼株式会社
疵判定方法
1か月前
株式会社ケアコム
項目選択装置
6日前
株式会社ケアコム
項目選択装置
6日前
個人
未来型家系図構築システム
1か月前
キヤノン株式会社
印刷システム
19日前
エッグス株式会社
情報処理装置
20日前
キヤノン株式会社
表示システム
1か月前
キヤノン株式会社
情報処理装置
4日前
大同特殊鋼株式会社
棒材計数方法
1か月前
続きを見る
他の特許を見る