TOP
|
特許
|
意匠
|
商標
特許ウォッチ
Twitter
他の特許を見る
10個以上の画像は省略されています。
公開番号
2025168288
公報種別
公開特許公報(A)
公開日
2025-11-07
出願番号
2025068935
出願日
2025-04-18
発明の名称
容器、液体保持体、インクタンク、インクジェットプリンター
出願人
キヤノン株式会社
代理人
個人
,
個人
,
個人
,
個人
主分類
B65D
1/00 20060101AFI20251030BHJP(運搬;包装;貯蔵;薄板状または線条材料の取扱い)
要約
【課題】金属石鹸を含有するリサイクル樹脂を材料として用いた場合でも、リサイクル樹脂に含まれる金属石鹸による内容物の特性への影響を抑制することが可能な容器を提供する。
【解決手段】複層樹脂成形体を有する容器であって、前記複層樹脂成形体は、第1樹脂層と、前記第1樹脂層よりも、前記容器の内側に位置する第2樹脂層と、を含み、前記第2樹脂層を構成する樹脂組成物がポリオレフィン樹脂を含み、前記第1樹脂層と前記第2樹脂層とが重なる領域の少なくとも一部において、前記第2樹脂層の厚さは前記第1樹脂層の厚さよりも小さく、前記第2樹脂層における金属石鹸の濃度が、前記第1樹脂層における金属石鹸の濃度より低いことを特徴とする容器。
【選択図】図1
特許請求の範囲
【請求項1】
複層樹脂成形体を有する容器であって、
前記複層樹脂成形体は、第1樹脂層と、前記第1樹脂層よりも前記容器の内側に位置する第2樹脂層と、を含み、
前記第2樹脂層を構成する樹脂組成物がポリオレフィン樹脂を含み、
前記第1樹脂層と前記第2樹脂層とが重なる領域の少なくとも一部において、前記第2樹脂層の厚さは前記第1樹脂層の厚さよりも小さく、 前記第2樹脂層における金属石鹸の濃度が、前記第1樹脂層における金属石鹸の濃度より低いことを特徴とする容器。
続きを表示(約 660 文字)
【請求項2】
前記第1樹脂層における前記金属石鹸の濃度が0.01質量%以上である、請求項1に記載の容器。
【請求項3】
前記第1樹脂層における前記金属石鹸の濃度と前記第2樹脂層における前記金属石鹸の濃度との差が0.01質量%pt以上である、請求項1に記載の容器。
【請求項4】
前記第1樹脂層における前記金属石鹸の濃度が2.0質量%以下である、請求項1に記載の容器。
【請求項5】
前記第2樹脂層における前記金属石鹸の濃度が0.01質量%未満である、請求項1に記載の容器。
【請求項6】
前記第1樹脂層における前記金属石鹸の濃度と前記第2樹脂層における前記金属石鹸の濃度との差が2.0質量%pt以下である、請求項1に記載の容器。
【請求項7】
前記第1樹脂層と前記第2樹脂層とが互いに隣接している、請求項1~6のいずれか1項に記載の容器。
【請求項8】
前記第2樹脂層は前記容器の内容物に接するように配置されている、請求項1~6のいずれか1項に記載の容器。
【請求項9】
前記第2樹脂層は前記容器の内容物に接するように配置されており、前記第1樹脂層は前記第2樹脂層に隣接するように配置されている、請求項1~6のいずれか1項に記載の容器。
【請求項10】
前記第1樹脂層は前記容器の外側に露出している、請求項1~6のいずれか1項に記載の容器。
(【請求項11】以降は省略されています)
発明の詳細な説明
【技術分野】
【0001】
本開示は容器、液体保持体、インクタンク、およびインクジェットプリンターに関するものである。
続きを表示(約 1,200 文字)
【背景技術】
【0002】
近年、環境負荷低減の要求が高まる中、インクジェットプリンター用インクカートリッジやインクタンクを始めとする液体貯留容器等の容器を形成する樹脂材料についてもリサイクル樹脂への転換が求められている。
【0003】
特許文献1には樹脂を含む材料で形成され、液体の貯留が可能な液体貯留容器、ならびにインクタンクの製造方法が開示されている。係る樹脂は使用済み樹脂を含んでおり、樹脂を溶融する工程で当該使用済み樹脂にチーグラー・ナッタ触媒、メタロセン触媒、および脱水縮合剤を添加して分子量を改善することが記載されている。これにより特許文献1に記載の製造方法は、容器の強度や物性の低下、着色を抑制することを特徴としている。
【先行技術文献】
【特許文献】
【0004】
特開2019-171645号公報
【発明の概要】
【発明が解決しようとする課題】
【0005】
容器が、容器の内容物の特性へ影響する場合がある。特許文献1は、容器の内容物に対する影響については言及していない。
【課題を解決するための手段】
【0006】
本開示の一態様は、内容物の特性への影響を抑制することが可能な容器を提供することを目的とする。
【0007】
本開示の一態様は、複層樹脂成形体を有する容器であって、前記複層樹脂成形体は、第1樹脂層と、前記第1樹脂層よりも、前記容器の内側に位置する第2樹脂層と、を含み、前記第2樹脂層を構成する樹脂組成物がポリオレフィン樹脂を含み、前記第1樹脂層と前記第2樹脂層とが重なる領域の少なくとも一部において、前記第2樹脂層の厚さは前記第1樹脂層の厚さよりも小さく、前記第2樹脂層における金属石鹸の濃度が、前記第1樹脂層における金属石鹸の濃度より低いことを特徴とする。
【発明の効果】
【0008】
本開示の一態様によれば、内容物の特性への影響を抑制することが可能な容器を提供することができる。
【図面の簡単な説明】
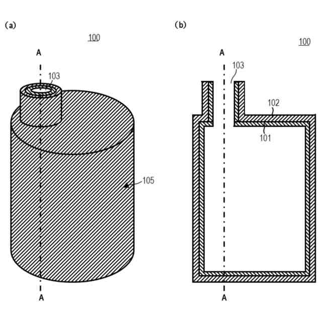
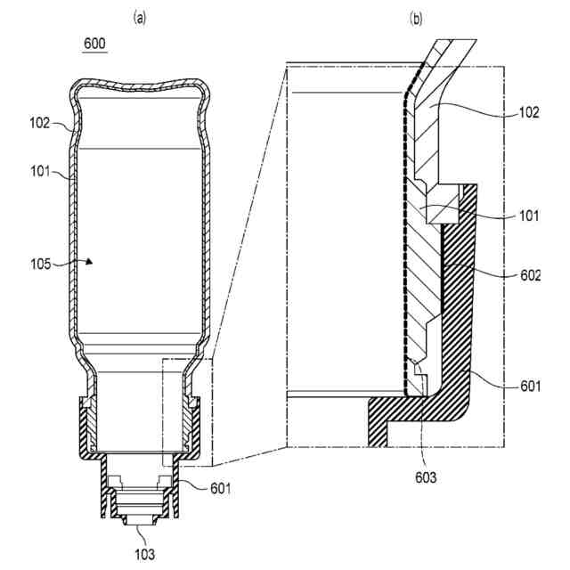
【0009】
本開示に係る容器の一実施形態を示す概略図である。
本開示に係る容器の一実施形態を示す概略図である。
実施例に係る複層樹脂成形体についての金属石鹸濃度差と密着力との関係を示したグラフである。
ダイレクトブロー成形による容器の製造例を示す図である。
実施例に係る角型形状の容器を示す概略図である。
本開示に係る容器の一実施形態を示す概略図である。
本開示に係る容器を備えたインクジェットプリンターの一実施形態を示す概略図である。
【発明を実施するための形態】
【0010】
次に、本開示の実施形態について図面を参照して説明する。なお、図面において、同様の要素または対応する要素には同一の符号を付し、その説明を省略または簡略化することがある。
(【0011】以降は省略されています)
この特許をJ-PlatPat(特許庁公式サイト)で参照する
関連特許
キヤノン株式会社
トナー
3日前
キヤノン株式会社
雲台装置
3日前
キヤノン株式会社
記録装置
3日前
キヤノン株式会社
撮像装置
3日前
キヤノン株式会社
測距装置
5日前
キヤノン株式会社
記録装置
3日前
キヤノン株式会社
電子機器
3日前
キヤノン株式会社
電子機器
3日前
キヤノン株式会社
撮像装置
4日前
キヤノン株式会社
液体収容体
5日前
キヤノン株式会社
情報処理装置
4日前
キヤノン株式会社
液体攪拌装置
3日前
キヤノン株式会社
画像形成装置
4日前
キヤノン株式会社
画像形成装置
3日前
キヤノン株式会社
画像形成装置
4日前
キヤノン株式会社
画像形成装置
3日前
キヤノン株式会社
画像形成装置
3日前
キヤノン株式会社
光電変換装置
3日前
キヤノン株式会社
画像形成装置
4日前
キヤノン株式会社
画像形成装置
4日前
キヤノン株式会社
画像形成装置
4日前
キヤノン株式会社
画像形成装置
3日前
キヤノン株式会社
画像形成装置
4日前
キヤノン株式会社
画像形成装置
4日前
キヤノン株式会社
画像形成装置
5日前
キヤノン株式会社
画像形成装置
5日前
キヤノン株式会社
ウレタン樹脂粉体
5日前
キヤノン株式会社
マイクロフォン装置
3日前
キヤノン株式会社
トランスデューサー
5日前
キヤノン株式会社
映像送受信システム
3日前
キヤノン株式会社
レンズ装置及び撮像装置
3日前
キヤノン株式会社
半導体集積回路及び機器
4日前
キヤノン株式会社
光電変換装置および機器
3日前
キヤノン株式会社
光電変換装置および機器
3日前
キヤノン株式会社
記録装置及びその制御方法
4日前
キヤノン株式会社
液体攪拌装置及びシステム
3日前
続きを見る
他の特許を見る