TOP
|
特許
|
意匠
|
商標
特許ウォッチ
Twitter
他の特許を見る
10個以上の画像は省略されています。
公開番号
2025168283
公報種別
公開特許公報(A)
公開日
2025-11-07
出願番号
2025068155
出願日
2025-04-17
発明の名称
情報処理装置、情報処理方法及びプログラム
出願人
株式会社システムツー・ワン
代理人
個人
,
個人
主分類
G16H
20/00 20180101AFI20251030BHJP(特定の用途分野に特に適合した情報通信技術)
要約
【課題】ユーザの心理状態に応じて適切な対応をとれるようにすること。
【解決手段】実施形態のサーバ1は、ユーザ情報取得部51、位置情報取得部52、情報管理部53、表示データ生成部55及び表示データ出力部56を備える。ユーザ情報取得部51は、ユーザを特定するユーザ識別情報及び当該ユーザの心理状態情報を取得する。位置情報取得部52は、ユーザの位置情報を取得する。情報管理部53は、ユーザ識別情報に、心理状態情報及び位置情報を関連付けて管理する。表示データ生成部55は、心理状態情報を、位置情報に基づいて表示する表示データ(例えば座席心理表)を生成する。表示データ出力部56は、表示データを出力する。これにより、ユーザの心理状態を位置情報に基づいて可視化でき、ユーザ毎に適切な対処方法をリアルタイムに講じることが可能になる。
【選択図】図4
特許請求の範囲
【請求項1】
ユーザを識別可能な情報をユーザ識別情報として、当該ユーザの1以上の心理状態を示す情報を心理状態情報として夫々取得するユーザ情報取得手段と、
前記心理状態情報が取得されたときに前記ユーザが存在する位置を示す情報を位置情報として取得する位置情報取得手段と、
前記ユーザ識別情報に対して、前記心理状態情報及び前記位置情報を関連付けて管理する情報管理手段と、
前記ユーザの前記心理状態情報を、前記位置情報に基づいて表示するためのデータを第1表示データとして生成する表示データ生成手段と、
前記表示データ生成手段により生成された前記第1表示データを出力する表示データ出力手段と、
を備える情報処理装置。
続きを表示(約 2,000 文字)
【請求項2】
前記心理状態情報に応じた表示内容を決定する表示内容決定手段を、
さらに備え、
前記表示データ生成手段は、前記表示内容決定手段により決定された表示内容で、前記心理状態情報を、前記位置情報に基づいて表示するデータを、前記第1表示データとして生成する、
請求項1に記載の情報処理装置。
【請求項3】
前記表示データ生成手段は、さらに、前記ユーザの前記心理状態情報に基づいて、前記ユーザの端末に表示させるためのデータを第2表示データとして生成し、
前記表示データ出力手段は、さらに、前記第2表示データを前記ユーザの前記端末に出力する、
請求項1に記載の情報処理装置。
【請求項4】
前記ユーザの端末は、前記ユーザが占有する場所に設けられた識別記号を読み取り、当該識別記号が設けられた位置の情報を前記位置情報として前記情報処理装置に送信すると共に、前記場所を占有する当該ユーザについての前記ユーザ識別情報を出力する、
請求項1に記載の情報処理装置。
【請求項5】
情報処理装置が実行する情報処理方法において、
ユーザを識別可能な情報をユーザ識別情報として、当該ユーザの1以上の心理状態を示す情報を心理状態情報として夫々取得するユーザ情報取得ステップと、
前記心理状態情報が取得されたときに前記ユーザが存在する位置を示す情報を位置情報として取得する位置情報取得ステップと、
前記ユーザ識別情報に対して、前記心理状態情報及び前記位置情報を関連付けて管理する情報管理ステップと、
前記ユーザの前記心理状態情報を、前記位置情報に基づいて表示するためのデータを第1表示データとして生成する表示データ生成ステップと、
前記表示データ生成ステップの処理により生成された前記第1表示データを出力する表示データ出力ステップと、
を含む情報処理方法。
【請求項6】
コンピュータに、
ユーザを識別可能な情報をユーザ識別情報として、当該ユーザの1以上の心理状態を示す情報を心理状態情報として夫々取得するユーザ情報取得ステップと、
前記心理状態情報が取得されたときに前記ユーザが存在する位置を示す情報を位置情報として取得する位置情報取得ステップと、
前記ユーザ識別情報に対して、前記心理状態情報及び前記位置情報を関連付けて管理する情報管理ステップと、
前記ユーザの前記心理状態情報を、前記位置情報に基づいて表示するためのデータを第1表示データとして生成する表示データ生成ステップと、
前記表示データ生成ステップの処理により生成された前記第1表示データを出力する表示データ出力ステップと、
を含む制御処理を実行させるプログラム。
【請求項7】
ユーザを識別可能な情報をユーザ識別情報として、当該ユーザの1以上の心理状態を示す情報を心理状態情報として夫々取得するユーザ情報取得手段と、
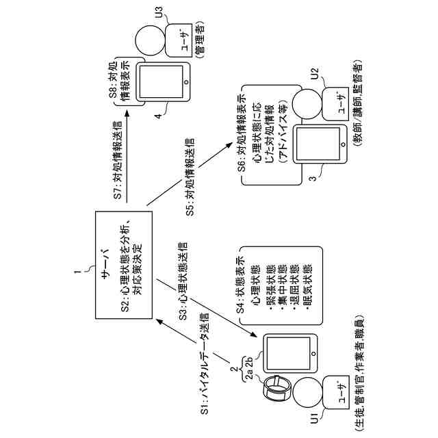
取得された前記心理状態情報により示される前記1以上の心理状態に関連する状況を分析し、当該分析の結果に基づいて前記心理状態に対する対応策を決定し、決定した当該対応策を示す情報を対処情報として生成する対処情報決定手段と、
前記対処情報を表示するためのデータを表示データとして生成する表示データ生成手段と、
前記表示データ生成手段により生成された前記表示データを出力する表示データ出力手段と、
を備える情報処理装置。
【請求項8】
前記心理状態情報は、高ストレス状態、緊張状態、集中状態、退屈状態、及び眠気状態を少なくとも含むN種類(Nは5以上の整数値)の状態のうち、少なくとも1つの状態を示す情報であり、
前記心理状態情報に応じた表示内容を決定する表示内容決定手段を、
さらに備え、
前記表示データ生成手段は、前記表示内容決定手段により決定された表示内容で、前記心理状態情報を、前記位置情報に基づいて表示するデータを、前記表示データとして生成する、
請求項7に記載の情報処理装置。
【請求項9】
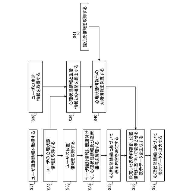
前記対処情報決定手段は、前記対処情報を提供する提供先情報を取得し、当該提供先情報に基づいた前記対処情報を決定する、
請求項7に記載の情報処理装置。
【請求項10】
ユーザの生活情報を取得する生活情報取得手段を、さらに備えており、
前記対処情報決定手段は、前記心理状態情報及び前記生活情報に基づいて対処情報を決定する、
請求項7に記載の情報処理装置。
(【請求項11】以降は省略されています)
発明の詳細な説明
【技術分野】
【0001】
本発明は、情報処理装置、情報処理方法及びプログラムに関する。
続きを表示(約 2,300 文字)
【背景技術】
【0002】
従来、ユーザの脈拍数を時系列で蓄積して解析し、ユーザの眠気を検出した場合にはアラートを通知する技術は存在する(例えば特許文献1参照)。
この技術は、ユーザの脈拍データから精神健康度を判定し、その結果をメール等で管理者に通知するものであるため、精神健康度に基づいた事後のフィードバックは可能であるものの、精神健康度に基づいた適切な対処方法をリアルタイムに講じることは困難であった。また、ユーザの精神健康度は把握できるが、当該精神健康度に対する対処方法は、ユーザ又は管理者が自ら考えなければならないが、良い考えは咄嗟には浮かばず、このような問題点の解決が要望されている。
【先行技術文献】
【特許文献】
【0003】
特許第7154247号
【発明の概要】
【発明が解決しようとする課題】
【0004】
しかしながら、特許文献1の技術を含む従来の技術では、このような要望に十分に応えることができない状況である。
【0005】
本発明は、このような状況を鑑みてなされたものであり、ユーザの心理状態に応じて適切な対応をとれるようにすることを目的とする。
【課題を解決するための手段】
【0006】
上記目的を達成するために、本発明の一態様の情報処理装置は、
ユーザを識別可能な情報をユーザ識別情報として、当該ユーザの1以上の心理状態に関する情報を心理状態情報として夫々取得するユーザ情報取得手段と、
前記心理状態情報が取得されたときに前記ユーザが存在する位置を示す情報を位置情報として取得する位置情報取得手段と、
前記ユーザ識別情報に対して、前記心理状態情報及び前記位置情報を関連付けて管理する情報管理手段と、
前記ユーザの前記心理状態情報を、前記位置情報に基づいて表示するためのデータを第1表示データとして生成する表示データ生成手段と、
前記表示データ生成手段により生成された前記第1表示データを出力する表示データ出力手段と、
を備える。
【0007】
本発明の一態様の情報処理装置の夫々は、本発明の一態様の情報処理方法及びプログラムの夫々である。
【発明の効果】
【0008】
本発明によれば、ユーザの心理状態に応じて適切な対応をとれるようにすることを実現できる。
【図面の簡単な説明】
【0009】
本発明の情報処理装置の一実施形態に係るサーバが適用される情報処理システムにより実現可能となる本サービスの概要を示す図である。
本発明の情報処理装置の一実施形態に係るサーバが適用される情報処理システムの構成の一例を示す図である。
図2の情報処理システムのうちサーバのハードウェア構成の一例を示すブロック図である。
図3のハードウェア構成を有するサーバの機能的構成の一例を示す機能ブロック図である。
図4の機能的構成を有するサーバの処理動作を示すフローチャートである。
心理状態情報に基づいて対処情報を決定し表示する処理の流れを示すフローチャートである。
図4のサーバの全体的な処理の流れを示すフローチャートである。
図4のサーバにおいて、ユーザの位置情報を取得する動作を示すフローチャートである。
図1の本サービス(集中ナビ)の仕組みを示す図である。
図1の本サービス(集中ナビ)で支援できることを示す図である。
図1の本サービス(集中ナビ)で教師が活用できる機能を示す図である。
図1の本サービス(集中ナビ)のリアルタイム集中状態把握機能を示す図である。
本サービス(集中ナビ)を実施する上で、図4のサーバにより提供される画面の一例を示す図である。
図4のサーバの集中力UPアドバイス発行機能の概要を示す図である。
図4のサーバの生徒向けの集中力UPアドバイス画面例を示す図である。
図4のサーバの講師向けの集中力UPアドバイス画面例を示す図である。
図1の本サービス(集中ナビ)のリモート授業への対応を示す図である。
脈拍とパフォーマンスとの関係を説明するための図である。
図1の本サービス(集中ナビ)を、工場現場に適用する第1事例の課題と導入効果を示す図である。
工場現場におけるアラート送信の流れを示す図である。
工場現場における監督者向けアラート内容の例を示す図である。
工場現場における作業員向けアラート内容の例を示す図である。
図1の本サービス(集中ナビ)を、空港の管制塔に適用する第2事例の課題と導入効果を示す図である。
空港の管制塔におけるアラート送信の流れを示す図である。
空港の管制塔における監督者向けアラート内容の例を示す図である。
空港の管制塔における管制官向けアラート内容の例を示す図である。
図1の本サービス(集中ナビ)を、職場復帰に適用する第3事例の課題と導入効果を示す図である。
職場復帰における活用の流れを示す図である。
職場復帰におけるアドバイスの例を示す図である。
【発明を実施するための形態】
【0010】
以下、本発明の実施形態について、図面を用いて説明する。
(【0011】以降は省略されています)
この特許をJ-PlatPat(特許庁公式サイト)で参照する
関連特許
個人
支援システム
5か月前
個人
医療のAI化
2か月前
個人
管理装置
5か月前
個人
対話システム
5か月前
個人
通知ぬいぐるみAIシステム
2か月前
キラル株式会社
ヘルスケアシステム
19日前
個人
情報システムおよび方法
7か月前
キラル株式会社
ヘルスケアシステム
19日前
株式会社タカゾノ
薬剤秤量装置
11日前
株式会社タカゾノ
薬剤秤量装置
3か月前
株式会社タカゾノ
薬剤秤量装置
3か月前
株式会社タカゾノ
薬剤秤量装置
3か月前
株式会社タカゾノ
薬剤秤量装置
3か月前
株式会社タカゾノ
薬剤秤量装置
5か月前
株式会社タカゾノ
薬剤秤量装置
3か月前
株式会社リコー
投薬管理システム
2か月前
TOTO株式会社
健康管理システム
1か月前
ゾーン株式会社
コンピュータシステム
6か月前
個人
診療の管理装置及び診療システム
3か月前
株式会社M-INT
情報処理システム
6か月前
富士電機株式会社
食事管理システム
8か月前
大王製紙株式会社
作業管理システム
7か月前
株式会社CureApp
プログラム
4か月前
株式会社サンクスネット
情報提供システム
5か月前
株式会社ミラボ
情報処理装置、及びプログラム
3か月前
株式会社 137
健康観察管理システム
5か月前
株式会社イシダ
受付端末装置
12日前
大和ハウス工業株式会社
服薬推定システム
1か月前
合同会社フォース
オンライン診療システム
7か月前
歯っぴー株式会社
口内状態の画像診断方法
2か月前
株式会社タカゾノ
薬剤秤量装置及び調剤システム
5か月前
西川株式会社
サービス出力システム
5か月前
HITOTSU株式会社
手術管理システム1
6か月前
株式会社SECRET MEDICINE
管理装置
2か月前
株式会社サンクスネット
健康医療情報管理システム
3か月前
キラル株式会社
プログラムの提供システムおよびその方法
1か月前
続きを見る
他の特許を見る