TOP
|
特許
|
意匠
|
商標
特許ウォッチ
Twitter
他の特許を見る
10個以上の画像は省略されています。
公開番号
2025167923
公報種別
公開特許公報(A)
公開日
2025-11-07
出願番号
2024072942
出願日
2024-04-26
発明の名称
光電混載基板、光電変換モジュール、光通信デバイスおよび電子機器
出願人
日東電工株式会社
代理人
弁理士法人いくみ特許事務所
主分類
G02B
6/12 20060101AFI20251030BHJP(光学)
要約
【課題】薄型化を図りつつ、伝送速度を向上できる、光電混載基板を提供すること。
【解決手段】
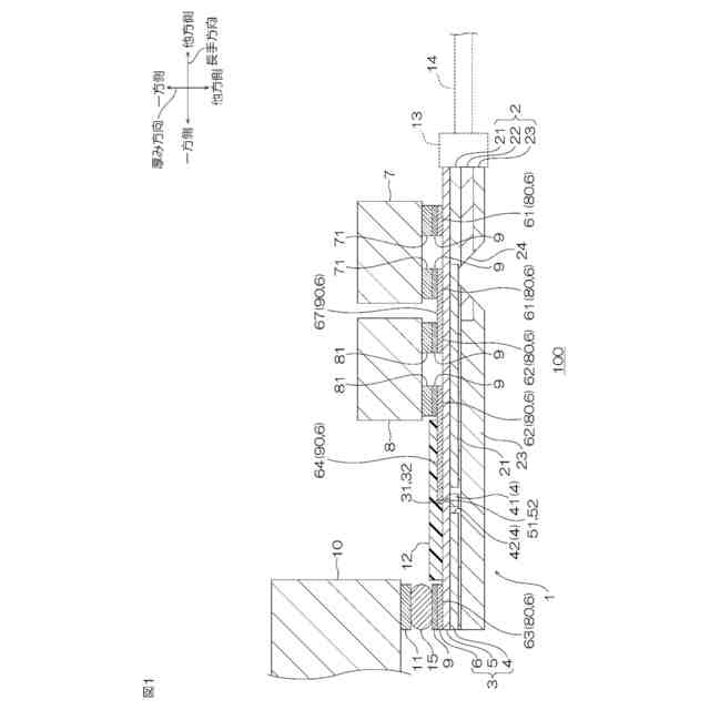
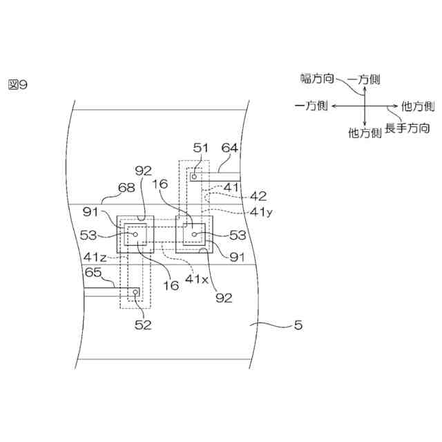
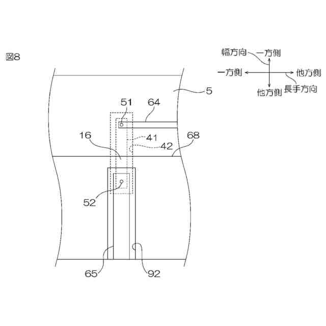
光電混載基板1は、光導波路2および電気回路基板3を厚み方向一方に向かって備える。電気回路基板は3、金属支持基板4と、ベース絶縁層5と、導体層6とを、厚み方向一方に向かって順に備える。金属支持基板4は、長手方向における第2端子62と第3端子63との間に配置されるアイランド部分41を備える。アイランド部分41は周囲と間隔を隔てられる。導体層6は、第1ビア51、第2ビア52および中間導体部16を備えており、中間導体部16は、アイランド部41上の第1ビア51と第2ビア52との間に配置される。
【選択図】 図1
特許請求の範囲
【請求項1】
光導波路および電気回路基板を厚み方向一方に向かって備える光電混載基板であって、
前記光導波路は、オーバークラッドと、コアと、アンダークラッドとを、厚み方向一方に向かって順に備え、
前記電気回路基板は、金属支持基板と、絶縁層と、導体層とを、厚み方向一方に向かって順に備え、
前記導体層は、受光素子または発光素子と電気的に接続するための複数の第1端子と、駆動素子または増幅素子と電気的に接続するための複数の第2端子と、外部基板と電気的に接続するための複数の第3端子と、前記第2端子と前記第3端子とを電気的に接続する複数の配線とを備え、
前記第1端子と、前記第2端子と、前記第3端子とは、互いに間隔を隔てて、前記電気回路基板の長手方向の一方に向かって順に配置されており、
前記金属支持基板は、前記長手方向における前記第2端子と前記第3端子との間に配置されるアイランド部分であって、前記アイランド部分の周囲と電気的に絶縁されるように、前記周囲と間隔を隔てられるアイランド部分を備え、
前記絶縁層は、厚み方向において前記アイランド部分と重なる位置において、互いに間隔を隔てて配置され、厚み方向を貫通する第1貫通孔および第2貫通孔を備え、
前記導体層は、さらに、前記第1貫通孔に充填される第1ビアと、前記第2貫通孔に充填される第2ビアと、中間導体部とを備え、
複数の前記配線は、前記第1ビアに電気的に接続される第1配線と、前記第2ビアに電気的に接続される第2配線とを備え、
前記中間導体部は、前記第1ビアと前記第2ビアとの間に配置される、光電混載基板。
続きを表示(約 710 文字)
【請求項2】
前記金属支持基板は、前記アイランド部分と前記周囲との間に溝を備え、
前記溝には、樹脂が充填されている、請求項1に記載の光電混載基板。
【請求項3】
前記樹脂が、前記アンダークラッドの材料と同じである、請求項2に記載の光電混載基板。
【請求項4】
前記樹脂が、前記絶縁層の材料と同じである、請求項2に記載の光電混載基板。
【請求項5】
前記コアの前記長手方向の一端部は、前記アイランド部分よりも前記長手方向の他方に位置する、請求項1に記載の光電混載基板。
【請求項6】
前記導体層は、前記中間導体部を含む第3配線を備え、
前記第3配線は、差動配線およびクロック配線の少なくとも一方を含み、
前記第1配線および前記第2配線は、差動配線およびクロック配線以外の信号配線を含む、請求項1に記載の光電混載基板。
【請求項7】
請求項1~6のいずれか1項に記載の光電混載基板と、
前記複数の第1端子と電気的に接続される受光素子および発光素子の少なくともいずれか一方と、
前記複数の第2端子と電気的に接続される駆動素子および増幅素子の少なくともいずれか一方と、
前記複数の第3端子と電気的に接続される外部基板と
を備える、光電変換モジュール。
【請求項8】
請求項7に記載の光電変換モジュールと、
前記光電変換モジュールに接続される光伝送路と
を備える光通信デバイス。
【請求項9】
請求項7に記載の光電変換モジュールを備える電子機器。
発明の詳細な説明
【技術分野】
【0001】
本発明は、光電混載基板、光電変換モジュール、光通信デバイスおよび電子機器に関する。
続きを表示(約 2,100 文字)
【背景技術】
【0002】
従来、光導波路と電気回路基板を含む光電混載基板と、その上面に実装される光素子および駆動素子とを備える光電気複合伝送モジュールが知られている(例えば、下記特許文献1参照。)。このような光電気伝送複合モジュールは、光通信回線の一端または他端に配置され、電気信号と光信号とを変換する。光通信回線においては、電気通信回線と比較して、大量の情報を劣化することなく高速で伝送することができる。そのため、光電気伝送複合モジュールの、幅広い分野の様々な機器への実装が進められている。
【先行技術文献】
【特許文献】
【0003】
特開2021-63921号公報
【発明の概要】
【発明が解決しようとする課題】
【0004】
近年、このような光電気複合伝送モジュールにおいては、伝送速度の著しい高速化に応じて、電気回路基板における配線の設計の自由度が求められている。また、スマートフォンなどの小型の機器への実装も進められており、モジュールの薄型化も求められている。
【0005】
上記した配線の設計の自由度への要求に対応すべく、電気回路基板の多層化が検討される。しかし、電気回路基板を多層化すると、電気回路基板上に設けられた光学素子と、光導波路のコアとの距離が離れるため、光伝送においてロスを生じる。
【0006】
本発明は、薄型化を図りつつ、伝送速度を向上できる、光電混載基板、その光電混載基板を含む光電変換モジュール、その光電変換モジュールを含む光通信デバイス、およびその光電変換モジュールを含む光学機器を提供する。
【課題を解決するための手段】
【0007】
本発明[1]は、光導波路および電気回路基板を厚み方向一方に向かって備える光電混載基板であって、前記光導波路は、オーバークラッドと、コアと、アンダークラッドとを、厚み方向一方に向かって順に備え、前記電気回路基板は、金属支持基板と、絶縁層と、導体層とを、厚み方向一方に向かって順に備え、前記導体層は、受光素子または発光素子と電気的に接続するための複数の第1端子と、駆動素子または増幅素子と電気的に接続するための複数の第2端子と、外部基板と電気的に接続するための複数の第3端子と、前記第2端子と前記第3端子とを電気的に接続する複数の配線とを備え、前記第1端子と、前記第2端子と、前記第3端子とは、互いに間隔を隔てて、前記電気回路基板の長手方向の一方に向かって順に配置されており、前記金属支持基板は、前記長手方向における前記第2端子と前記第3端子との間に配置されるアイランド部分であって、前記アイランド部分の周囲と電気的に絶縁されるように、前記周囲と間隔を隔てられるアイランド部分を備え、前記絶縁層は、厚み方向において前記アイランド部分と重なる位置において、互いに間隔を隔てて配置され、厚み方向を貫通する第1貫通孔および第2貫通孔を備え、 前記導体層は、さらに、前記第1貫通孔に充填される第1ビアと、前記第2貫通孔に充填される第2ビアと、中間導体部とを備え、複数の前記配線は、前記第1ビアに電気的に接続される第1配線と、前記第2ビアに電気的に接続される第2配線とを備え、前記中間導体部は、前記第1ビアと前記第2ビアとの間に配置される、光電混載基板を含む。
【0008】
上記光電混載基板においては、金属支持基板が、長手方向における第2端子と第3端子との間に配置されるアイランド部分であって、アイランド部分の周囲と電気的に絶縁されるように、周囲と間隔を隔てられるアイランド部分を備える。上記光電混載基板においては、第1配線は、第1ビアを介してアイランド部分と接続され、第2配線は、第2ビアと介してアイランド部分と接続されている。そのため、第1配線を伝送される電気信号は、第1ビア、アイランド部分、および第2ビアを介して、第2配線へと伝送される。一方、中間導体部は第1ビアと第2ビアの間に配置される。そのため、第2端子と第3端子の間のスペースを活用して、導体層の設計の自由度を高めることができる。しかも、アイランド部分は金属支持基板に設けられている。そのため、電気回路基板を多層化することなく導体層の設計の自由度を高めることができるので、薄型化を図りつつ、光伝送のロスを抑制して、伝送速度を向上させることができる。
【0009】
本発明[2]は、前記金属支持基板は、前記アイランド部分と前記周囲との間に溝を備え、前記溝には、樹脂が充填されている、上記[1]に記載の光電混載基板を含む。
【0010】
上記光電混載基板においては、金属支持基板は、アイランド部分と周囲との間に溝を備え、溝には、樹脂が充填されている。そのため、周囲に対するアイランド部分の絶縁性を高めることができる。また、溝に樹脂が充填されていることにより、アイランド部分の、アンダークラッドおよび電気回路基板に対する密着性を高めることができる。
(【0011】以降は省略されています)
この特許をJ-PlatPat(特許庁公式サイト)で参照する
関連特許
日東電工株式会社
導光部材
1か月前
日東電工株式会社
ロボット
10日前
日東電工株式会社
粘着シート
17日前
日東電工株式会社
粘着シート
1か月前
日東電工株式会社
光学積層体
1か月前
日東電工株式会社
光学積層体
2日前
日東電工株式会社
光学積層体
2日前
日東電工株式会社
光学積層体
2日前
日東電工株式会社
粘着シート
1か月前
日東電工株式会社
配線回路基板
1か月前
日東電工株式会社
配線回路基板
1か月前
日東電工株式会社
補強フィルム
9日前
日東電工株式会社
パッチアンテナ
10日前
日東電工株式会社
パッチアンテナ
10日前
日東電工株式会社
ロール体の製造方法
17日前
日東電工株式会社
多孔質ポリマーシート
17日前
日東電工株式会社
フレキシブル多層回路基板
17日前
日東電工株式会社
光半導体素子封止用シート
1か月前
日東電工株式会社
積層光学フィルムの製造方法
4日前
日東電工株式会社
情報カードおよびその製造方法
1か月前
日東電工株式会社
粘着シートおよび光半導体装置
17日前
日東電工株式会社
表面保護フィルムおよびその用途
9日前
日東電工株式会社
反射防止フィルム及びその製造方法
25日前
日東電工株式会社
ロール体およびロール体の製造方法
9日前
日東電工株式会社
ヒータモジュール、およびロボット
10日前
日東電工株式会社
表面保護フィルムおよび光学積層体
2日前
日東電工株式会社
積層光学フィルムおよび画像表示装置
1か月前
日東電工株式会社
積層光学フィルムおよび画像表示装置
1か月前
日東電工株式会社
生体信号取得用粘着性電極及び生体センサ
25日前
日東電工株式会社
検査システム、検査方法及び検査プログラム
1か月前
日東電工株式会社
配線回路基板、及び配線回路基板の製造方法
1か月前
日東電工株式会社
光電混載基板、光モジュール、および、電子機器
11日前
日東電工株式会社
配線回路基板、および、配線回路基板の製造方法
1か月前
日東電工株式会社
マイクロ波加熱装置及びマイクロ波加熱システム
1か月前
日東電工株式会社
配線回路基板、および、配線回路基板の製造方法
1か月前
日東電工株式会社
光学フィルムの検査装置、検査方法及び製造方法
1か月前
続きを見る
他の特許を見る