TOP
|
特許
|
意匠
|
商標
特許ウォッチ
Twitter
他の特許を見る
10個以上の画像は省略されています。
公開番号
2025167706
公報種別
公開特許公報(A)
公開日
2025-11-07
出願番号
2024072545
出願日
2024-04-26
発明の名称
冷蔵庫
出願人
日立グローバルライフソリューションズ株式会社
代理人
ポレール弁理士法人
主分類
F25D
23/02 20060101AFI20251030BHJP(冷凍または冷却;加熱と冷凍との組み合わせシステム;ヒートポンプシステム;氷の製造または貯蔵;気体の液化または固体化)
要約
【課題】
本発明は、観音開き式の左右扉を有する冷蔵庫に関して、左右扉間の境界部からの外気流入や、境界部における結露を簡便に且つ低コストで抑制する技術を提供することを目的とする。
【解決手段】
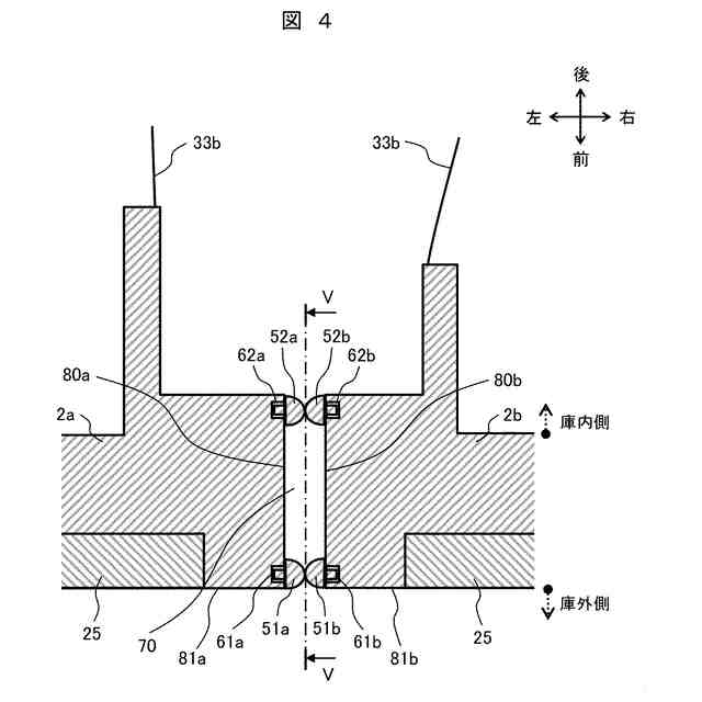
本実施例の冷蔵庫は、左扉2a及び右扉2bの相互に対向する側面部80a,80bの間に配置される封止部材として、側面部80a,80bの一方又は両方に設けられて上下に延在する前端封止部材51a,51bと、側面部80a,80bの一方又は両方に設けられて上下に延在し、前端封止部材51a,51bに対して後方向に離間している後端封止部材52a,52bと、側面部80a,80bの一方又は両方に設けられて前後に延在する上端封止部材と、側面部80a,80bの一方又は両方の下端部に設けられて前後に延在し、上端封止部材に対して下方向に離間している下端封止部材と、を備える。
【選択図】図4
特許請求の範囲
【請求項1】
内部空間が冷却される貯蔵室と、前記貯蔵室の前方開口側に配された回動式の左扉及び右扉と、前記左扉及び前記右扉の相互に対向する2つの側面部の間に配置された封止部材と、を備えた冷蔵庫において、
前記封止部材として、
2つの前記側面部の一方又は両方に設けられて上下に延在する前端封止部材と、
2つの前記側面部の一方又は両方に設けられて上下に延在し、前記前端封止部材に対して後方向に離間している後端封止部材と、
2つの前記側面部の一方又は両方に設けられて前後に延在する上端封止部材と、
2つの前記側面部の一方又は両方の下端部に設けられて前後に延在し、前記上端封止部材に対して下方向に離間している下端封止部材と、を備えたことを特徴とする冷蔵庫。
続きを表示(約 1,200 文字)
【請求項2】
請求項1に記載の冷蔵庫において、
前記封止部材は、前記左扉及び前記右扉が閉状態において、前記左扉の前記側面部と前記右扉の前記側面部とで挟まれた空間が形成され、
該空間の前方に前記前端封止部材が、後方に前記後端封止部材が、上方に前記上端封止部材が、及び下方に前記下端封止部材が配されていることを特徴とする冷蔵庫。
【請求項3】
請求項2に記載の冷蔵庫において、
前記前端封止部材は、断面形状が中空又は中実状であることを特徴とする冷蔵庫。
【請求項4】
請求項3に記載の冷蔵庫において、
前記後端封止部材は柔軟な薄板状であることを特徴とする冷蔵庫。
【請求項5】
請求項1又は2に記載の冷蔵庫において、
前記前端封止部材は、前記左扉及び前記右扉の回転軸よりも前方に配置されていることを特徴とする冷蔵庫。
【請求項6】
請求項2に記載の冷蔵庫において、
左右方向に突出して前記空間に配されて、上下、前後、又は斜め方向に延在する仕切り部材を備えていることを特徴とする冷蔵庫。
【請求項7】
請求項4に記載の冷蔵庫において、
前記前端封止部材は、左右方向の接触圧力で前記空間を封止し、
前記後端封止部材は、前後方向の接触圧力で前記空間を封止することを特徴とする冷蔵庫。
【請求項8】
請求項2に記載の冷蔵庫において、
前記前端封止部材と前記上端封止部材及び/又は前記下端封止部材とは、折れ曲がった一部材で構成され、
前記左扉または前記右扉のうち一方の扉は、前記封止部材として、前記上端封止部材としての第1上端封止部材と、前記第1上端封止部材の上側に設けられた第2上端封止部材と、前記下端封止部材としての第1下端封止部材と、前記第1下端封止部材の下側に設けられた第2下端封止部材と、を有し、
前記左扉または前記右扉のうち他方の扉は、前記封止部材として、前記上端封止部材と、前記下端封止部材と、を有し、
前記他方の扉の上端封止部材は、前記一方の扉の前記第1上端封止部材及び前記第2上端封止部材と接触して前記空間を封止し、
前記他方の扉の下端封止部材は、前記一方の扉の前記第1下端封止部材及び前記第2下端封止部材と接触して前記空間を封止することを特徴とする冷蔵庫。
【請求項9】
請求項2に記載の冷蔵庫において、
前記空間より前方を含む範囲を加熱する加熱源を備えていることを特徴とする冷蔵庫。
【請求項10】
請求項9に記載の冷蔵庫において、
前記加熱源は、前記左扉又は右扉の一方に配され、
前記前端封止部材は、前記後端封止部材、前記上端封止部材及び前記下端封止部材の少なくとも何れかよりも熱伝導率が高いことを特徴とする冷蔵庫。
(【請求項11】以降は省略されています)
発明の詳細な説明
【技術分野】
【0001】
本発明は、冷蔵庫の左右扉間の境界部からの外気流入や、境界部における結露を防止する技術に関する。
続きを表示(約 2,400 文字)
【背景技術】
【0002】
観音開き式の左右扉を有する冷蔵庫において、左右扉間の境界部から冷蔵庫内への外気流入を防止するために、左右扉間の境界部を封止部材で封止し、冷蔵庫の庫内と庫外とを遮断する技術が提案されている。本技術に関する公知例として、例えば、特許文献1には、「箱体の庫内開口部において外周部の一側面を対向させて配置した二つの扉と、前記二つの扉の対向する一側面以外の庫内側縁面に設けられ閉扉時に前記箱体の開口部前縁に密着する第1のガスケットと、前記二つの扉の対向する一側面に配置されて閉扉時に相互に密着する一対の第2のガスケットを備えて、前記第2のガスケット内には連続した複数対の空気層を相対向して設けた」扉装置が記載されている(請求項1参照)。またこの扉装置は、「前記第2のガスケットのうち少なくとも一方をガスケット同志が離れる方向に挙動する可動型のガスケットとした」構成(請求項16参照)、さらに「可動型の第2のガスケットを取り付ける扉の一側面に凹部を形成した扉側板を設け、前記扉側板の凹部の開口面に第2のガスケットを保持して動作する保持部材を備えた」構成(請求項17参照)が記載されている。
【先行技術文献】
【特許文献】
【0003】
特開2002-206854号公報
【発明の概要】
【発明が解決しようとする課題】
【0004】
観音開き式の左右扉間の境界部を封止部材で封止する冷蔵庫では、境界部からの外気流入だけではなく、境界部の結露も防止する必要がある。特許文献1の扉装置は、扉の対向する一側面に配置されて閉扉時に相互に密着する一対の封止部材を備えている。扉側面の一対の封止部材で冷蔵庫の庫内と庫外とを遮断するためには、扉側面上端や下端からの庫内への外気流入を防止するために、封止部材を扉側面の庫内側端部に接するように配置する必要がある。その際、扉側面の庫外側端部は外気に曝露されるため、庫内側端部を通じて庫内の冷気で冷やされた庫外側端部が外気に接触することで、庫外側端部の一部または全部に結露が発生する可能性がある。この結露の防止手段としては、左右扉の境界部に加熱源を設置する手段があるが、加熱源の追加コストや、その加熱源が電気ヒータであった場合、電力が必要となる。また、扉自体の断熱性を向上させる手段も考えられるが、断熱性能が高い材料を適用したり、扉を厚くしたりする必要があり、コスト増加や有効内容積減少に影響する。さらに、扉側面全体を覆うように一対の封止部材を設ける手段の場合、左右の封止部材の全面が密着するように封止圧力をかける必要や、封止部材の熱伝導により庫外の熱が庫内に伝わる可能性があり、扉開閉力増加や消費電力増加に影響する。
【0005】
本発明は、上記のような課題を解決するためになされたものであり、観音開き式の左右扉を有する冷蔵庫に関して、左右扉間の境界部からの外気流入や、境界部における結露を簡便に且つ低コストで抑制する技術を提供することを目的とする。
【課題を解決するための手段】
【0006】
本願は上記課題を解決する手段を複数含んでいるが、その一例を挙げるならば、「 内部空間が冷却される貯蔵室と、前記貯蔵室の前方開口側に配された回動式の左扉及び右扉と、前記左扉及び前記右扉の相互に対向する2つの側面部の間に配置された封止部材と、を備えた冷蔵庫において、前記封止部材は、前記封止部材として、2つの前記側面部の一方又は両方に設けられて上下に延在する前端封止部材と、2つの前記側面部の一方又は両方に設けられて上下に延在し、前記前端封止部材に対して後方向に離間している後端封止部材と、2つの前記側面部の一方又は両方に設けられて前後に延在する上端封止部材と、2つの前記側面部の一方又は両方の下端部に設けられて前後に延在し、前記上端封止部材に対して下方向に離間している下端封止部材と、を備えた」ことを特徴とする。
【図面の簡単な説明】
【0007】
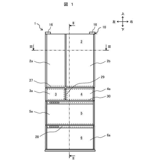
本発明の一実施例に係る冷蔵庫の正面図である。
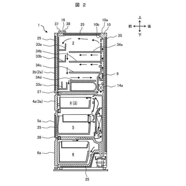
本発明の一実施例に係る冷蔵庫の縦断面図である。
本発明の一実施例に係る冷蔵庫の横断面図である。
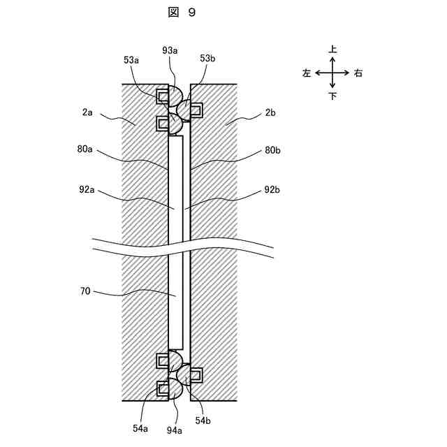
本発明の実施例1に係る左右扉境界部の横断面拡大図である。
本発明の実施例1に係る左扉側面部の正面図である。
本発明の実施例2に係る左右扉境界部の横断面拡大図である。
本発明の実施例2に係る左扉側面部の正面図である。
本発明の実施例2に係る右扉側面部の正面図である。
本発明の実施例2に係る左右扉境界部の縦断面図である。
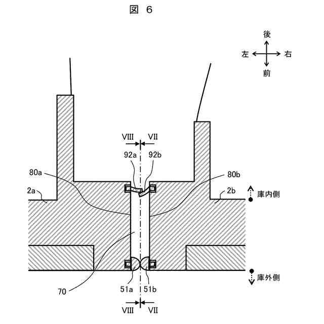
本発明の実施例3に係る左右扉境界部の横断面拡大図である。
本発明の実施例4に係る左右扉境界部の横断面拡大図である。
本発明の実施例5に係る左右扉境界部の横断面拡大図である。
【発明を実施するための形態】
【0008】
以下、本発明の実施例に関して、図面を用いて説明する。
【0009】
図1は、本発明の一実施例に係る冷蔵庫1の正面図である。図2は、本発明の一実施例に係る冷蔵庫1の縦断面図である。なお、図2は図1のII-II断面を図示している。
【0010】
以下の説明においては、図1は冷蔵庫1を正面側から見た図であり、冷蔵庫1を正面側から見た場合の左側を左、右側を右、上側を上、下側を下とする。また、図2は冷蔵庫1を右側面側から見た図であり、冷蔵庫を右側面側から見た場合の左側を前、右側を後として説明する。
(【0011】以降は省略されています)
この特許をJ-PlatPat(特許庁公式サイト)で参照する
関連特許
個人
製氷容器
13日前
株式会社不二工機
膨張弁
1日前
株式会社ツインバード
保冷庫
今日
アクア株式会社
冷蔵庫
21日前
アクア株式会社
冷蔵庫
21日前
富士電機株式会社
冷却装置
13日前
株式会社ゼロカラ
冷凍装置
29日前
株式会社ゼロカラ
冷凍装置
29日前
株式会社フィラディス
ワインセラー
6日前
株式会社フィラディス
ワインセラー
21日前
FrostiX株式会社
冷凍システム
14日前
トヨタ自動車株式会社
冷凍回路
今日
シャープ株式会社
冷蔵庫
今日
アイ・ティ・イー株式会社
相変化判定システム
21日前
三菱電機株式会社
冷蔵庫
21日前
アクア株式会社
冷却ボックス装置
1か月前
アクア株式会社
冷却ボックス装置
1か月前
東芝ライフスタイル株式会社
冷蔵庫
8日前
株式会社MARS Company
ドラム式製氷機
14日前
株式会社MARS Company
ドラム式製氷機
14日前
株式会社MARS Company
ドラム式製氷機
14日前
三菱電機株式会社
冷凍冷蔵庫
6日前
株式会社MARS Company
ドラム式製氷機
14日前
ホシザキ株式会社
冷却貯蔵庫
1日前
パナソニックIPマネジメント株式会社
冷蔵庫
1か月前
パナソニックIPマネジメント株式会社
冷蔵庫
1か月前
株式会社日立産機システム
廃熱回収システム
今日
ダイキン工業株式会社
熱源ユニット
今日
ダイキン工業株式会社
熱源ユニット
今日
JFEエンジニアリング株式会社
二酸化炭素固化システム
1か月前
ダイキン工業株式会社
冷凍サイクル装置
今日
アクア株式会社
冷蔵庫およびその製造方法
13日前
東芝ライフスタイル株式会社
冷蔵庫
13日前
三菱電機株式会社
冷凍サイクル装置
1日前
ダイキン工業株式会社
冷凍サイクル装置
今日
株式会社マキシス工業
ユニットクーラ
1日前
続きを見る
他の特許を見る