TOP
|
特許
|
意匠
|
商標
特許ウォッチ
Twitter
他の特許を見る
10個以上の画像は省略されています。
公開番号
2025167646
公報種別
公開特許公報(A)
公開日
2025-11-07
出願番号
2024072474
出願日
2024-04-26
発明の名称
成膜装置、成膜方法、及び電子デバイスの製造方法
出願人
キヤノントッキ株式会社
代理人
弁理士法人秀和特許事務所
主分類
C23C
14/50 20060101AFI20251030BHJP(金属質材料への被覆;金属質材料による材料への被覆;化学的表面処理;金属質材料の拡散処理;真空蒸着,スパッタリング,イオン注入法,または化学蒸着による被覆一般;金属質材料の防食または鉱皮の抑制一般)
要約
【課題】吸着部材に対して、基板を安定した状態で吸着させることが可能な成膜装置、成膜方法、及び電子デバイスの製造方法を提供する。
【解決手段】基板の成膜側の面とは反対側の面を吸着する静電チャック31と、静電チャック31に対する前記基板の吸着の前及び後の少なくともいずれかに、前記基板の周縁を支持する第1の支持部材41と、前記基板の成膜側の面に接触して前記基板を支持する接触部材71bを有する第2の支持部材71と、を備え、第2の支持部材71は、押圧により接触部材71bの高さを調節する調節機構を有することを特徴とする。
【選択図】図1
特許請求の範囲
【請求項1】
基板の成膜側の面とは反対側の面を吸着する吸着部材と、
前記吸着部材に対する前記基板の吸着の前及び後の少なくともいずれかに、前記基板の周縁を支持する第1の支持部材と、
前記基板の成膜側の面に接触して前記基板を支持する接触部材を有する第2の支持部材と、
を備え、
前記第2の支持部材は、押圧により前記接触部材の高さを調節する調節機構を有することを特徴とする成膜装置。
続きを表示(約 940 文字)
【請求項2】
前記調節機構は、前記基板に向かって前記接触部材を押圧するばね部材を有することを特徴とする請求項1に記載の成膜装置。
【請求項3】
前記第2の支持部材を前記基板の成膜側の面に沿う第1方向にスライドさせる第1の駆動部を有することを特徴とする請求項1に記載の成膜装置。
【請求項4】
前記接触部材は、前記第1方向に間隔を空けて複数設けられることを特徴とする請求項3に記載の成膜装置。
【請求項5】
前記基板の成膜側の面に交差する第2方向に見て、前記接触部材が前記基板と重なる第1の位置と、前記接触部材が前記基板の外側に位置する第2の位置との間で、前記第2の支持部材は前記第1方向にスライド可能に構成されていることを特徴とする請求項3または4に記載の成膜装置。
【請求項6】
前記第2の支持部材を前記第2方向に移動させる第2の駆動部を備えることを特徴とする請求項5に記載の成膜装置。
【請求項7】
前記第2の支持部材は、前記第1方向に複数配されることを特徴とする請求項3に記載の成膜装置。
【請求項8】
前記第1の支持部材に前記基板が支持された状態で、前記第1の駆動部により前記第2の支持部材がスライドし、
前記第2の支持部材がスライドした後に、前記第2の駆動部により前記第2の支持部材が前記第2方向に移動して前記接触部材が前記基板に接触することを特徴とする請求項6に記載の成膜装置。
【請求項9】
前記第1の支持部材を昇降させる昇降部を備え、
前記第1の駆動部は、前記昇降部による前記第1の支持部材の昇降時には、前記基板の移動を妨げない位置に前記第2の支持部材を移動させ、前記吸着部材による前記基板を吸着する前に前記基板を支持する位置に前記第2の支持部材を移動させることを特徴とする請求項6に記載の成膜装置。
【請求項10】
前記吸着部材は、内部に電極を有しており、前記電極に電圧が印加されることで静電吸着力を生ずるように構成されることを特徴とする請求項1に記載の成膜装置。
(【請求項11】以降は省略されています)
発明の詳細な説明
【技術分野】
【0001】
本発明は、成膜装置、成膜方法、及び電子デバイスの製造方法に関する。
続きを表示(約 1,200 文字)
【背景技術】
【0002】
従来、成膜装置において、基板の成膜側の面とは反対側の面を吸着する吸着部材を備える技術が知られている。
【先行技術文献】
【特許文献】
【0003】
特開2019-99910号公報
【発明の概要】
【発明が解決しようとする課題】
【0004】
近年、基板の大判化が進んでおり、吸着部材に基板を吸着する前の状態において、基板が大きく撓んでいると、吸着部材に対して基板を適切に吸着するのが難しいことがある。
【0005】
本発明の目的は、吸着部材に対して、基板を安定した状態で吸着させることが可能な成膜装置、成膜方法、及び電子デバイスの製造方法を提供することにある。
【課題を解決するための手段】
【0006】
本発明の成膜装置は、
基板の成膜側の面とは反対側の面を吸着する吸着部材と、
前記吸着部材に対する前記基板の吸着の前及び後の少なくともいずれかに、前記基板の周縁を支持する第1の支持部材と、
前記基板の成膜側の面に接触して前記基板を支持する接触部材を有する第2の支持部材と、
を備え、
前記第2の支持部材は、押圧により前記接触部材の高さを調節する調節機構を有することを特徴とする。
【発明の効果】
【0007】
以上説明したように、本発明によれば、吸着部材に対して、基板を安定した状態で吸着させることができる。
【図面の簡単な説明】
【0008】
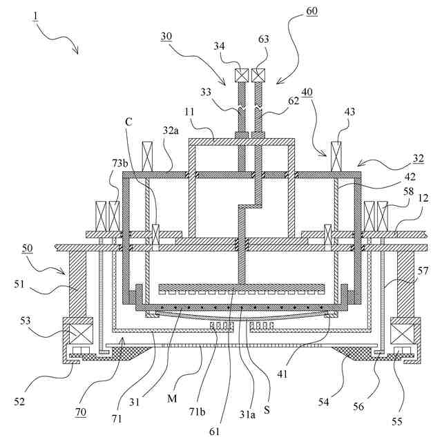
成膜装置の概略構成図。
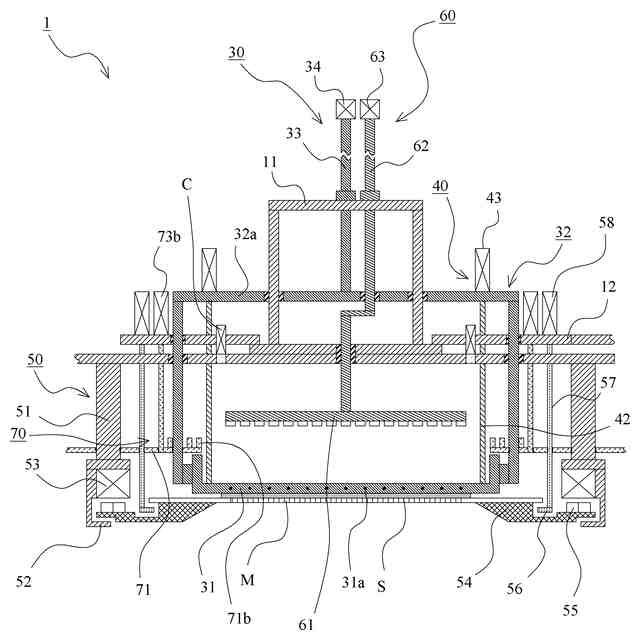
成膜装置の動作説明図。
成膜装置の動作説明図。
成膜装置の動作説明図。
成膜装置の動作説明図。
成膜装置の動作説明図。
成膜装置の動作説明図。
成膜装置の動作説明図。
成膜装置の動作説明図。
成膜装置の動作説明図。
有機EL表示装置の説明図。
【発明を実施するための形態】
【0009】
以下に図面を参照して、この発明を実施するための形態を、実施例に基づいて例示的に詳しく説明する。ただし、この実施例に記載されている構成部品の寸法、材質、形状、その相対配置などは、特に特定的な記載がない限りは、この発明の範囲をそれらのみに限定する趣旨のものではない。
【0010】
(実施例)
図1~図10を参照して、本発明の実施例に係る成膜装置及び成膜方法について説明する。なお、図1,4~6、及び8~10においては、各部材の動作を分かり易くするために、一体的に動作する部材について同種のハッチングを付している。これらの図においては、各部材を断面的に示しているが、各部材については、紙面の手前側と奥側の異なった位置に配され得るため、ハッチングが付されているからと言って、必ずしも断面を示したものではない。
(【0011】以降は省略されています)
この特許をJ-PlatPat(特許庁公式サイト)で参照する
関連特許
三洋化成工業株式会社
防食剤
1日前
株式会社京都マテリアルズ
めっき部材
2か月前
株式会社カネカ
製膜装置
2か月前
株式会社カネカ
製膜装置
2か月前
トヨタ自動車株式会社
治具
1か月前
株式会社レゾナック
耐食性部材
2日前
エドワーズ株式会社
真空排気システム
2か月前
東京エレクトロン株式会社
成膜方法
3か月前
株式会社カネカ
気化装置及び製膜装置
2か月前
株式会社アルバック
マスクユニット
2か月前
TOTO株式会社
構造部材
2か月前
黒崎播磨株式会社
溶射装置
2か月前
株式会社アルバック
基板ステージ装置
2か月前
株式会社デンソー
接合体
2か月前
フジタ技研株式会社
被覆部材、及び、表面被覆金型
2か月前
日本コーティングセンター株式会社
炭化ホウ素被膜
2か月前
信越化学工業株式会社
炭化金属被覆材料
23日前
株式会社日本テクノ
ガス浸炭方法、ガス浸炭装置
1か月前
株式会社日本テクノ
ガス浸炭装置、浸炭室
1か月前
東京エレクトロン株式会社
成膜方法及び成膜装置
3か月前
株式会社豊田中央研究所
プラズマCVD装置
2か月前
芝浦機械株式会社
表面処理装置
3か月前
大陽日酸株式会社
インジェクター
2か月前
株式会社レゾナック・ハードディスク
成膜装置
2か月前
日東電工株式会社
ロール体の製造方法
22日前
株式会社SCREENホールディングス
直流スパッタリング装置
2か月前
東京エレクトロン株式会社
クリーニング方法及び成膜装置
8日前
株式会社SCREENホールディングス
反応性スパッタリング方法
2か月前
東京エレクトロン株式会社
成膜装置の運用方法及び成膜装置
1か月前
積水化学工業株式会社
膜付き基材の製造方法及び粉体
2か月前
大日本印刷株式会社
マスク及び有機デバイスの製造方法
7日前
TODA株式会社
音響用振動板および音響用振動板の製造方法
1か月前
日電精密工業株式会社
成膜装置および成膜方法
1日前
大日本印刷株式会社
マスク及び有機デバイスの製造方法
7日前
国立研究開発法人産業技術総合研究所
強誘電体及び強誘電体キャパシタ
2か月前
東京エレクトロン株式会社
成膜方法及び成膜装置
1日前
続きを見る
他の特許を見る