TOP
|
特許
|
意匠
|
商標
特許ウォッチ
Twitter
他の特許を見る
公開番号
2025167337
公報種別
公開特許公報(A)
公開日
2025-11-07
出願番号
2024071851
出願日
2024-04-25
発明の名称
有機無機複合部品の製造方法
出願人
味の素株式会社
代理人
弁理士法人酒井国際特許事務所
主分類
B32B
9/00 20060101AFI20251030BHJP(積層体)
要約
【課題】エアロゾルデポジション法にて、硬化物層上に金属酸化物膜を連続的に形成可能な有機無機複合部品の製造方法の提供。
【解決手段】(A)樹脂組成物を硬化させた硬化物層の表面に、エアロゾルデポジション法によって厚みが0.5μm以上の金属酸化物膜を形成する工程を含み、樹脂組成物が、無機充填材を含み、無機充填材の含有量が、樹脂組成物の不揮発成分を100質量%としたとき、75質量%以上である、有機無機複合部品の製造方法。
【選択図】図4
特許請求の範囲
【請求項1】
(A)樹脂組成物を硬化させた硬化物層の表面に、エアロゾルデポジション法によって厚みが0.5μm以上の金属酸化物膜を形成する工程を含み、
樹脂組成物が、無機充填材を含み、
無機充填材の含有量が、樹脂組成物の不揮発成分を100質量%としたとき、75質量%以上である、有機無機複合部品の製造方法。
続きを表示(約 580 文字)
【請求項2】
硬化物層の引張弾性率が、5GPa以上である、請求項1に記載の有機無機複合部品の製造方法。
【請求項3】
金属酸化物膜が、アルミナを含む、請求項1に記載の有機無機複合部品の製造方法。
【請求項4】
無機充填材が、球状である、請求項1に記載の有機無機複合部品の製造方法。
【請求項5】
無機充填材の含有量が、樹脂組成物の不揮発成分を100体積%としたとき、50体積%以上である、請求項1に記載の有機無機複合部品の製造方法。
【請求項6】
無機充填材が、アルミナを含む、請求項1に記載の有機無機複合部品の製造方法。
【請求項7】
無機充填材及び金属酸化物膜は、ともにアルミナを含む、請求項1に記載の有機無機複合部品の製造方法。
【請求項8】
硬化物層上に導体層を形成する工程を含み、工程(A)にて、硬化物層及び導体層の表面に金属酸化物膜を形成する、請求項1に記載の有機無機複合部品の製造方法。
【請求項9】
有機無機複合部品が、半導体パッケージ基板の絶縁層である、請求項1に記載の有機無機複合部品の製造方法。
【請求項10】
有機無機複合部品が、半導体装置に使用される、請求項1に記載の有機無機複合部品の製造方法。
発明の詳細な説明
【技術分野】
【0001】
本発明は、有機無機複合部品の製造方法に関する。
続きを表示(約 2,000 文字)
【背景技術】
【0002】
セラミック膜、金属酸化物膜等の新たな膜を、樹脂材料を含む樹脂組成物の硬化物層上に形成する方法としてエアロゾルデポジション法(「AD法」ということもある。)が知られている。特許文献1には、エアロゾルデポジション法により金属酸化物膜を形成する方法が開示されている。
【先行技術文献】
【特許文献】
【0003】
国際公開第2018/194064号
【発明の概要】
【発明が解決しようとする課題】
【0004】
エアロゾルデポジション法は、硬化物層上に金属酸化物膜を厚膜析出できるという利点があるが、硬化物層の種類によってはエアロゾルデポジション法にて金属酸化物膜を連続的に形成できないことがあり、硬化物層の種類が限定されるという問題があった。
【0005】
エアロゾルデポジション法以外の方法、例えば、原子層堆積法(ALD法)によって金属酸化物膜を形成する方法も考えられるが、0.5μm以上の厚膜の金属酸化物膜を形成するには多くの時間がかかり、実用的ではない。
【0006】
本発明の課題は、上記の事情に鑑みてなされたものであり、エアロゾルデポジション法にて、硬化物層上に金属酸化物膜を連続的に形成可能な有機無機複合部品の製造方法を提供することである。
【課題を解決するための手段】
【0007】
本発明者は、エアロゾルデポジション法において、樹脂材料は、原料粉末の粒子の衝突により削れてしまうので、硬化物層の種類によっては硬化物層上に金属酸化物膜を形成できないことを知見した。本発明者は、前記の課題を解決するべく鋭意検討した結果、硬化物層が固いとエアロゾルデポジション法にて金属酸化物膜を連続的に形成できることを見いだし、本発明を完成させるに至った。
【0008】
すなわち、本発明は、下記の内容を含む。
[1] (A)樹脂組成物を硬化させた硬化物層の表面に、エアロゾルデポジション法によって厚みが0.5μm以上の金属酸化物膜を形成する工程を含み、
樹脂組成物が、無機充填材を含み、
無機充填材の含有量が、樹脂組成物の不揮発成分を100質量%としたとき、75質量%以上である、有機無機複合部品の製造方法。
[2] 硬化物層の引張弾性率が、5GPa以上である、[1]に記載の有機無機複合部品の製造方法。
[3] 金属酸化物膜が、アルミナを含む、[1]又は[2]に記載の有機無機複合部品の製造方法。
[4] 無機充填材が、球状である、[1]~[3]のいずれかに記載の有機無機複合部品の製造方法。
[5] 無機充填材の含有量が、樹脂組成物の不揮発成分を100体積%としたとき、50体積%以上である、[1]~[4]のいずれかに記載の有機無機複合部品の製造方法。
[6] 無機充填材が、アルミナを含む、[1]~[5]のいずれかに記載の有機無機複合部品の製造方法。
[7] 無機充填材及び金属酸化物膜は、ともにアルミナを含む、[1]~[6]のいずれかに記載の有機無機複合部品の製造方法。
[8] 硬化物層上に導体層を形成する工程を含み、工程(A)にて、硬化物層及び導体層の表面に金属酸化物膜を形成する、[1]~[7]のいずれかに記載の有機無機複合部品の製造方法。
[9] 有機無機複合部品が、半導体パッケージ基板の絶縁層である、[1]~[8]のいずれかに記載の有機無機複合部品の製造方法。
[10] 有機無機複合部品が、半導体装置に使用される、[1]~[9]のいずれかに記載の有機無機複合部品の製造方法。
【発明の効果】
【0009】
本発明によれば、エアロゾルデポジション法にて、硬化物層上に金属酸化物膜を連続的に形成可能な有機無機複合部品の製造方法を提供できる。
【図面の簡単な説明】
【0010】
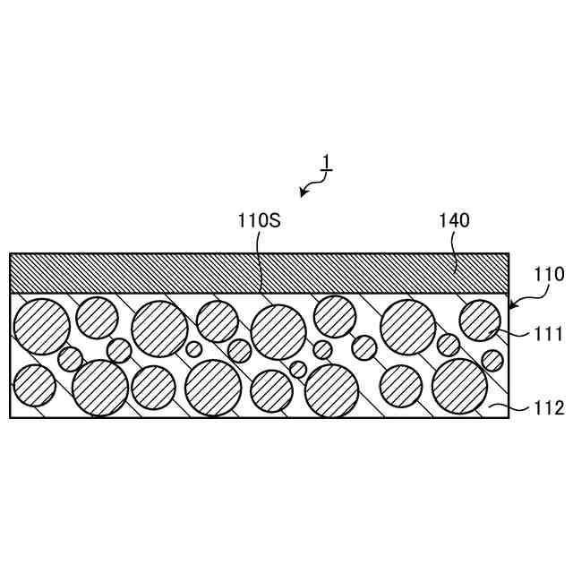
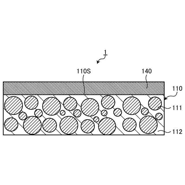
図1は、硬化物層の様子の一例を模式的に示す断面図である。
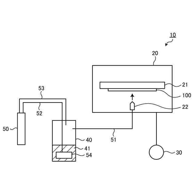
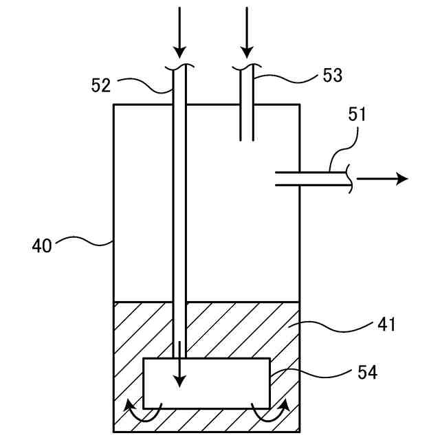
図2は、金属酸化物膜の形成装置の一例を模式的に示す概略図である。
図3は、形成装置が備えるエアロゾル発生器を拡大して模式的に示す断面図である。
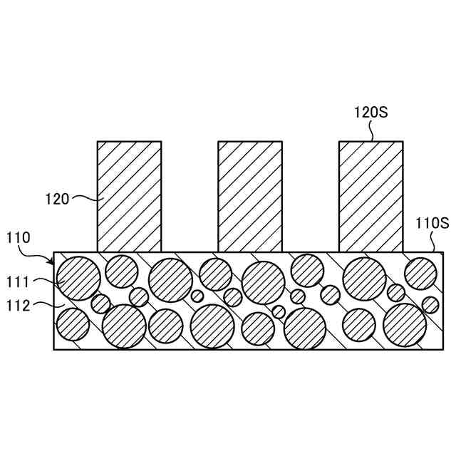
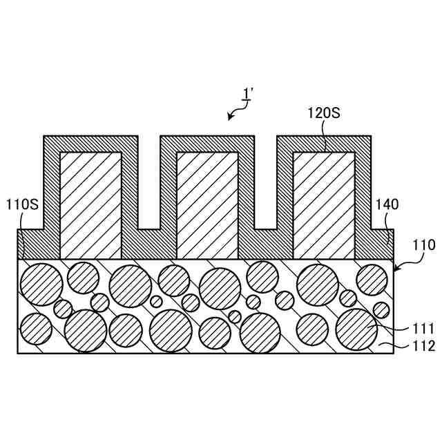
図4は、本発明の第1実施形態に係る製造方法で製造される有機無機複合部品の一例を模式的に示す断面図である。
図5は、本発明の第2実施形態に係る製造方法における工程(4)を説明するための模式的な断面図である。
図6は、本発明の第2実施形態に係る製造方法で製造される有機無機複合部品の一例を模式的に示す断面図である。
【発明を実施するための形態】
(【0011】以降は省略されています)
この特許をJ-PlatPat(特許庁公式サイト)で参照する
関連特許
味の素株式会社
樹脂組成物
3日前
味の素株式会社
樹脂組成物
1か月前
味の素株式会社
樹脂組成物
1か月前
味の素株式会社
樹脂組成物
1か月前
味の素株式会社
樹脂組成物
1か月前
味の素株式会社
樹脂組成物
1か月前
味の素株式会社
樹脂組成物
1か月前
味の素株式会社
エポキシ樹脂
1か月前
味の素株式会社
基板の製造方法
1か月前
味の素株式会社
マレイミド樹脂
1か月前
味の素株式会社
感光性樹脂組成物
1か月前
味の素株式会社
感光性樹脂組成物
1か月前
味の素株式会社
ミネラル強化食品
1か月前
味の素株式会社
配線板の製造方法
1か月前
味の素株式会社
チャック付き包装袋
1か月前
味の素株式会社
食品包装材料用積層体
24日前
味の素株式会社
ポリアミドイミド樹脂
1か月前
味の素株式会社
ベーカリー食品食感向上剤
1か月前
味の素株式会社
高含水米飯食品の製造方法
1か月前
味の素株式会社
有機無機複合部品の製造方法
24日前
味の素株式会社
包餡麺帯食品及びその製造方法
1か月前
味の素株式会社
腸内環境改善用素材の製造方法
1か月前
味の素株式会社
酵母培養物処理物を含む静菌剤
1か月前
味の素株式会社
集電層に用いられる金属箔積層体
1か月前
味の素株式会社
集電層に用いられる金属箔積層体
1か月前
味の素株式会社
包餡麺帯食品の焼き目形成用組成物
1か月前
味の素株式会社
洋風調味料およびそれを含有する食品
1か月前
味の素株式会社
コーヒー抽出液の香味を改善する方法
1か月前
味の素株式会社
電子レンジ加熱調理用容器入り即席食品
1か月前
東洋濾紙株式会社
アミノ酸定量用試験紙
1か月前
味の素株式会社
バッター液の凍結物の割れにくさが向上した冷凍餃子
1か月前
味の素株式会社
磁性ペースト
1か月前
味の素株式会社
ドライ加熱調理品の製造方法及びドライ加熱調理品製造用組成物
2か月前
味の素株式会社
害虫情報提供装置、害虫情報提供方法および害虫情報提供プログラム
1か月前
味の素株式会社
樹脂シートおよびその製造方法
1か月前
東レ株式会社
積層体
10か月前
続きを見る
他の特許を見る