TOP
|
特許
|
意匠
|
商標
特許ウォッチ
Twitter
他の特許を見る
10個以上の画像は省略されています。
公開番号
2025154341
公報種別
公開特許公報(A)
公開日
2025-10-10
出願番号
2024057274
出願日
2024-03-29
発明の名称
基板の製造方法
出願人
味の素株式会社
代理人
弁理士法人酒井国際特許事務所
主分類
H05K
3/18 20060101AFI20251002BHJP(他に分類されない電気技術)
要約
【課題】磁性粉体を含有する磁性層上に湿式めっきにより導体層が形成される基板の製造において、ふくれ等の異常の発生を抑制することができる基板の製造方法の提供。
【解決手段】磁性粉体を含有する磁性層上に湿式めっきにより導体層が形成される基板の製造方法であって、前記磁性粉体が、金属粉体を含有し;(A)前記磁性層の表面に、非金属材料によるコーティング層を形成する工程と;(B)前記コーティング層上に湿式めっきにより導体層を形成する工程と;をこの順に含む、基板の製造方法。
【選択図】なし
特許請求の範囲
【請求項1】
磁性粉体を含有する磁性層上に湿式めっきにより導体層が形成される基板の製造方法であって、
前記磁性粉体が、金属粉体を含有し、
(A)前記磁性層の表面に、非金属材料によるコーティング層を形成する工程と、
(B)前記コーティング層上に湿式めっきにより導体層を形成する工程と、
をこの順に含む、基板の製造方法。
続きを表示(約 630 文字)
【請求項2】
工程(B)が、
無電解めっきを含む方法によって導体層を形成する工程を含む、請求項1に記載の製造方法。
【請求項3】
工程(A)の前に、
磁性粉体を含有する樹脂組成物により樹脂組成物層を形成する工程と、
前記樹脂組成物層を硬化させて磁性層を形成する工程と、
を含む、請求項1に記載の製造方法。
【請求項4】
工程(A)の前に、
前記磁性層にホールを形成する工程を含む、請求項3に記載の製造方法。
【請求項5】
前記樹脂組成物が、熱硬化性樹脂を含有する、請求項3に記載の製造方法。
【請求項6】
前記熱硬化性樹脂が、エポキシ樹脂を含有する、請求項5に記載の製造方法。
【請求項7】
前記樹脂組成物が、分散剤を含有する、請求項3に記載の製造方法。
【請求項8】
前記樹脂組成物において、磁性粉体の含有量が、樹脂組成物の不揮発成分100体積%に対して、50体積%以上である、請求項3に記載の製造方法。
【請求項9】
前記磁性粉体が、鉄合金系磁性粉体を含有する、請求項1に記載の製造方法。
【請求項10】
前記磁性粉体が、Si、Cr及びNiからなる群より選ばれる1種類以上の元素を含有する鉄合金磁性粉体を含有する、請求項1に記載の製造方法。
(【請求項11】以降は省略されています)
発明の詳細な説明
【技術分野】
【0001】
本発明は、基板の製造方法に関する。
続きを表示(約 2,300 文字)
【背景技術】
【0002】
インダクタを有する基板は、携帯電話機、スマートフォンなどの情報端末に数多く搭載されている。従来は独立したインダクタ部品が回路基板等の基板に実装されていたが、近年は基板の導体層によりコイルを形成し、インダクタを基板の内部接設ける手法が行われるようになってきている(特許文献1)。
【先行技術文献】
【特許文献】
【0003】
特開2020-88285号公報
【発明の概要】
【発明が解決しようとする課題】
【0004】
近年、比透磁率が高く磁性損失が低いコア材料を、磁性粉体を含有する樹脂組成物の硬化物によって実現できる技術の開発が求められている。磁性粉体としては、高い比透磁率を有する金属粉体を使用することがある。
【0005】
また、基板の製造においては、磁性粉体を含有する磁性層上に、導体層を形成することがあり、微細又は複雑な形状を有する配線を形成し易く、また、コスト面で有利である湿式めっきにより導体層を形成することが望まれる。
【0006】
本発明者らは、磁性粉体として金属粉体を含有する磁性層に対し、湿式めっきにより導体層を形成することを検討した。しかし、湿式めっきに使用する薬液への耐性の低さから、磁性層中の金属粉体が溶出し、基板にふくれ等の異常が発生することがあった。
【0007】
本発明は、上記の課題に鑑みて創案されたもので、磁性粉体を含有する磁性層上に湿式めっきにより導体層が形成される基板の製造において、ふくれ等の異常の発生を抑制することができる基板の製造方法を提供することを目的とする。
【課題を解決するための手段】
【0008】
本発明者は、上記の課題を解決するべく鋭意検討した。その結果、本発明者は、磁性粉体を含有する磁性層上に湿式めっきにより導体層が形成される基板の製造方法において、前記磁性粉体が、金属粉体を含有し;(A)前記磁性層の表面に、非金属材料によるコーティング層を形成する工程と;(B)前記コーティング層上に湿式めっきにより導体層を形成する工程と;をこの順に含む、基板の製造方法により、上記の課題を解決できることを見い出し、本発明を完成させた。
【0009】
すなわち、本発明は、下記のものを含む。
<1>
磁性粉体を含有する磁性層上に湿式めっきにより導体層が形成される基板の製造方法であって、
前記磁性粉体が、金属粉体を含有し、
(A)前記磁性層の表面に、非金属材料によるコーティング層を形成する工程と、
(B)前記コーティング層上に湿式めっきにより導体層を形成する工程と、
をこの順に含む、基板の製造方法。
<2>
工程(B)が、
無電解めっきを含む方法によって導体層を形成する工程を含む、<1>に記載の製造方法。
<3>
工程(A)の前に、
磁性粉体を含有する樹脂組成物により樹脂組成物層を形成する工程と、
前記樹脂組成物層を硬化させて磁性層を形成する工程と、
を含む、<1>又は<2>に記載の製造方法。
<4>
工程(A)の前に、
前記磁性層にホールを形成する工程を含む、<3>に記載の製造方法。
<5>
前記樹脂組成物が、熱硬化性樹脂を含有する、<3>又は<4>に記載の製造方法。
<6>
前記熱硬化性樹脂が、エポキシ樹脂を含有する、<5>に記載の製造方法。
<7>
前記樹脂組成物が、分散剤を含有する、<3>~<6>のいずれか1項に記載の製造方法。
<8>
前記樹脂組成物において、磁性粉体の含有量が、樹脂組成物の不揮発成分100体積%に対して、50体積%以上である、<3>~<7>のいずれか1項に記載の製造方法。
<9>
前記磁性粉体が、鉄合金系磁性粉体を含有する、<1>~<8>のいずれか1項に記載の製造方法。
<10>
前記磁性粉体が、Si、Cr及びNiからなる群より選ばれる1種類以上の元素を含有する鉄合金磁性粉体を含有する、<1>~<9>のいずれか1項に記載の製造方法。
<11>
前記非金属材料が、ポリイミド樹脂、フッ素樹脂、ポリウレタン樹脂、(メタ)アクリル樹脂、シリコーン樹脂、ポリエーテルエーテルケトン樹脂及びセラミック材料からなる群より選ばれる1種類以上の非金属材料を含有する、<1>~<10>のいずれか1項に記載の製造方法。
<12>
前記非金属材料が、ポリイミド樹脂、フッ素樹脂、ポリウレタン樹脂、(メタ)アクリル樹脂、シリコーン樹脂及びポリエーテルエーテルケトン樹脂からなる群より選ばれる1種類以上の非金属材料を含有する、<1>~<11>のいずれか1項に記載の製造方法。
<13>
前記非金属材料において、25℃、100rpmの条件でE型粘度計を用いて測定した粘度が、100mPa・s以下である、<12>に記載の製造方法。
<14>
<1>~<13>のいずれか1項に記載の方法により製造される基板を備える、インダクタ基板。
【発明の効果】
【0010】
本発明によれば、磁性粉体を含有する磁性層上に湿式めっきにより導体層が形成される基板の製造において、ふくれ等の異常の発生を抑制することができる基板の製造方法を提供できる。
【図面の簡単な説明】
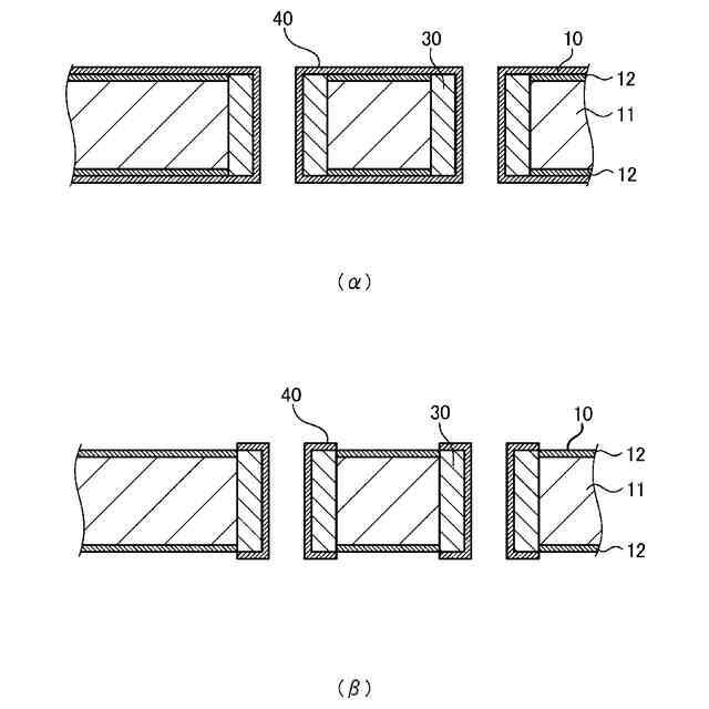
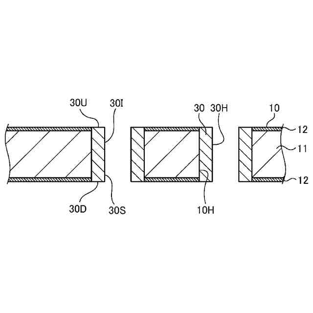
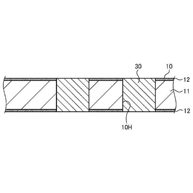
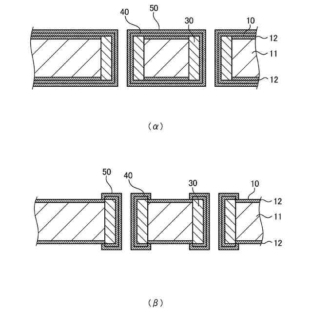
(【0011】以降は省略されています)
この特許をJ-PlatPat(特許庁公式サイト)で参照する
関連特許
味の素株式会社
樹脂組成物
3日前
味の素株式会社
樹脂組成物
1か月前
味の素株式会社
樹脂組成物
1か月前
味の素株式会社
樹脂組成物
1か月前
味の素株式会社
樹脂組成物
1か月前
味の素株式会社
樹脂組成物
1か月前
味の素株式会社
樹脂組成物
1か月前
味の素株式会社
樹脂シート
2か月前
味の素株式会社
樹脂シート
2か月前
味の素株式会社
エポキシ樹脂
1か月前
味の素株式会社
基板の製造方法
1か月前
味の素株式会社
マレイミド樹脂
1か月前
味の素株式会社
感光性樹脂組成物
1か月前
味の素株式会社
感光性樹脂組成物
1か月前
味の素株式会社
ミネラル強化食品
1か月前
味の素株式会社
配線板の製造方法
1か月前
味の素株式会社
チャック付き包装袋
1か月前
味の素株式会社
食品包装材料用積層体
24日前
味の素株式会社
ポリアミドイミド樹脂
1か月前
味の素株式会社
高含水米飯食品の製造方法
1か月前
味の素株式会社
ベーカリー食品食感向上剤
1か月前
味の素株式会社
有機無機複合部品の製造方法
24日前
味の素株式会社
包餡麺帯食品及びその製造方法
1か月前
味の素株式会社
腸内環境改善用素材の製造方法
1か月前
味の素株式会社
酵母培養物処理物を含む静菌剤
1か月前
味の素株式会社
集電層に用いられる金属箔積層体
1か月前
味の素株式会社
集電層に用いられる金属箔積層体
1か月前
味の素株式会社
包餡麺帯食品の焼き目形成用組成物
1か月前
味の素株式会社
洋風調味料およびそれを含有する食品
1か月前
味の素株式会社
コーヒー抽出液の香味を改善する方法
1か月前
味の素株式会社
電子レンジ加熱調理用容器入り即席食品
1か月前
東洋濾紙株式会社
アミノ酸定量用試験紙
1か月前
味の素株式会社
クリーミングパウダー及びインスタント飲料用組成物
2か月前
味の素株式会社
バッター液の凍結物の割れにくさが向上した冷凍餃子
1か月前
味の素株式会社
磁性ペースト
1か月前
味の素株式会社
樹脂シート、回路基板及びその製造方法、並びに、半導体装置
2か月前
続きを見る
他の特許を見る