TOP
|
特許
|
意匠
|
商標
特許ウォッチ
Twitter
他の特許を見る
公開番号
2025167034
公報種別
公開特許公報(A)
公開日
2025-11-07
出願番号
2024071302
出願日
2024-04-25
発明の名称
樹脂成形品
出願人
ダイキョーニシカワ株式会社
代理人
弁理士法人前田特許事務所
主分類
C08L
23/12 20060101AFI20251030BHJP(有機高分子化合物;その製造または化学的加工;それに基づく組成物)
要約
【課題】セルロース繊維複合系の樹脂組成物からなる樹脂成形品の耐衝撃性を高める。
【解決手段】樹脂成形品(10)は、ポリプロピレン(PP)およびセルロースナノファイバー(CNF)などのセルロース繊維を含む樹脂組成物からなる。樹脂成形品をなす樹脂組成物は、分散された粒子状の後添加ゴムをさらに含む。
【選択図】図2
特許請求の範囲
【請求項1】
ポリプロピレンおよびセルロース繊維を含む樹脂組成物からなる樹脂成形品であって、
前記樹脂組成物は、分散された粒子状の後添加ゴムをさらに含む、
ことを特徴とする樹脂成形品。
続きを表示(約 470 文字)
【請求項2】
請求項1に記載の樹脂成形品において、
前記後添加ゴムの含有量は、0重量%よりも多く且つ30重量%以下である、
ことを特徴とする樹脂成形品。
【請求項3】
請求項1に記載の樹脂成形品において、
前記後添加ゴムの平均アスペクト比は、1/2以上且つ1/20以下である、
ことを特徴とする樹脂成形品。
【請求項4】
請求項1に記載の樹脂成形品において、
前記後添加ゴムは、エチレン-ブテンゴム、エチレン-オクテンゴム、スチレン-エチレン-ブチレン-スチレンゴムからなる群より選択される1種類以上のゴムである、
ことを特徴とする樹脂成形品。
【請求項5】
請求項1~4のいずれか1項に記載の樹脂成形品において、
Izod衝撃強度が5.0kJ/m
2
以上であり、
曲げ弾性率が1800MPa以上であり、
自動車用の内装部品または外装部品に用いられる、
ことを特徴とする樹脂成形品。
発明の詳細な説明
【技術分野】
【0001】
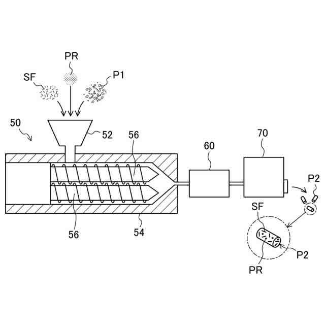
本開示は、セルロース繊維複合系の樹脂組成物からなる樹脂成形品に関する。
続きを表示(約 1,100 文字)
【背景技術】
【0002】
自動車の内装部品や外装部品をなす樹脂成形品には、ポリプロピレンと補強材とを複合した材料が一般的に使用される。補強材としては、環境への負荷が小さいという利点を有することから、天然物由来の材料であるセルロースナノファイバーなどのセルロース繊維を使用することが検討される。ポリプロピレンとセルロース繊維との複合したセルロース繊維複合系の樹脂組成物は、例えば特許文献1に開示される。
【先行技術文献】
【特許文献】
【0003】
特開2022-156073号公報
【発明の概要】
【発明が解決しようとする課題】
【0004】
樹脂成形品の耐衝撃性を高めるためには、樹脂組成物にゴム成分を加えることが考えられる。ゴム成分の加え方としては、ポリプロピレンとの相溶性やコスト的に有利なことから、ポリプロピレンの製造段階(重合過程)でエチレンなどのゴム成分を混入し、ゴム成分をポリプロピレンに化学結合させた重合ゴムを加える方法が採られる。
【0005】
そうした重合ゴムを加える方法は、補強材としてセルロース繊維以外のタルクなどの無機材を使用する場合、耐衝撃性を高めるのに効果的である。しかし、本願発明者は、セルロース繊維複合系の樹脂組成物に対しては、重合ゴムを加えても、樹脂成形品の耐衝撃性を好適に高められないことを見出した。
【0006】
本開示の目的は、セルロース繊維複合系の樹脂組成物からなる樹脂成形品の耐衝撃性を高めることにある。
【課題を解決するための手段】
【0007】
本発明者は、鋭意研鑽により、セルロース繊維複合系の樹脂組成物からなる樹脂成形品の耐衝撃性を高めるのに、後添加ゴムを加えることが効果的であることを確認した。そこで、上記の目的を達成するために、本開示の技術では、セルロース繊維複合系の樹脂組成物に後添加ゴムを加えることにした。
【0008】
具体的には、本開示の第1の態様は、ポリプロピレンおよびセルロース繊維を含む樹脂組成物からなる樹脂成形品を対象とする。第1の態様の樹脂成形品は、前記樹脂組成物が、分散された粒子状の後添加ゴムをさらに含む、樹脂成形品である。
【0009】
本開示の第2の態様は、第1の態様の樹脂成形品において、前記後添加ゴムの含有量が、0重量%よりも多く且つ30重量%以下である、樹脂成形品である。
【0010】
本開示の第3の態様は、第1または第2の態様の樹脂成形品において、前記後添加ゴムの平均アスペクト比が、1/2以上且つ1/20以下である、樹脂成形品である。
(【0011】以降は省略されています)
この特許をJ-PlatPat(特許庁公式サイト)で参照する
関連特許
株式会社カネカ
断熱材
13日前
東ソー株式会社
ペレット
1か月前
ユニチカ株式会社
透明シート
3か月前
ユニチカ株式会社
透明シート
1か月前
株式会社コバヤシ
成形体
1か月前
東レ株式会社
熱硬化性樹脂組成物
3か月前
住友精化株式会社
吸水剤の製造方法
2か月前
東レ株式会社
ポリエステルフィルム
1か月前
東レ株式会社
ポリエステルフィルム
1か月前
東レ株式会社
引抜成形品の製造方法
2か月前
丸住製紙株式会社
変性パルプ
1か月前
東ソー株式会社
プラスチゾル組成物
13日前
東ソー株式会社
ゴム用接着性改質剤
1か月前
東ソー株式会社
エチレン系重合用触媒
16日前
東ソー株式会社
樹脂組成物および蓋材
2か月前
東ソー株式会社
樹脂組成物および蓋材
2か月前
横浜ゴム株式会社
重荷重タイヤ
1か月前
東レ株式会社
ポリオレフィン微多孔膜
3か月前
東レ株式会社
ポリプロピレンフィルム
1か月前
アイカ工業株式会社
光硬化性樹脂組成物
1か月前
UBE株式会社
衝撃吸収材
1か月前
日本特殊陶業株式会社
樹脂成形体
2か月前
株式会社スリーボンド
硬化性樹脂組成物
1か月前
株式会社コバヤシ
光硬化性組成物
3か月前
住友ベークライト株式会社
ポリマー
1か月前
ノリタケ株式会社
担体構造体
1か月前
住友ベークライト株式会社
ポリマー
1か月前
株式会社カネカ
硬化性組成物
2か月前
株式会社カネカ
硬化性組成物
2か月前
株式会社カネカ
シーリング材
1か月前
日本特殊陶業株式会社
賦形体
1日前
住友化学株式会社
樹脂組成物
1か月前
三洋化成工業株式会社
熱成形用樹脂組成物
1か月前
株式会社村田製作所
樹脂組成物
3か月前
東レ株式会社
ポリエステル組成物の製造方法
1か月前
伯東株式会社
ビニル化合物中の重合防止方法
3か月前
続きを見る
他の特許を見る