TOP
|
特許
|
意匠
|
商標
特許ウォッチ
Twitter
他の特許を見る
10個以上の画像は省略されています。
公開番号
2025166185
公報種別
公開特許公報(A)
公開日
2025-11-05
出願番号
2025135372,2023046543
出願日
2025-08-15,2023-03-23
発明の名称
異常検知システム
出願人
TOTO株式会社
代理人
弁理士法人酒井国際特許事務所
主分類
G08B
25/04 20060101AFI20251028BHJP(信号)
要約
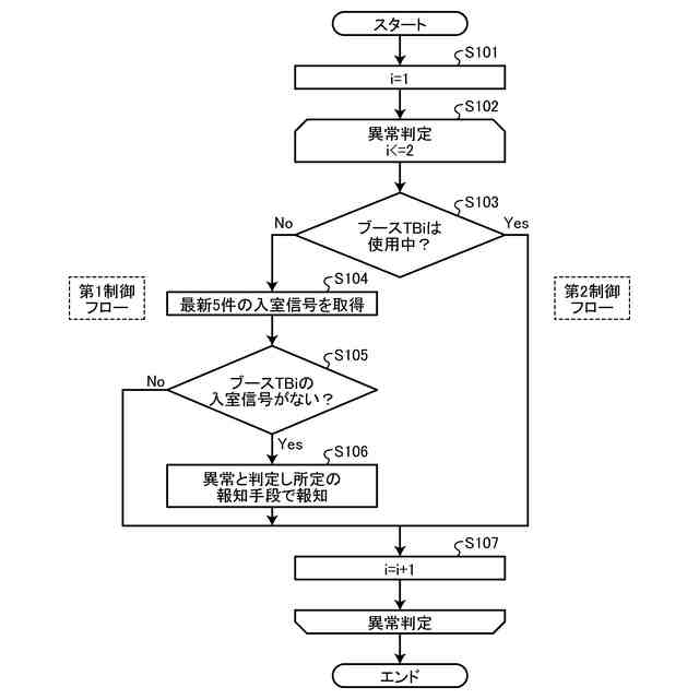
【課題】トイレの使用対象の異常判定に関する処理を適切に実行する異常検知システムを提供する。
【解決手段】異常検知システムは、トイレの使用者による複数の使用対象の使用を検知する検知部と、複数の使用対象の使用を示す履歴情報を記憶する記憶部と、複数の使用対象のうち一の使用対象を対象として処理を実行する場合、履歴情報のうち所定数の使用を示す情報を対象情報として取得する第1処理、第1処理により取得された対象情報に一の使用対象の使用が含まれない場合、一の使用対象に異常が生じたと判定する第2処理、及び一の使用対象に異常が生じたと判定された場合、一の使用対象が異常であることを任意の報知手段にて報知させる第3処理の実行を含む第1制御モードを有する制御部とを備え、制御部は、一の使用対象が使用中である場合、第1制御モードから第1処理、第2処理及び第3処理のうち少なくとも1つを実行しない第2制御モードへ切り替える。
【選択図】図8
特許請求の範囲
【請求項1】
トイレの使用者による使用の対象となる複数の使用対象の各々の使用を検知する検知部と、
前記複数の使用対象の各々の使用を示す履歴情報を記憶する記憶部と、
前記複数の使用対象のうち一の使用対象を対象として処理を実行する場合、前記記憶部に記憶された前記履歴情報のうち、所定数の使用を示す情報を対象情報として取得する第1処理、前記第1処理により取得された前記対象情報に前記一の使用対象の使用が含まれない場合、前記一の使用対象に異常が生じたと判定する第2処理、及び前記第2処理により前記一の使用対象に異常が生じたと判定された場合、前記一の使用対象が異常であることを任意の報知手段にて報知させる第3処理の実行を含む第1制御モードを有する制御部と、
を備え、
前記制御部は、前記一の使用対象が使用中である場合、前記第1制御モードから前記第1処理、前記第2処理及び前記第3処理のうち少なくとも1つを実行しない第2制御モードへ切り替える
ことを特徴とする異常検知システム。
続きを表示(約 300 文字)
【請求項2】
前記制御部は、
前記履歴情報のうち、前記所定数の使用の終了時を示す情報を前記対象情報として取得する
ことを特徴とする請求項1に記載の異常検知システム。
【請求項3】
前記記憶部は、
過去の前記第2処理の結果を記憶し、
前記制御部は、
前記第1制御モードにおいて、前記一の使用対象を対象として前記第2処理を実行する際に前記記憶部を参照し、前記一の使用対象を対象とした直前の前記第2処理の結果が異常と判定されていた場合には、前記第3処理を実行しない
ことを特徴とする請求項1または請求項2に記載の異常検知システム。
発明の詳細な説明
【技術分野】
【0001】
開示の実施形態は、異常検知システムに関する。
続きを表示(約 2,000 文字)
【背景技術】
【0002】
従来から、大便器が配置されるトイレブース等のトイレの使用対象について異常を検知するシステムが知られている(例えば特許文献1)。例えば、特許文献1に記載されたシステムでは、各トイレブースのドアの開閉頻度の差が所定の値以上の差となった場合に異常と判定する。
【先行技術文献】
【特許文献】
【0003】
特開2018-133066号公報
【発明の概要】
【発明が解決しようとする課題】
【0004】
しかしながら、上記の技術には改善の余地がある。例えば、上述した従来技術のシステムをパブリックトイレ等に適用した場合、例えば、特定の使用対象が通常よりも長い時間利用された場合や、特定の使用対象が利用されている際に他の使用対象の利用の入れ替わり頻度が高かった場合など、特定の使用対象の利用中に他の使用対象が多数回利用されると、他の使用対象との回数差が発生し、誤って異常と判定してしまう場合がある。このように、上記のシステムによる異常判定には改善の余地がある。そのため、トイレブース等のトイレの使用対象の異常の誤判定や誤判定に基づく処理等を抑制するために、トイレの使用対象の異常判定に関する処理を適切に実行することが望まれている。
【0005】
上記のような点を鑑みて、トイレの使用対象の異常判定に関する処理を適切に実行することが課題となる。
【0006】
開示の実施形態は、トイレの使用対象の異常判定に関する処理を適切に実行することができる異常検知システムを提供することを目的とする。
【課題を解決するための手段】
【0007】
実施形態の一態様に係る異常検知システムは、トイレの使用者による使用の対象となる複数の使用対象の各々の使用を検知する検知部と、前記複数の使用対象の各々の使用を示す履歴情報を記憶する記憶部と、前記複数の使用対象のうち一の使用対象を対象として処理を実行する場合、前記記憶部に記憶された前記履歴情報のうち、所定数の使用を示す情報を対象情報として取得する第1処理、前記第1処理により取得された前記対象情報に前記一の使用対象の使用が含まれない場合、前記一の使用対象に異常が生じたと判定する第2処理、及び前記第2処理により前記一の使用対象に異常が生じたと判定された場合、前記一の使用対象が異常であることを任意の報知手段にて報知させる第3処理の実行を含む第1制御モードを有する制御部と、を備え、前記制御部は、前記一の使用対象が使用中である場合、前記第1制御モードから前記第1処理、前記第2処理及び前記第3処理のうち少なくとも1つを実行しない第2制御モードへ切り替えることを特徴とする。
【0008】
実施形態の一態様に係る異常検知システムによれば、例えば、特定の使用対象が通常よりも長い時間利用された場合や、特定の使用対象が利用されている際に他の使用対象の利用の入れ替わり頻度が高かった場合など、特定の使用対象の利用中に他の使用対象が多数回利用された場合であっても、誤って異常と判定してしまうことがないため、精度よく異常を発見することができる。また、異常検知システムによれば、一の使用対象が使用中である場合、第1制御モードから第1処理、第2処理及び第3処理のうち少なくとも1つを実行しない第2制御モードへ切り替えることにより、情報の取得、判定処理、誤った判定結果に基づく報知等の処理を行うことを抑制することできる。したがって、異常検知システムは、トイレの使用対象の異常判定に関する処理を適切に実行することができる。なお、使用対象についての例示は後述するが、例えば大便器、大便器が設けられたトイレブース、小便器、洗面台、トイレ空間等の様々な対象であってもよい。
【0009】
実施形態の一態様に係る異常検知システムにおいて、前記制御部は、前記履歴情報のうち、前記所定数の使用の終了時を示す情報を前記対象情報として取得することを特徴とする。
【0010】
例えば、使用の開始時の情報を用いる場合、一のトイレブースが利用されている状態で、他のトイレブースが複数回利用されることにより、異常と判定される状態となった際に、一のトイレブースの利用後に、他のトイレブースが利用された場合に異常と誤判定されることが生じ得る。一方で、実施形態の一態様に係る異常検知システムによれば、一のトイレブースの使用直後に、他のトイレブースが使用された場合においても誤検知が発生することを抑制することができる。したがって、異常検知システムは、トイレの使用対象の異常判定に関する処理を適切に実行することができる。
(【0011】以降は省略されています)
この特許をJ-PlatPat(特許庁公式サイト)で参照する
関連特許
TOTO株式会社
浴室
1か月前
TOTO株式会社
浴室
1か月前
TOTO株式会社
洗面器
1か月前
TOTO株式会社
洗面器
1か月前
TOTO株式会社
構造部材
28日前
TOTO株式会社
構造部材
28日前
TOTO株式会社
吐水装置
28日前
TOTO株式会社
便座装置
1か月前
TOTO株式会社
水栓装置
1か月前
TOTO株式会社
水栓装置
1か月前
TOTO株式会社
吐水装置
28日前
TOTO株式会社
水栓装置
1か月前
TOTO株式会社
水栓装置
1か月前
TOTO株式会社
水栓装置
1か月前
TOTO株式会社
水栓装置
1か月前
TOTO株式会社
便器装置
1か月前
TOTO株式会社
複合材料
1か月前
TOTO株式会社
水栓装置
1か月前
TOTO株式会社
水栓装置
1か月前
TOTO株式会社
吐水装置
28日前
TOTO株式会社
構造部材
23日前
TOTO株式会社
構造部材
23日前
TOTO株式会社
水栓装置
1か月前
TOTO株式会社
トイレ装置
1か月前
TOTO株式会社
水洗大便器
1か月前
TOTO株式会社
水洗大便器
1か月前
TOTO株式会社
トイレ装置
1か月前
TOTO株式会社
トイレ装置
1か月前
TOTO株式会社
トイレ装置
1か月前
TOTO株式会社
水洗大便器
1か月前
TOTO株式会社
トイレ装置
1か月前
TOTO株式会社
水洗大便器
1か月前
TOTO株式会社
水洗大便器
27日前
TOTO株式会社
水洗大便器
2か月前
TOTO株式会社
水洗大便器
27日前
TOTO株式会社
水洗大便器
27日前
続きを見る
他の特許を見る