TOP
|
特許
|
意匠
|
商標
特許ウォッチ
Twitter
他の特許を見る
10個以上の画像は省略されています。
公開番号
2025165319
公報種別
公開特許公報(A)
公開日
2025-11-04
出願番号
2024069366
出願日
2024-04-22
発明の名称
負荷時タップ切換器の切換開閉器
出願人
株式会社東芝
,
東芝エネルギーシステムズ株式会社
代理人
弁理士法人志賀国際特許事務所
主分類
H01F
29/04 20060101AFI20251027BHJP(基本的電気素子)
要約
【課題】小型化することができる負荷時タップ切換器の切換開閉器を提供することである。
【解決手段】実施形態の態様1の負荷時タップ切換器の切換開閉器は、シャフトと、バルブと、カム部材と、限流抵抗器と、を持つ。カム部材は、シャフトの径方向においてシャフトとバルブとの間に配置される。カム部材は、シャフトの周方向に回動してバルブを駆動する。限流抵抗器は、シャフトの軸方向においてカム部材と並んで配置される。カム部材は、カムリングと、ハブと、複数の羽根板と、を有する。カムリングは、径方向の外側に配置される。ハブは、径方向の内側に配置される。羽根板は、カムリングおよびハブに接続され、軸方向に対して垂直以外の角度で交差する。複数の羽根板は、周方向に隙間を置いて配置される。
【選択図】図10
特許請求の範囲
【請求項1】
シャフトと、
タップ端子と中性点との間を接続および遮断するバルブと、
前記シャフトの径方向において前記シャフトと前記バルブとの間に配置され、前記シャフトの周方向に回動して前記バルブを駆動するカム部材と、
前記シャフトの軸方向において前記カム部材と並んで配置され、前記タップ端子と前記中性点との間に接続される限流抵抗器と、を有し、
前記カム部材は、
前記径方向の外側に配置されるカムリングと、
前記径方向の内側に配置されるハブと、
前記カムリングおよび前記ハブに接続され、前記軸方向に対して垂直以外の角度で交差し、前記周方向に隙間を置いて配置される複数の羽根板と、を有する、
負荷時タップ切換器の切換開閉器。
続きを表示(約 680 文字)
【請求項2】
前記バルブは、
前記軸方向に沿って配置されるバルブ本体と、
L字状に形成され、前記周方向に沿う回動軸の周りを回動可能なレバーと、を有し、
前記回動軸は、前記バルブ本体の前記径方向の内側に配置され、
前記レバーは、
前記回動軸から前記径方向の外側に伸び、先端が前記バルブ本体に接続される第1アームと、
前記回動軸から前記軸方向に沿って伸び、先端に前記カムリングと当接するカムフォロワが配置される第2アームと、を有する、
請求項1に記載の負荷時タップ切換器の切換開閉器。
【請求項3】
前記限流抵抗器は、前記カム部材と前記限流抵抗器との間に配置される取付板に支持され、
前記取付板に、複数の貫通孔が形成される、
請求項1または2に記載の負荷時タップ切換器の切換開閉器。
【請求項4】
前記複数の貫通孔は、前記軸方向において前記限流抵抗器と重なる位置に形成される、
請求項3に記載の負荷時タップ切換器の切換開閉器。
【請求項5】
前記バルブは、ユニットベースに搭載され、
前記カム部材は、前記ユニットベースの前記径方向の内側に配置され、
前記軸方向において前記限流抵抗器を挟んで前記取付板の反対側に配置され、前記限流抵抗器を覆う大地シールドを有し、
前記複数の貫通孔は、前記ユニットベースの前記径方向の内側および外側に分かれて形成される、
請求項4に記載の負荷時タップ切換器の切換開閉器。
発明の詳細な説明
【技術分野】
【0001】
本発明の実施形態は、負荷時タップ切換器の切換開閉器に関する。
続きを表示(約 1,700 文字)
【背景技術】
【0002】
負荷時タップ切換器は、変圧器運転中(負荷時)にタップを切り換える装置である。一般に、負荷時タップ切換器は、タップ選択器と、切換開閉器と、を有する。タップ選択器は、変圧器タップ巻線において運転するタップを選択する。切換開閉器は、選択されたタップに回路を切り換える。切換開閉器には、小型化が求められる。
【先行技術文献】
【特許文献】
【0003】
特許第2635867号公報
特許第4660490号公報
【発明の概要】
【発明が解決しようとする課題】
【0004】
本発明が解決しようとする課題は、小型化をすることができる負荷時タップ切換器の切換開閉器を提供することである。
【課題を解決するための手段】
【0005】
実施形態の態様1の負荷時タップ切換器の切換開閉器は、シャフトと、バルブと、カム部材と、限流抵抗器と、を持つ。バルブは、タップ端子と中性点との間を接続および遮断する。カム部材は、シャフトの径方向においてシャフトとバルブとの間に配置される。カム部材は、シャフトの周方向に回動してバルブを駆動する。限流抵抗器は、シャフトの軸方向においてカム部材と並んで配置される。限流抵抗器は、タップ端子と中性点との間に接続される。カム部材は、カムリングと、ハブと、複数の羽根板と、を有する。カムリングは、径方向の外側に配置される。ハブは、径方向の内側に配置される。羽根板は、カムリングおよびハブに接続され、軸方向に対して垂直以外の角度で交差する。複数の羽根板が、周方向に隙間を置いて配置される。
【0006】
態様2の負荷時タップ切換器の切換開閉器は、態様1に記載の負荷時タップ切換器の切換開閉器を前提とする。バルブは、バルブ本体と、レバーと、を有する。バルブ本体は、軸方向に沿って配置される。レバーは、L字状に形成され、周方向に沿う回動軸の周りを回動可能である。回動軸は、バルブ本体の径方向の内側に配置される。レバーは、第1アームと、第2アームと、を有する。第1アームは、回動軸から径方向の外側に伸び、先端がバルブ本体に接続される。第2アームは、回動軸から軸方向に沿って伸び、先端にカムリングと当接するカムフォロワが配置される。
【0007】
態様3の負荷時タップ切換器の切換開閉器は、態様1または2に記載の負荷時タップ切換器の切換開閉器を前提とする。限流抵抗器は、カム部材と限流抵抗器との間に配置される取付板に支持される。取付板に、複数の貫通孔が形成される。
【0008】
態様4の負荷時タップ切換器の切換開閉器は、態様3に記載の負荷時タップ切換器の切換開閉器を前提とする。複数の貫通孔は、軸方向において限流抵抗器と重なる位置に形成される。
【0009】
態様5の負荷時タップ切換器の切換開閉器は、態様3または4に記載の負荷時タップ切換器の切換開閉器を前提とする。バルブは、ユニットベースに搭載される。カム部材は、ユニットベースの径方向の内側に配置される。軸方向において限流抵抗器を挟んで取付板の反対側に配置され、限流抵抗器を覆う大地シールドを有する。複数の貫通孔は、ユニットベースの径方向の内側および外側に分かれて形成される。
【図面の簡単な説明】
【0010】
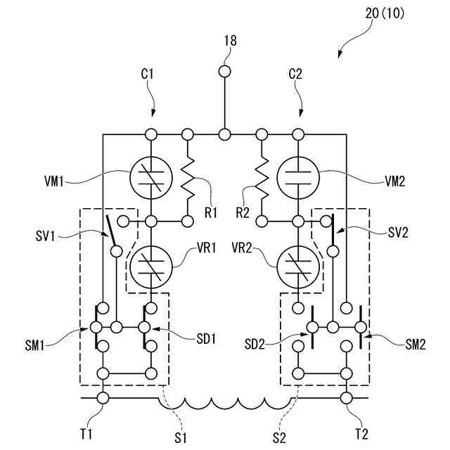
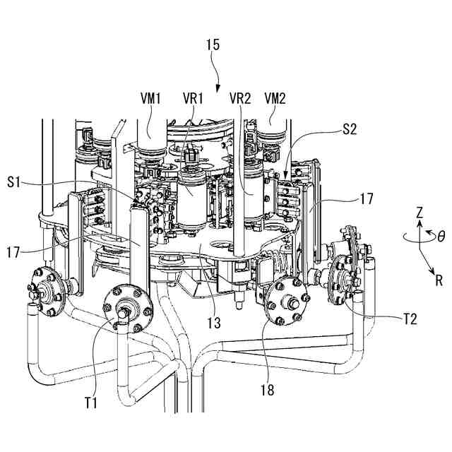
実施形態の負荷時タップ切換器の斜視図。
実施形態の切換開閉器の1相あたりの回路図。
切換開閉器の切換動作のタイミングチャート。
実施形態の切換開閉器の第1分解斜視図。
タップ端子および中性点端子の接続状態の説明図。
蓄勢機構の第1斜視図。
蓄勢機構の第2斜視図。
第1主バルブおよび主バルブカム部材の側面断面図。
主バルブカム部材の斜視図。
切換開閉器の第2分解斜視図。
第1取付板の底面図。
切換開閉器の側面断面図。
【発明を実施するための形態】
(【0011】以降は省略されています)
特許ウォッチbot のツイートを見る
この特許をJ-PlatPat(特許庁公式サイト)で参照する
関連特許
株式会社東芝
端子台
1か月前
株式会社東芝
モータ
2か月前
株式会社東芝
電子装置
1か月前
株式会社東芝
吸音装置
2か月前
株式会社東芝
電子回路
1か月前
株式会社東芝
電子装置
2か月前
株式会社東芝
除去装置
29日前
株式会社東芝
半導体装置
1か月前
株式会社東芝
半導体装置
1か月前
株式会社東芝
半導体装置
1か月前
株式会社東芝
半導体装置
1か月前
株式会社東芝
真空バルブ
1か月前
株式会社東芝
半導体装置
1か月前
株式会社東芝
半導体装置
1か月前
株式会社東芝
半導体装置
1か月前
株式会社東芝
半導体装置
1か月前
株式会社東芝
半導体装置
1か月前
株式会社東芝
半導体装置
1か月前
株式会社東芝
半導体装置
1か月前
株式会社東芝
半導体装置
1か月前
株式会社東芝
高周波回路
1か月前
株式会社東芝
半導体装置
1か月前
株式会社東芝
半導体装置
1か月前
株式会社東芝
真空バルブ
1か月前
株式会社東芝
半導体装置
15日前
株式会社東芝
半導体装置
1か月前
株式会社東芝
真空バルブ
1日前
株式会社東芝
粒子加速器
2か月前
株式会社東芝
半導体装置
1日前
株式会社東芝
半導体装置
1日前
株式会社東芝
半導体装置
7日前
株式会社東芝
電子デバイス
2か月前
株式会社東芝
電子デバイス
2か月前
株式会社東芝
光電流センサ
1日前
株式会社東芝
熱電変換装置
2か月前
株式会社東芝
超電導コイル
1か月前
続きを見る
他の特許を見る