TOP
|
特許
|
意匠
|
商標
特許ウォッチ
Twitter
他の特許を見る
公開番号
2025165216
公報種別
公開特許公報(A)
公開日
2025-11-04
出願番号
2024069187
出願日
2024-04-22
発明の名称
バキュームコンベア用チェーン及びバキュームコンベア装置
出願人
大同工業株式会社
代理人
弁理士法人近島国際特許事務所
主分類
B65G
17/46 20060101AFI20251027BHJP(運搬;包装;貯蔵;薄板状または線条材料の取扱い)
要約
【課題】非吸引時における自重による垂れ下がりを低減可能なバキュームコンベア用チェーンを提供する。
【解決手段】バキュームコンベア用チェーン(41)は、搬送物を載置する載置面(F)と、載置面(F)とは反対側の裏面(B)と、載置面(F)から裏面(B)にかけて貫通して形成された複数の吸着孔(H)と、裏面(B)側から載置面(F)側に向かう方向を第1方向(D1)、載置面(F)側から裏面(B)側に向かう方向を第2方向(D2)とした際に、固定部材(450)と係合して第1方向(D1)へのチェーン(41)の移動を規制する規制部(420)と、を備えている。規制部(420)は、載置面(F)よりも第2方向(D2)下流側に位置している。
【選択図】図2
特許請求の範囲
【請求項1】
搬送物を吸着しながら搬送するためのバキュームコンベア用チェーンであって、
搬送物を載置する載置面と、
前記載置面とは反対側の裏面と、
前記載置面から前記裏面にかけて貫通して形成された複数の吸着孔と、
前記裏面側から前記載置面側に向かう方向を第1方向、前記載置面側から前記裏面側に向かう方向を第2方向とした際に、固定部材と係合して前記第1方向への前記チェーンの移動を規制する規制部と、を備え、
前記規制部は、前記載置面よりも前記第2方向下流側に位置している、
ことを特徴とするバキュームコンベア用チェーン。
続きを表示(約 860 文字)
【請求項2】
前記規制部は、前記裏面に固定されている、
ことを特徴とする請求項1記載のバキュームコンベア用チェーン。
【請求項3】
前記規制部は、前記固定部材と係合する係合部と、前記裏面に取り付けられる被取付部と、を備え、
前記裏面は、前記被取付部を取り付ける取付部を備え、
前記被取付部は、前記取付部に係止される係止部と、抑え部と、を備え、
前記取付部は、前記係止部が取り付けられた状態で、前記係止部よりも前記第2方向下流側に位置し、前記係止部と当接して前記係止部の前記第2方向への移動を規制する当接部を有し、
前記抑え部は、前記係止部が前記取付部に取り付けられた状態で、前記当接部よりも前記第2方向下流側に位置し、前記当接部の前記第2方向への変形量を規制する、
ことを特徴とする請求項2記載のバキュームコンベア用チェーン。
【請求項4】
前記規制部を前記裏面に固定するスナップフィット構造を備える、
ことを特徴とする請求項2記載のバキュームコンベア用チェーン。
【請求項5】
前記規制部は、前記固定部材と係合する係合部と、前記裏面に取り付けられる被取付部と、を備え、
前記裏面は、前記被取付部を取り付ける取付部を備え、
前記スナップフィット構造は、前記被取付部に設けられた凹部と、前記取付部に設けられ、前記凹部と係合する凸部と、を備え、
前記取付部は、前記凸部の近傍に設けられた切欠きを備えている、
ことを特徴とする請求項4記載のバキュームコンベア用チェーン。
【請求項6】
請求項1乃至5のいずれか1項記載のバキュームコンベア用チェーンと、
前記バキュームコンベア用チェーンの裏面側に設けられた吸引室と、
前記バキュームコンベア用チェーンの規制部と係合する前記固定部材としてのレールと、を備えた、
ことを特徴とするバキュームコンベア装置。
発明の詳細な説明
【技術分野】
【0001】
本発明は、バキュームコンベア用チェーン及びバキュームコンベア装置に関する。
続きを表示(約 1,700 文字)
【背景技術】
【0002】
従来、ワークの載置面が上方を向いた第1バキューム搬送装置のワーク搬送方向下流側端部と、載置面が下方を向いた第2バキューム搬送装置のワーク搬送方向上流側端部と、をワークの搬送方向にオーバーラップして配置し、第1バキューム搬送装置によって搬送されて来たワークを吸引して第2バキューム搬送装置へと乗り換えさせながら搬送するワーク選別装置が案出されている(特許文献1参照)。
【先行技術文献】
【特許文献】
【0003】
国際公開第2022/254968号
【発明の概要】
【発明が解決しようとする課題】
【0004】
このように載置面の向きの異なる第1及び第2バキューム搬送装置間を乗り換えながらワークを搬送すると、第1バキューム搬送装置で搬送している際にワークの表面について検査を行い、第2バキューム搬送装置で搬送している際にワークの裏面について検査を行うことができる。
【0005】
しかしながら、バキューム搬送装置間のワークの乗り換えが円滑に行われるためには、第1バキューム搬送装置と第2バキューム搬送装置との間の装置間距離を適正に保持しなければならず、装置間距離の調整が重要となる。この装置間距離の調整はワークの非搬送時に行われるが、ワークの非搬送時には吸引室による吸引が解除されているため、上述した第2バキューム搬送装置のコンベアチェーンは、自重により下方に垂れ下がってしまう。
【0006】
すると、このチェーンの垂れ下がり分だけ、吸引室に吸引されている搬送時と装置間距離が異なってしまい、上記装置間距離の調整作業を困難にしていた。
【0007】
そこで、本発明は、非吸引時における自重による垂れ下がりを低減可能なバキュームコンベア用チェーン及びバキュームコンベア装置を提供することを目的とする。
【課題を解決するための手段】
【0008】
本発明の一態様は、搬送物を吸着しながら搬送するためのバキュームコンベア用チェーンであって、搬送物を載置する載置面と、前記載置面とは反対側の裏面と、前記載置面から前記裏面にかけて貫通して形成された複数の吸着孔と、前記裏面側から前記載置面側に向かう方向を第1方向、前記載置面側から前記裏面側に向かう方向を第2方向とした際に、固定部材と係合して前記第1方向への前記チェーンの移動を規制する規制部と、を備え、前記規制部は、前記載置面よりも前記第2方向下流側に位置している、ことを特徴とするバキュームコンベア用チェーンである。
【発明の効果】
【0009】
本発明によると、非吸引時における自重によるチェーンの垂れ下がりを低減することができる。
【図面の簡単な説明】
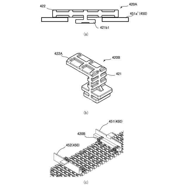
【0010】
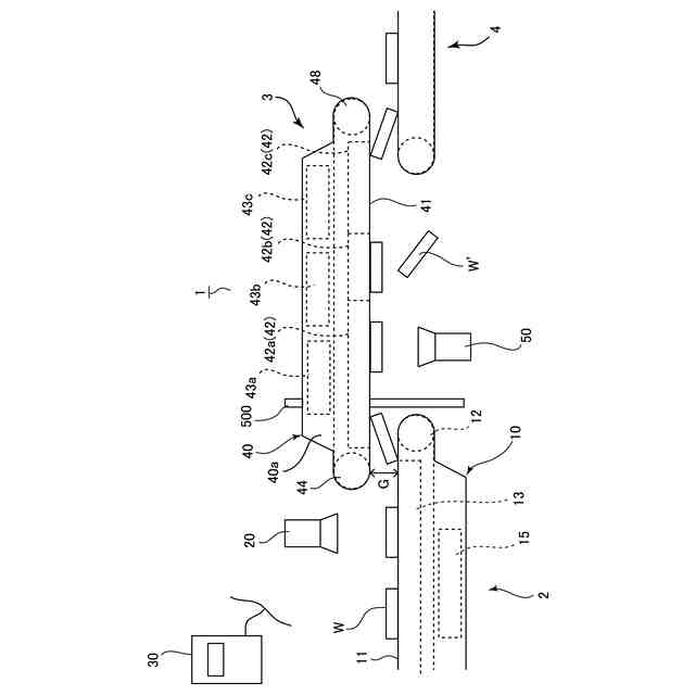
本発明の実施の形態に係るワーク選別装置を示す模式図である。
(a)バキュームコンベア用チェーンを裏面側から視た斜視図、(b)駆動状態のバキュームコンベア用チェーンを走行方向から視た模式図、(c)非駆動状態のバキュームコンベア用チェーンを走行方向から視た模式図。
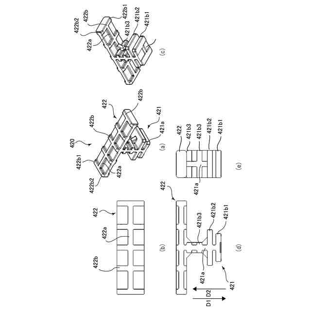
(a)アタッチメント部が非装着状態の際のチェーンリンクを示す斜視図、(b)アタッチメント部が装着状態の際のチェーンリンクを示す斜視図。
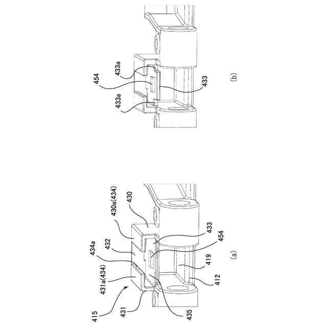
(a)チェーン本体部の取付部を示す模式図、(b)取付部の変形例を示す模式図。
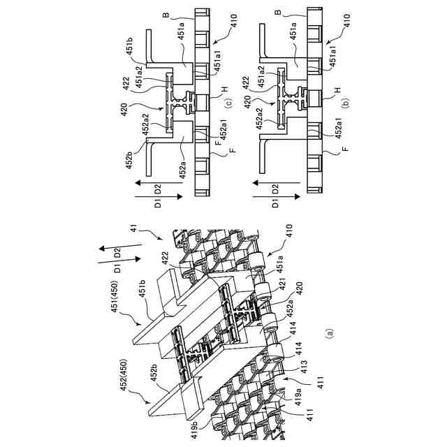
アタッチメントを示す模式図であって、(a)は斜め上方から視た斜視図、(b)は平面図、(c)は斜め下方から視た斜視図、(d)は正面図、(e)は側面図。
アタッチメントが装着された状態を示す模式図。
アタッチメントの変形例を示す模式図であって、(a)アーム部に係止部が直接固定されたアタッチメントを示す図、(b)アーム部が幅方向一方側にのみ延設されたアタッチメントを示す図、(c)図7(b)に示すアタッチメントの使用状態を示す図。
【発明を実施するための形態】
(【0011】以降は省略されています)
この特許をJ-PlatPat(特許庁公式サイト)で参照する
関連特許
大同工業株式会社
潤滑剤及び潤滑剤の塗布方法
3か月前
大同工業株式会社
チェーン
1か月前
大同工業株式会社
バキュームコンベア用チェーン及びバキュームコンベア装置
15日前
個人
束ね具
8日前
個人
収容箱
4か月前
個人
コンベア
6か月前
個人
容器
10か月前
個人
段ボール箱
7か月前
個人
ゴミ収集器
7か月前
個人
段ボール箱
8か月前
個人
宅配システム
7か月前
個人
土嚢運搬器具
9か月前
個人
楽ちんハンド
5か月前
個人
角筒状構造体
6か月前
個人
バンド
2か月前
個人
テープ引出機
8日前
個人
閉塞装置
10か月前
個人
廃棄物収容容器
3か月前
個人
コード類収納具
9か月前
個人
棒状体収容容器
12日前
個人
包装容器
2か月前
個人
お薬の締結装置
6か月前
個人
貯蔵サイロ
7か月前
個人
蓋閉止構造
4か月前
個人
把手付米袋
5か月前
個人
ゴミ処理機
10か月前
株式会社和気
包装用箱
22日前
個人
蓋閉止構造
4か月前
株式会社バンダイ
物品
1か月前
株式会社コロナ
梱包材
6か月前
株式会社和気
包装用箱
9か月前
個人
積み重ね用補助具
3か月前
三甲株式会社
容器
6か月前
株式会社イシダ
搬送装置
7か月前
三甲株式会社
容器
2か月前
個人
介護用コップ
3か月前
続きを見る
他の特許を見る