TOP
|
特許
|
意匠
|
商標
特許ウォッチ
Twitter
他の特許を見る
10個以上の画像は省略されています。
公開番号
2025164876
公報種別
公開特許公報(A)
公開日
2025-10-30
出願番号
2025140383,2024062526
出願日
2025-08-26,2019-02-27
発明の名称
カートレジ装置、カートレジ装置の情報処理方法、およびプログラム
出願人
日本電気株式会社
代理人
個人
,
個人
主分類
G07G
1/00 20060101AFI20251023BHJP(チェック装置)
要約
【課題】 顧客が効率よく記録媒体に記録された電子マネーの残高を確認できる情報処理装置、サーバ、情報処理システム、情報処理方法、および情報処理プログラムを提供する。
【解決手段】 カートレジ装置において、記録媒体から記録媒体識別情報を取得し、取得した記録媒体識別情報およびカートレジ識別情報をサーバに送信する。サーバは受信した記録媒体識別情報とカートレジ識別情報を対応付けて記憶し、受信した記録媒体識別情報に対応付けられた第1残高を情報処理装置に送信する。カートレジ装置は、受信した第1残高を表示部に表示させる。また、前記記録媒体に電子マネーがチャージされた場合に、カートレジ装置は、チャージされた該記録媒体の第2残高をサーバから受信し、受信した前記第2残高を前記表示部に表示させる。
【選択図】 図1
特許請求の範囲
【請求項1】
記録媒体から記録媒体識別情報を取得する記録媒体情報取得手段と、
カートレジ識別情報および前記記録媒体識別情報を、電子マネーを管理するサーバに送信する送信手段と、
前記記録媒体識別情報に対応する第1残高をカートレジ装置の表示部に表示させる表示制御手段と、
前記第1残高と、入金装置において電子マネーにチャージされた金額と、を足し合わせた残高である第2残高を前記サーバから受信する受信手段と、を備え、
前記表示制御手段は、前記表示部に表示された所定の領域を押下された場合、前記表示部の前記第1残高の表示を、前記第2残高の表示に更新する、
カートレジ装置。
続きを表示(約 1,200 文字)
【請求項2】
前記受信手段は、前記表示部に表示された前記所定の領域を押下された場合、前記第2残高を受信する、
請求項1に記載のカートレジ装置。
【請求項3】
前記受信手段は、前記入金装置において電子マネーがチャージされた場合、前記第2残高を受信する、
請求項1または2に記載のカートレジ装置。
【請求項4】
前記所定の領域は、前記第1残高が所定金額以下になった場合に活性化される、
請求項1から3のいずれかに記載のカートレジ装置。
【請求項5】
前記所定の領域は、前記サーバから前記第2残高を受信した場合に活性化される、
請求項1、3および4のいずれかに記載のカートレジ装置。
【請求項6】
前記記録媒体は、カードまたは携帯端末である、
請求項1から5のいずれかに記載のカートレジ装置。
【請求項7】
前記表示部は、タブレット端末のディスプレイである、
請求項1から6のいずれかに記載のカートレジ装置。
【請求項8】
前記カートレジ装置は、顧客が商品登録を行いながら買い物をするための装置であり、
前記記録媒体情報取得手段は、前記商品登録の前に、前記記録媒体識別情報を取得し、
前記表示制御手段は、前記商品登録が行われるタイミングであって、かつ、前記商品登録された商品の精算が行われる前であるタイミングにおいて、前記表示部に表示された所定の領域を押下された場合、前記表示部の前記第1残高の表示を、前記第2残高の表示に更新する、
請求項1から7のいずれかに記載のカートレジ装置。
【請求項9】
記録媒体から記録媒体識別情報を取得し、
カートレジ識別情報および前記記録媒体識別情報を、電子マネーを管理するサーバに送信し、
前記記録媒体識別情報に対応する第1残高をカートレジ装置の表示部に表示させ、
前記第1残高と、入金装置において電子マネーにチャージされた金額と、を足し合わせた残高である第2残高を前記サーバから受信し、
前記表示部に表示された所定の領域を押下された場合、前記表示部の前記第1残高の表示を、前記第2残高の表示に更新する、
カートレジ装置の情報処理方法。
【請求項10】
記録媒体から記録媒体識別情報を取得し、
カートレジ識別情報および前記記録媒体識別情報を、電子マネーを管理するサーバに送信し、
前記記録媒体識別情報に対応する第1残高をカートレジ装置の表示部に表示させ、
前記第1残高と、入金装置において電子マネーにチャージされた金額と、を足し合わせた残高である第2残高を前記サーバから受信し、
前記表示部に表示された所定の領域を押下された場合、前記表示部の前記第1残高の表示を、前記第2残高の表示に更新する、
処理をコンピュータに実行させるプログラム。
発明の詳細な説明
【技術分野】
【0001】
情報処理装置、サーバ、情報処理システム、情報処理方法、および情報処理プログラムに関する。
続きを表示(約 2,000 文字)
【背景技術】
【0002】
引用文献1には、購入商品の登録から代金の精算までを1台のショッピングカート(以下、カート)で処理できるシステムが記載されている。引用文献1では、顧客が押し歩くカートにスキャナを設け、顧客がカートに商品を入れる際にスキャナを用いて商品登録する。また、引用文献1では、カートに設けられたプリペイドカードリーダライタ、カードリーダ、表示装置及び現金入金装置を用いてカードや現金による入金および決済処理を行うことが記載されている。さらに、プリペイドカードを読み込ませた後、表示装置の残金表示ボタンを押下することで残金を表示すること、残金が予め定められた金額以下になったら警告音を発することが記載されている。
【先行技術文献】
【特許文献】
【0003】
特開平05-314367号公報
【発明の概要】
【発明が解決しようとする課題】
【0004】
しかしながら、引用文献1では、決済用のカードを読み込ませた後、残金表示ボタンを押下することで残金を表示する構成であり、買い物の途中で該カードに決済可能な金額をチャージする場合はチャージする毎に該カードを読み込ませる必要があり効率が悪い。
【0005】
そこで、本発明は、顧客が効率よく記録媒体に記録された電子マネーの残高を確認できる情報処理装置、サーバ、情報処理システム、情報処理方法、および情報処理プログラムを提供する。
【課題を解決するための手段】
【0006】
本発明のカートレジ装置は、記録媒体から記録媒体識別情報を取得する記録媒体情報取得手段と、カートレジ識別情報および記録媒体識別情報を、電子マネーを管理するサーバに送信する送信手段と、記録媒体識別情報に対応する第1残高をカートレジ装置の表示部に表示させる表示制御手段と、第1残高と、入金装置において電子マネーにチャージされた金額と、を足し合わせた残高である第2残高をサーバから受信する受信手段と、を備え、表示制御手段は、表示部に表示された所定の領域を押下された場合、表示部の第1残高の表示を、第2残高の表示に更新する。
【発明の効果】
【0007】
本発明によれば、顧客が効率よく記録媒体に記録された電子マネーの残高を確認できる情報処理装置、サーバ、情報処理システム、情報処理方法、および情報処理プログラムを提供できる。
【図面の簡単な説明】
【0008】
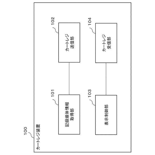
第1の実施形態に係るカートレジ装置100の構成を示す機能ブロック図である。
第2の実施形態に係る情報処理システム1の構成を示す機能ブロック図である。
カートレジ装置使用状況テーブル1000を示す図である。
残高テーブル1001を示す図である。
情報処理システム1のハードウェア構成例を示す図である。
情報処理システム1における残高取得処理の動作の流れを示すシーケンス図である。
顧客がカートレジ装置200に記録媒体を読み込ませると表示部に表示される画面例である。
情報処理システム1における商品登録処理の動作の流れを示すシーケンス図である。
顧客がミカン、リンゴ、およびチョコレートを商品登録すると表示部に表示される画面例である。
報処理システム1における入金処理の動作の流れを示すシーケンス図である。
残高テーブル1002を示す図である。
顧客が入金装置で電子マネー1,000円をチャージすると表示部に表示される画面例である。
情報処理システム1における精算処理の動作の流れを示すシーケンス図である。
残高テーブル1003を示す図である。
精算完了画面の画面例である。
【発明を実施するための形態】
【0009】
[第1の実施形態]
図1は、本発明の第1の実施形態に係るカートレジ装置100の構成を示す機能ブロック図である。カートレジ装置100は、記録媒体情報取得部101、カートレジ送信部102、表示制御部103、およびカートレジ受信部104を備える。
【0010】
記録媒体情報取得部101は、記録媒体から記録媒体識別情報を取得する。記録媒体識別情報は、記録媒体を一意に識別可能な情報である。カートレジ送信部102は、取得した記録媒体識別情報およびカートレジ識別情報を外部装置(不図示)に送信する。表示制御部103は、取得した記録媒体識別情報に対応する第1残高を表示部に表示させる。カートレジ受信部104は、記録媒体に電子マネーがチャージされた場合に、チャージされた該記録媒体の残高である第2残高を受信する。
(【0011】以降は省略されています)
この特許をJ-PlatPat(特許庁公式サイト)で参照する
関連特許
日本電気株式会社
管理装置
20日前
日本電気株式会社
監視装置
20日前
日本電気株式会社
監視装置
20日前
日本電気株式会社
光モジュール
7日前
日本電気株式会社
異常検知装置
12日前
日本電気株式会社
海底分岐装置
21日前
日本電気株式会社
光集積回路素子
25日前
日本電気株式会社
レーザモジュール
26日前
日本電気株式会社
超伝導量子回路装置
26日前
日本電気株式会社
受信器および通信装置
27日前
日本電気株式会社
システム、装置及び方法
26日前
日本電気株式会社
通信装置および通信方法
1か月前
日本電気株式会社
光伝送システムおよび方法
28日前
日本電気株式会社
ラインカード及びイジェクタ
18日前
日本電気株式会社
制御装置、プログラム及び方法
26日前
日本電気株式会社
考査装置、考査方法、プログラム
今日
日本電気株式会社
兆候検知装置および兆候検知方法
28日前
日本電気株式会社
演算処理装置および演算処理方法
28日前
日本電気株式会社
考査装置、考査方法、プログラム
今日
日本電気株式会社
推定装置、推定方法及びプログラム
26日前
日本電気株式会社
放送用システムおよび字幕作成方法
28日前
日本電気株式会社
交渉装置、交渉方法及びプログラム
7日前
日本電気株式会社
端末、端末の制御方法及びプログラム
18日前
日本電気株式会社
レコメンド装置およびレコメンド方法
14日前
日本電気株式会社
ソーナー装置、通信方法、プログラム
28日前
日本電気株式会社
情報処理装置、制御方法及び記憶媒体
26日前
日本電気株式会社
安否確認支援装置、方法及びプログラム
21日前
日本電気株式会社
判別装置、判別方法、およびプログラム
28日前
日本電気株式会社
学習装置、学習方法及び学習プログラム
26日前
日本電気株式会社
性能監視装置、性能監視方法、プログラム
1か月前
日本電気株式会社
動作認識装置、動作認識方法、プログラム
28日前
日本電気株式会社
追跡支援装置、追跡支援方法及びプログラム
25日前
日本電気株式会社
視聴支援装置、視聴支援方法及びプログラム
5日前
日本電気株式会社
情報処理装置、提示方法、およびプログラム
26日前
日本電気株式会社
情報処理装置、計算方法、およびプログラム
26日前
日本電気株式会社
情報処理装置、情報処理方法及びプログラム
26日前
続きを見る
他の特許を見る