TOP
|
特許
|
意匠
|
商標
特許ウォッチ
Twitter
他の特許を見る
10個以上の画像は省略されています。
公開番号
2025164786
公報種別
公開特許公報(A)
公開日
2025-10-30
出願番号
2025131283,2022531097
出願日
2025-08-06,2021-06-15
発明の名称
二次電池の作製方法
出願人
株式会社半導体エネルギー研究所
代理人
主分類
H01M
4/525 20100101AFI20251023BHJP(基本的電気素子)
要約
【課題】充放電容量の大きい正極活物質を提供する。または、充放電電圧の高い正極活物質を提供する。または、劣化が少ない正極活物質を提供する。
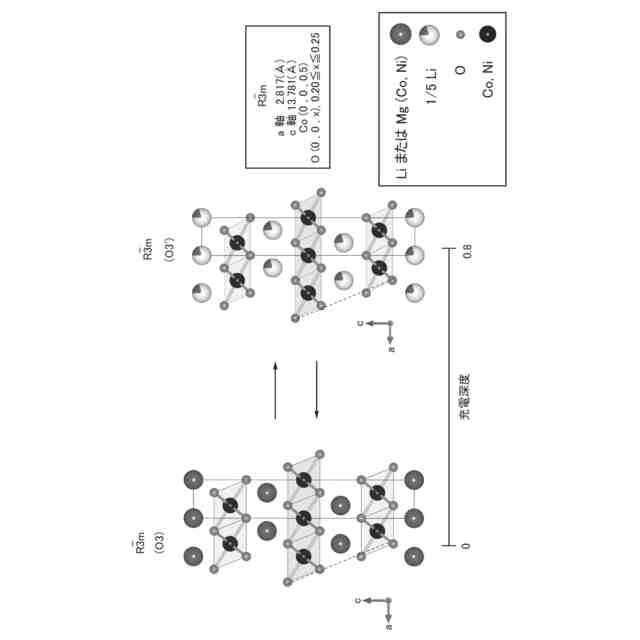
【解決手段】複数回の加熱工程を経て正極活物質を作製する。2回目以降の加熱工程は、742℃以上920℃以下、1時間以上10時間以下で行うことが好ましい。該加熱により、マグネシウム、フッ素等が正極活物質の表層部に好ましい濃度で分布する。一般的なコバルト酸リチウムは4.6V充電時にH1-3相型結晶構造となるため結晶構造が崩れやすいが、本発明の正極活物質は4.6V充電時にH1-3型が少なく、放電時と結晶構造の変化の比較的少ないO3’型結晶構造を有するため、サイクル特性が極めて良好である。
【選択図】図5
特許請求の範囲
【請求項1】
二次電池の作製方法であって、
前記二次電池は、正極を有し、
前記正極は、正極活物質を有し、
前記正極活物質は、第1の作製工程乃至第3の作製工程を経て作製され、
前記第1の作製工程は、炭酸リチウムと、炭酸コバルトと、酸化マグネシウムと、フッ化リチウムと、を混合し混合物を作製する工程であり、
前記第2の作製工程は、前記混合物を900℃以上1100℃以下、5時間以上20時間以下で加熱し複合酸化物を作製する工程であり、
前記第3の作製工程は、前記複合酸化物を742℃以上920℃以下、1時間以上10時間以下で加熱する工程である、
二次電池の作製方法。
続きを表示(約 340 文字)
【請求項2】
二次電池の作製方法であって、
前記二次電池は、正極を有し、
前記正極は、正極活物質を有し、
前記正極活物質は、第1の作製工程乃至第3の作製工程を経て作製され、
前記第1の作製工程は、炭酸リチウムと、炭酸コバルトと、酸化マグネシウムと、フッ化リチウムと、を混合し混合物を作製する工程であり、
前記第2の作製工程は、前記混合物を容器に入れ、その後蓋をして900℃以上1100℃以下、5時間以上20時間以下で加熱し複合酸化物を作製する工程であり、
前記第3の作製工程は、前記複合酸化物を容器に入れ、その後蓋をして742℃以上920℃以下、1時間以上10時間以下で加熱する工程である、
二次電池の作製方法。
発明の詳細な説明
【技術分野】
【0001】
本発明の一様態は、正極活物質を用いる二次電池及びその作製方法に関する。または、二次電池を有する携帯情報端末、車両等に関する。
続きを表示(約 2,100 文字)
【0002】
また本発明の一様態は、物、方法、又は、製造方法に関する。または、本発明の一態様は、プロセス、マシン、マニュファクチャ、又は、組成物(コンポジション・オブ・マター)に関する。本発明の一態様は、半導体装置、表示装置、発光装置、蓄電装置、照明装置、電子機器、またはそれらの製造方法に関する。
【0003】
なお、本明細書等において電子機器とは、蓄電装置を有する装置全般を指し、蓄電装置を有する電気光学装置、蓄電装置を有する情報端末装置などは全て電子機器である。
【0004】
なお、本明細書等において、蓄電装置とは、蓄電機能を有する素子及び装置全般を指すものである。例えば、リチウムイオン二次電池などの蓄電装置(二次電池ともいう)、リチウムイオンキャパシタ、及び電気二重層キャパシタなどを含む。
【背景技術】
【0005】
近年、リチウムイオン二次電池、リチウムイオンキャパシタ、空気電池等、種々の蓄電装置の開発が盛んに行われている。特に高出力、高エネルギー密度であるリチウムイオン二次電池は、携帯電話、スマートフォン、もしくはノート型コンピュータ等の携帯情報端末、携帯音楽プレーヤ、デジタルカメラ、医療機器、又は、ハイブリッド車(HV)、電気自動車(EV)、もしくはプラグインハイブリッド車(PHV)等の次世代クリーンエネルギー自動車など、半導体産業の発展と併せて急速にその需要が拡大し、繰り返し充電可能なエネルギーの供給源として現代の情報化社会に不可欠なものとなっている。
【0006】
そのため、リチウムイオン二次電池の充放電サイクル特性の向上および高容量化のために、正極活物質の改良が検討されている(たとえば特許文献1および非特許文献1)。また、正極活物質の結晶構造に関する研究も行われている(非特許文献2乃至非特許文献4)。
【0007】
また、蓄電装置に要求されている特性としては、様々な動作環境での安全性、長期信頼性の向上などがある。
【先行技術文献】
【特許文献】
【0008】
特表2014-523840号公報
【非特許文献】
【0009】
Jae-Hyun Shim et al, “Characterization of Spinel LixCo2O4・CoatedLiCoO2 Prepared with Post-Thermal Treatment as a Cathode Material for Lithium Ion Batteries”, CEMISTRY OF MATERIALS, 2015, 27, p.3273-3279
Toyoki Okumura et al,“Correlation of lithium ion distribution and X-ray absorption near-edge structure in 03-and 02・lithium cobalt oxides from first-principle calculation”, Journal of Materials Chemistry, 2012, 22, p.17340-17348
Motohashi, T. et al,“Electronic phase diagram of the layered cobalt oxide system LixCoO2 (0.0≦x≦1.0)”, Physical Review B, 80(16);165114
Zhaohui Chen et al, “Staging Phase Transitions in LixCoO2”, Journal of The Electrochemical Society, 2002, 149(12) A1604-A1609
【発明の概要】
【発明が解決しようとする課題】
【0010】
本発明の一態様は、高エネルギー密度で、かつ充放電容量の大きい正極活物質を提供することを課題の一とする。または、充放電電圧の高い正極活物質を提供することを課題の一とする。または、劣化が少ない正極活物質を提供することを課題の一とする。または、新規な正極活物質を提供することを課題の一とする。または、高エネルギー密度で、かつ充放電容量の大きい二次電池を提供することを課題の一とする。または、充放電電圧の高い二次電池を提供することを課題の一とする。または、安全性または信頼性の高い二次電池を提供することを課題の一とする。または、劣化が少ない二次電池を提供することを課題の一とする。または、長寿命の二次電池を提供することを課題の一とする。
(【0011】以降は省略されています)
この特許をJ-PlatPat(特許庁公式サイト)で参照する
関連特許
東ソー株式会社
絶縁電線
12日前
APB株式会社
蓄電セル
10日前
個人
フレキシブル電気化学素子
24日前
株式会社ユーシン
操作装置
24日前
株式会社東芝
端子台
4日前
ローム株式会社
半導体装置
11日前
マクセル株式会社
電源装置
4日前
ローム株式会社
半導体装置
1か月前
ローム株式会社
半導体装置
26日前
日新イオン機器株式会社
イオン源
20日前
オムロン株式会社
電磁継電器
25日前
株式会社GSユアサ
蓄電装置
5日前
株式会社GSユアサ
蓄電装置
5日前
株式会社ホロン
冷陰極電子源
18日前
株式会社GSユアサ
蓄電設備
24日前
太陽誘電株式会社
コイル部品
24日前
株式会社GSユアサ
蓄電設備
24日前
トヨタ自動車株式会社
冷却構造
12日前
ノリタケ株式会社
熱伝導シート
24日前
日本特殊陶業株式会社
保持装置
13日前
サクサ株式会社
電池の固定構造
24日前
トヨタ自動車株式会社
バッテリ
10日前
日東電工株式会社
積層体
25日前
日新イオン機器株式会社
基板処理装置
7日前
トヨタ自動車株式会社
蓄電装置
5日前
トヨタ自動車株式会社
バッテリ
25日前
北道電設株式会社
配電具カバー
10日前
トヨタ自動車株式会社
蓄電装置
24日前
TDK株式会社
電子部品
1か月前
SMK株式会社
キートップ及びスイッチ
26日前
株式会社トクヤマ
シリコンエッチング液
18日前
住友電装株式会社
コネクタ
12日前
ローム株式会社
半導体装置
26日前
ローム株式会社
半導体装置
12日前
TDK株式会社
コイル部品
1か月前
ベストテック株式会社
装置支持具
24日前
続きを見る
他の特許を見る