TOP
|
特許
|
意匠
|
商標
特許ウォッチ
Twitter
他の特許を見る
10個以上の画像は省略されています。
公開番号
2025164635
公報種別
公開特許公報(A)
公開日
2025-10-30
出願番号
2024079372
出願日
2024-05-15
発明の名称
一方向バルブ及び関連する容器キット
出願人
立兆股ふん有限公司
代理人
個人
,
個人
主分類
B65D
51/16 20060101AFI20251023BHJP(運搬;包装;貯蔵;薄板状または線条材料の取扱い)
要約
【課題】小さな壁の厚みを有する容器に適合する一方向バルブ、及び関連する容器キットを提供する。
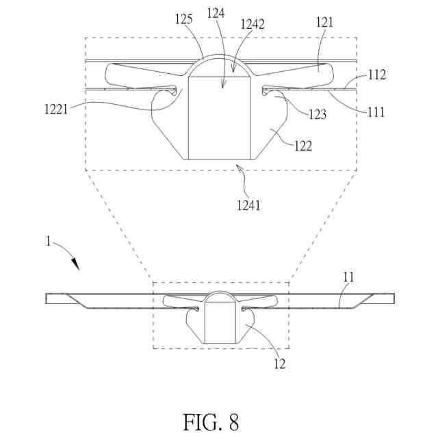
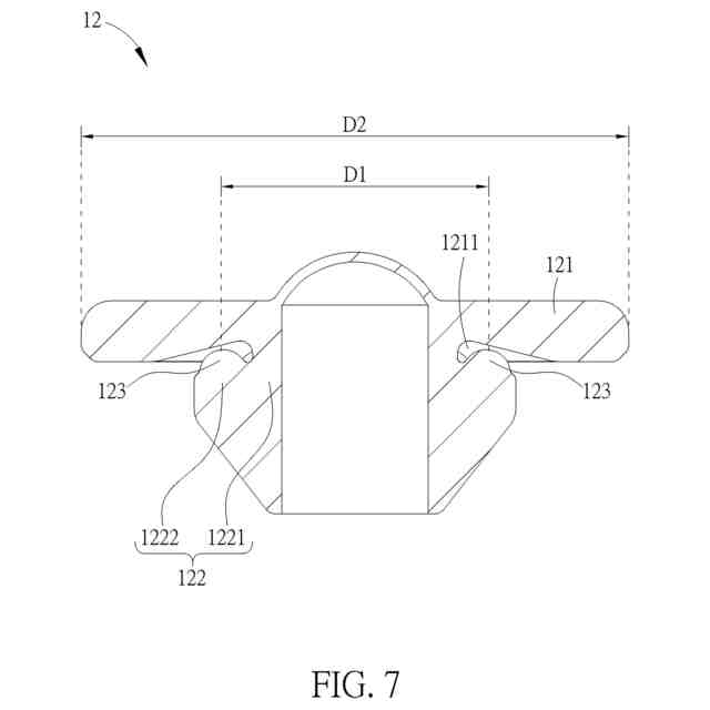
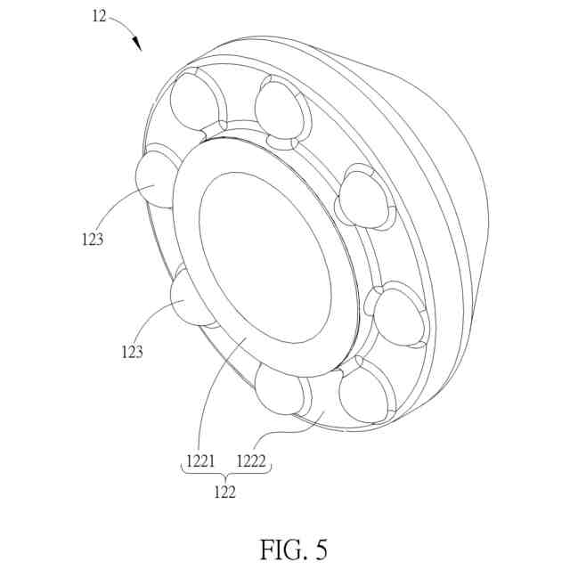
【解決手段】容器11に適合する一方向バルブ12が提供され、上側部分121と、下側部分122と、複数の突起123とを備えている。上側部分は、弾性変形可能である。下側部分は、上側部分に一体的に接続されている。複数の突起は、下側部分から上側部分に向かって突出し、上側部分から分離している。複数の突起のうち2つの隣接する突起123は、互いにスペースをあけて配置されている。複数の突起は、容器の内面111によって突き当てられ、容器の外面112によって上側部分を弾性変形させるように構成されている。さらに、関連する容器キットが提供される。
【選択図】図8
特許請求の範囲
【請求項1】
容器に適合する一方向バルブであって、
弾性変形可能である上側部分と、
前記上側部分に一体的に接続されている下側部分と、
前記下側部分から前記上側部分に向かって突出し、前記上側部分から分離している複数の突起であり、複数の突起のうちの2つの隣接する突起は、互いにスペースをあけて配置され、複数の突起は、前記容器の内面によって突き当てられ、前記容器の外面によって前記上側部分を弾性変形させるように構成されている、複数の突起とを備えている、一方向バルブ。
続きを表示(約 1,200 文字)
【請求項2】
凹部構造が前記上側部分に形成され、
一方向バルブが前記容器から取り外されて非変形状態にある場合に、複数の前記突起のそれぞれが、少なくとも部分的に前記凹部構造の中に収容される、請求項1記載の一方向バルブ。
【請求項3】
前記凹部構造の深さは、内側から外側に向かって徐々に減少する、請求項2記載の一方向バルブ。
【請求項4】
前記下側部分は、ステム本体とプラットフォーム構造とを含み、
前記ステム本体は、前記上側部分に一体的に接続され、一方向バルブが前記容器に取り付けられた場合に、前記容器を貫通するように構成され、
前記プラットフォーム構造は、前記ステム本体から延びて前記上側部分から分離され、複数の前記突起は、前記プラットフォーム構造から突出する、請求項1記載の一方向バルブ。
【請求項5】
複数の前記突起は、第1直径を有する円の中に配置され、前記上側部分の外周は、第2直径を有し、前記第2直径は前記第1直径よりも大きい、請求項1記載の一方向バルブ。
【請求項6】
一方向バルブが前記容器に取り付けられた場合に、前記上側部分は、前記容器の前記外面から少なくとも部分的に分離するように構成され、複数の前記突起のうちの2つの前記隣接する突起と前記容器の前記内面との間の空間と、前記上側部分と前記容器の前記外面との間の空間とによって形成される流体通路を設ける、請求項1記載の一方向バルブ。
【請求項7】
さらに、チャンネル構造と弾力性構造とを備え、前記チャンネル構造は、前記下側部分と前記上側部分とを貫通し、前記下側部分に形成された下側開口と、前記上側部分に形成された上側開口とを有し、前記弾力性構造は、前記上側部分の上面から延び、前記上側開口を覆い、
前記弾力性構造の厚みは、前記上側部分の厚みよりも小さく、前記弾力性構造は、前記容器の内部空気圧と外部空気圧との差圧に応じて、突出状態と非突出状態との間で移動可能である、請求項1記載の一方向バルブ。
【請求項8】
さらに、前記下側部分を貫通するチャンネル構造であり、前記下側部分の下端に形成された下側開口と、前記下側部分の上端に形成された上側開口とを有するチャンネル構造を備え、
前記上側部分は、前記上側開口を覆い、前記上側部分は、前記容器の内部空気圧と外部空気圧との差圧に応じて、突出状態と非突出状態との間で移動可能である、請求項1記載の一方向バルブ。
【請求項9】
複数の延長構造が、前記上側部分の上面に形成され、追加容器の底部分に突き当たるように構成されている、請求項1記載の一方向バルブ。
【請求項10】
突出リングが、前記下側部分のステム本体の下端に形成されている、請求項1記載の一方向バルブ。
(【請求項11】以降は省略されています)
発明の詳細な説明
【技術分野】
【0001】
本発明は、一方向バルブ及び関連する容器キットに関し、さらに具体的には、小さな壁の厚みを有する容器に適合する一方向バルブ、及び関連する容器キットに関する。
続きを表示(約 1,300 文字)
【背景技術】
【0002】
市場で入手可能な、食品を保存するための様々な真空容器が存在する。真空容器は通常、収容構成要素と一方向バルブとを含む。収容構成要素は、食品を収容するものである。一方向バルブは、収容構成要素に取り付けられている。一方向バルブは、例えば真空ポンプによって空気を収容構成要素から抜き出し、周囲の空気が収容構成要素に進入することを防止することができる。しかし、従来の一方向バルブでは、一方向バルブを確実に取り付け、適切に機能させるために、収容構成要素に大きな壁の厚みを必要とする。そのため、従来の真空容器の改良が、早急に必要とされている。
【発明の概要】
【0003】
本発明の目的は、前述の問題を解決するために、小さな壁の厚みを有する容器に適合する一方向バルブ及び関連する容器キットを提供することである。
【0004】
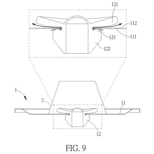
上記目的を達成するために、本発明は、容器に適合する一方向バルブを開示する。一方向バルブは、弾性変形可能である上側部分と;上側部分に一体的に接続されている下側部分と;下側部分から上側部分に向かって突出し、上側部分から分離している複数の突起であり、複数の突起のうちの2つの隣接する突起は、互いにスペースをあけて配置され、複数の突起は、容器の内面によって突き当てられ、容器の外面によって上側部分を弾性変形させるように構成されている、複数の突起とを備えている。
【0005】
本発明の実施形態によれば、凹部構造が上側部分に形成され;一方向バルブが容器から取り外されて非変形状態にある場合に、複数の突起のそれぞれが、少なくとも部分的に凹部構造の中に収容される。
【0006】
本発明の実施形態によれば、凹部構造の深さは、内側から外側に向かって徐々に減少する。
【0007】
本発明の実施形態によれば、下側部分は、ステム本体とプラットフォーム構造とを含み;ステム本体は、上側部分に一体的に接続され、一方向バルブが容器に取り付けられた場合に、容器を貫通するように構成され;プラットフォーム構造は、ステム本体から延びて上側部分から分離され、複数の突起は、プラットフォーム構造から突出する。
【0008】
本発明の実施形態によれば、複数の突起は、第1直径を有する円の中に配置され、上側部分の外周は、第2直径を有し、第2直径は第1直径よりも大きい。
【0009】
本発明の実施形態によれば、一方向バルブが容器に取り付けられた場合に、上側部分は、容器の外面から少なくとも部分的に分離するように構成され、複数の突起のうちの2つの隣接する突起と容器の内面との間の空間と、上側部分と容器の外面との間の空間とによって形成される流体通路を設ける。
【0010】
本発明の実施形態によれば、一方向バルブが容器に取り付けられた場合に、複数の突起は、容器の内面によって突き当てられ続け、容器の内面から分離されない。
(【0011】以降は省略されています)
この特許をJ-PlatPat(特許庁公式サイト)で参照する
関連特許
立兆股ふん有限公司
圧力信号システム
4日前
立兆股ふん有限公司
制御バルブ及び関連する容器キット
26日前
立兆股ふん有限公司
一方向バルブ及び関連する容器キット
25日前
立兆股ふん有限公司
靴のための気候制御システム及び関連する靴底
1か月前
立兆股ふん有限公司
容器のために適合された真空キット及び関連する真空製品
3か月前
個人
収容箱
4か月前
個人
束ね具
13日前
個人
コンベア
6か月前
個人
容器
10か月前
個人
段ボール箱
7か月前
個人
段ボール箱
8か月前
個人
ゴミ収集器
7か月前
個人
バンド
3か月前
個人
土嚢運搬器具
9か月前
個人
テープ引出機
13日前
個人
宅配システム
7か月前
個人
楽ちんハンド
5か月前
個人
角筒状構造体
6か月前
個人
お薬の締結装置
6か月前
個人
閉塞装置
11か月前
個人
廃棄物収容容器
3か月前
個人
棒状体収容容器
17日前
個人
コード類収納具
9か月前
個人
包装容器
2か月前
個人
蓋閉止構造
4か月前
個人
積み重ね用補助具
3か月前
個人
蓋閉止構造
4か月前
株式会社コロナ
梱包材
6か月前
株式会社和気
包装用箱
27日前
株式会社和気
包装用箱
9か月前
個人
把手付米袋
5か月前
個人
ゴミ処理機
10か月前
個人
貯蔵サイロ
8か月前
株式会社バンダイ
物品
1か月前
個人
搬送システム
7か月前
株式会社新弘
容器
3か月前
続きを見る
他の特許を見る