TOP
|
特許
|
意匠
|
商標
特許ウォッチ
Twitter
他の特許を見る
10個以上の画像は省略されています。
公開番号
2025121333
公報種別
公開特許公報(A)
公開日
2025-08-19
出願番号
2024037571
出願日
2024-03-11
発明の名称
容器のために適合された真空キット及び関連する真空製品
出願人
立兆股ふん有限公司
代理人
個人
,
個人
主分類
B65B
31/04 20060101AFI20250812BHJP(運搬;包装;貯蔵;薄板状または線条材料の取扱い)
要約
【課題】 改善された真空キットを提供すること。
【解決手段】 容器のために適合された真空キットが提供され、真空装置と、真空装置に着脱可能に組み付けられ受液器とを含む。受液器は、収容ケース、封止部品及び浮力装置を含む。封止部品は受液器の出口に隣接して配置される。浮力装置は、収容ケースに対して初期位置とクランプ位置との間で可動である。浮力装置が、容器から流出する液体によって駆動され、初期位置から、初期位置とクランプ位置との間の作動位置に移動した後に、浮力装置は磁力によって駆動され、浮力装置及び収容ケースによって封止部品をクランプして収容ケースの出口を封止するために、作動位置からクランプ位置に移動する。加えて、関連する真空製品も提供される。
【選択図】 図7
特許請求の範囲
【請求項1】
容器のために適合された真空キットであって、当該真空キット、
真空装置と、
前記真空装置に着脱可能に組み付けられる受液器であって、該受液器は、
入口及び出口を含む収容ケースと、
前記収容ケースの出口に隣接して配置される封止部品と、
前記収容ケースに対して初期位置とクランプ位置との間で可動な浮力装置であって、該浮力装置は、
前記収容ケース内で少なくとも部分的に可動に受容される浮力アセンブリと、
前記浮力アセンブリと係合する磁性部品であって、該磁性部品は、前記真空装置と前記受液器が互いに組み付けられた場合に磁力を提供するように構成されている、磁性部品と、を含む、浮力装置と、
を含み、
前記浮力装置が前記初期位置に位置する場合、前記磁力は、前記浮力装置を前記初期位置から離れるように駆動せず、
前記浮力装置が、前記容器から流出する液体によって駆動され、前記初期位置から、前記初期位置と前記クランプ位置との間の作動位置に移動した後に、前記磁力は、前記浮力装置及び前記収容ケースによって前記封止部品をクランプして前記収容ケースの出口を封止するために、前記浮力装置を駆動して前記作動位置から前記クランプ位置に移動させる、真空キット。
続きを表示(約 1,600 文字)
【請求項2】
前記収容ケースは、上側ケース部と、該上側ケース部に着脱可能に組み付けられる下側ケース部とをさらに含み、前記入口は該下側ケース部に形成され、前記出口は該上側ケース部に形成されている、請求項1に記載の真空キット。
【請求項3】
前記受液器は、前記上側ケース部と前記下側ケース部との間、前記真空装置と前記収容ケースとの間及び/又は前記収容ケースと前記容器との間に係合するように構成された少なくとも1つの補助封止部品をさらに含む、請求項2に記載の真空キット。
【請求項4】
第1の協働構造が前記真空装置に形成され、前記真空装置と前記受液器との組み付けを促進するために該第1の協働構造と協働する第2の協働構造が前記収容ケースに形成されている、請求項1に記載の真空キット。
【請求項5】
前記浮力アセンブリは第1の浮力部品と、該第1の浮力部品に着脱可能に組み付けられる第2の浮力部品とを含み、該第2の浮力部品は円盤状に形成され、該第1の浮力部品は本体部と、該本体部から延びて前記第2の浮力部品を貫通する少なくとも1つの延在部とを含む、請求項1に記載の真空キット。
【請求項6】
前記磁性部品は、前記第1の浮力部品と前記第2の浮力部品との間に配置されるか又は少なくとも部分的に前記第1の浮力部品の内部に配置される、請求項5に記載の真空キット。
【請求項7】
ガイド構造が前記収容ケースに形成され、前記浮力アセンブリをガイドするために前記少なくとも1つの延在部と協働するように構成されている、請求項5に記載の真空キット。
【請求項8】
前記真空装置は、
真空ポンプと、
前記真空ポンプに電気的に接続されるコントローラと、
前記コントローラに電気的に接続される圧力センサであって、該圧力センサの感知結果に応じて前記真空ポンプを制御するよう前記コントローラを作動させる、圧力センサと、
を含む、請求項1に記載の真空キット。
【請求項9】
前記受液器は、前記真空装置と前記収容ケースとの間及び/又は前記収容ケースと前記容器との間に係合するように構成された少なくとも1つの補助封止部品をさらに含む、請求項1に記載の真空キット。
【請求項10】
収容体と、該収容体に配置される弁座と、該弁座に配置される逆流防止弁とを含む容器と、
真空キットと、
を含む真空製品であって、
前記真空キットは、
真空装置と、
前記真空装置に着脱可能に組み付けられる受液器であって、該受液器は、
前記弁座に着脱可能に係合するように構成され、入口及び出口を含む収容ケースと、
前記収容ケースの出口に隣接して配置される封止部品と、
前記収容ケースに対して初期位置とクランプ位置との間で可動な浮力装置であって、該浮力装置は、
前記収容ケース内で少なくとも部分的に可動に受容される浮力アセンブリと、
前記浮力アセンブリと係合する磁性部品であって、該磁性部品は、前記真空装置と前記受液器が互いに組み付けられた場合に磁力を提供するように構成されている、磁性部品と、を含む、浮力装置と、
を含み、
前記浮力装置が前記初期位置に位置する場合、前記磁力は、前記浮力装置を前記初期位置から離れるように駆動せず、
前記浮力装置が、前記容器から流出する液体によって駆動されて、前記初期位置から、前記初期位置と前記クランプ位置との間の作動位置に移動した後に、前記磁力は、前記浮力装置及び前記収容ケースによって前記封止部品をクランプして前記収容ケースの出口を封止するために、前記浮力装置を駆動して前記作動位置から前記クランプ位置に移動させる、真空製品。
(【請求項11】以降は省略されています)
発明の詳細な説明
【技術分野】
【0001】
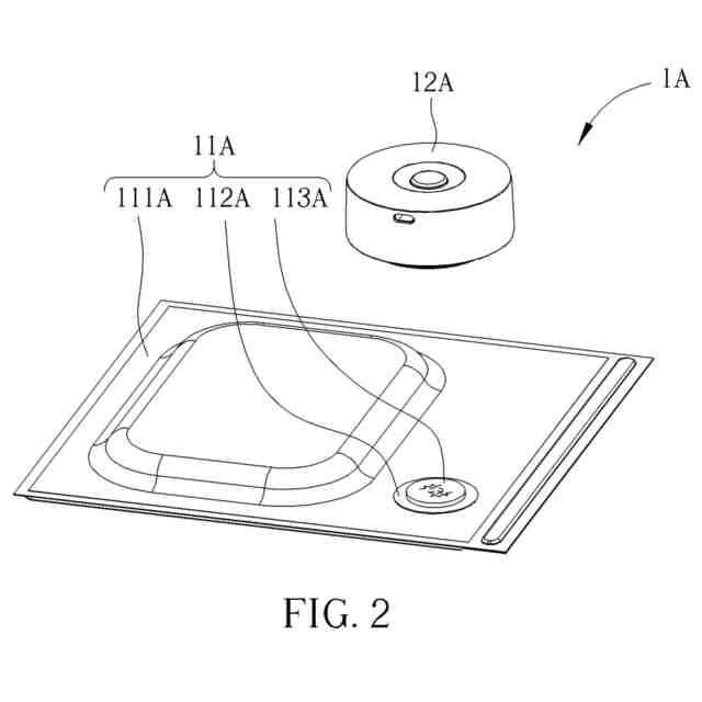
本発明は真空装置及び関連真空製品に関し、より具体的には、容器のために適合された真空キット及び関連真空製品に関する。
続きを表示(約 1,500 文字)
【背景技術】
【0002】
技術の進歩及び経済の発展に伴い、市場に流通する消費財はますます増加している。例えば、従来の真空システムは、通常、袋及び真空装置を含む。袋は食品を収容するために用いることができる。真空装置は、袋内の空気を放出して、貯蔵時間を延ばし、貯蔵量を減らすことができる。しかしながら、空気放出の間に袋内の液体が袋から流出して真空装置内に入りやすくなり、真空装置の液体による損傷の原因となる可能性がある。
【発明の概要】
【0003】
本発明は、上記課題を解決するために容器のために適合された真空キット及び関連する真空製品を提供することを目的とする。
【0004】
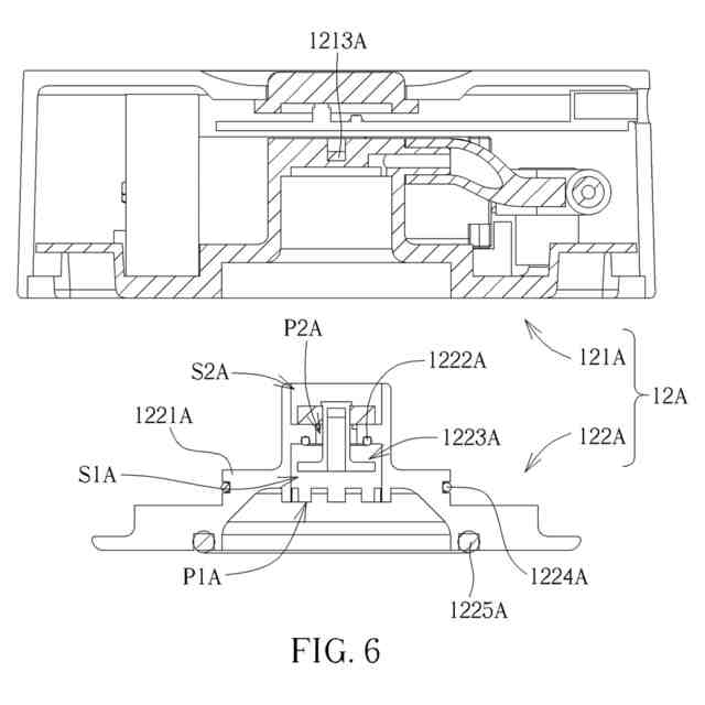
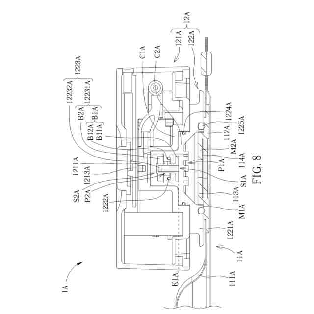
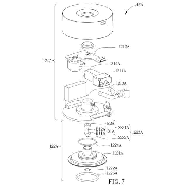
上記目的を達成するために、本発明は容器のために適合された真空キットを開示する。当該真空キットは、真空装置及び受液器を含む。受液器は真空装置に着脱可能に組み付けられる。受液器は収容ケース、封止部品及び浮力装置を含む。収容ケースは入口及び出口を含む。封止部品は収容ケースの出口に隣接して配置される。浮力装置は収容ケースに対して初期位置とクランプ位置との間で可動である。浮力装置は浮力アセンブリ及び磁性部品を含む。浮力アセンブリは収容ケース内で少なくとも部分的に可動に受容される。磁性部品は浮力アセンブリと係合する。磁性部品は、前記真空装置と前記受液器が互いに組み付けられた場合に磁力を提供するように構成されている。浮力装置が初期位置に位置する場合、前記磁力は、前記浮力装置を前記初期位置から離れるように駆動しない。浮力装置が、容器から流出する液体によって駆動され、初期位置から、初期位置とクランプ位置との間の作動位置に移動した後に、前記磁力は、前記浮力装置及び前記収容ケースによって前記封止部品をクランプして前記収容ケースの出口を封止するために、前記浮力装置を駆動して前記作動位置から前記クランプ位置に移動させる。
【0005】
本発明の一実施形態によれば、収容ケースは上側ケース部と、該上側ケース部に着脱可能に組み付けられる下側ケース部とをさらに含み、前記入口は該下側ケース部に形成され、前記出口は該上側ケース部に形成されている。
【0006】
本発明の一実施形態によれば、前記受液器は、前記上側ケース部と前記下側ケース部との間、前記真空装置と前記収容ケースとの間及び/又は前記収容ケースと前記容器との間に係合するように構成された少なくとも1つの補助封止部品をさらに含む。
【0007】
本発明の一実施形態によれば、第1の協働構造が前記真空装置に形成され、前記真空装置と前記受液器との組み付けを促進するために該第1の協働構造と協働する第2の協働構造が前記収容ケースに形成されている。
【0008】
本発明の一実施形態によれば、前記浮力アセンブリは第1の浮力部品と、該第1の浮力部品に着脱可能に組み付けられる第2の浮力部品とを含む。該第2の浮力部品は円盤状に形成され、該第1の浮力部品は本体部と、該本体部から延びて前記第2の浮力部品を貫通する少なくとも1つの延在部とを含む。
【0009】
本発明の実施形態によれば、前記磁性部品は、前記第1の浮力部品と前記第2の浮力部品との間に配置されるか又は少なくとも部分的に前記第1の浮力部品の内部に配置される。
【0010】
本発明の実施形態によれば、ガイド構造が前記収容ケースに形成され、前記浮力アセンブリをガイドするために前記少なくとも1つの延在部と協働するように構成されている。
(【0011】以降は省略されています)
この特許をJ-PlatPat(特許庁公式サイト)で参照する
関連特許
立兆股ふん有限公司
圧力信号システム
4日前
立兆股ふん有限公司
制御バルブ及び関連する容器キット
26日前
立兆股ふん有限公司
一方向バルブ及び関連する容器キット
25日前
立兆股ふん有限公司
靴のための気候制御システム及び関連する靴底
1か月前
立兆股ふん有限公司
容器のために適合された真空キット及び関連する真空製品
3か月前
個人
収容箱
4か月前
個人
束ね具
13日前
個人
コンベア
6か月前
個人
容器
10か月前
個人
段ボール箱
7か月前
個人
段ボール箱
8か月前
個人
ゴミ収集器
7か月前
個人
バンド
3か月前
個人
土嚢運搬器具
9か月前
個人
テープ引出機
13日前
個人
宅配システム
7か月前
個人
楽ちんハンド
5か月前
個人
角筒状構造体
6か月前
個人
お薬の締結装置
6か月前
個人
閉塞装置
11か月前
個人
廃棄物収容容器
3か月前
個人
棒状体収容容器
17日前
個人
コード類収納具
9か月前
個人
包装容器
2か月前
個人
蓋閉止構造
4か月前
個人
積み重ね用補助具
3か月前
個人
蓋閉止構造
4か月前
株式会社コロナ
梱包材
6か月前
株式会社和気
包装用箱
27日前
株式会社和気
包装用箱
9か月前
個人
把手付米袋
5か月前
個人
ゴミ処理機
10か月前
個人
貯蔵サイロ
8か月前
株式会社バンダイ
物品
1か月前
個人
搬送システム
7か月前
株式会社新弘
容器
3か月前
続きを見る
他の特許を見る