TOP
|
特許
|
意匠
|
商標
特許ウォッチ
Twitter
他の特許を見る
10個以上の画像は省略されています。
公開番号
2025163642
公報種別
公開特許公報(A)
公開日
2025-10-29
出願番号
2024075310
出願日
2024-05-07
発明の名称
制御バルブ及び関連する容器キット
出願人
立兆股ふん有限公司
代理人
個人
,
個人
主分類
F16K
7/16 20060101AFI20251022BHJP(機械要素または単位;機械または装置の効果的機能を生じ維持するための一般的手段)
要約
【課題】異なる状態の間で切り替え可能な制御バルブ及び関連する容器キットを提供する。
【解決手段】容器に適合した制御バルブが提供され、バルブ部材121と操作部材122とを含む。バルブ部材は、容器に取り付けられるように構成され、弾性変形可能である。操作部材は、第1位置と第2位置との間で枢軸的に切り替え可能である。操作部材が第1位置から第2位置へ操作された場合に、バルブ部材は操作部材によって弾性変形し、これにより、バルブ部材は容器から少なくとも部分的に分離される。さらに、関連する容器キット1が提供される。
【選択図】図3
特許請求の範囲
【請求項1】
容器に適合する制御バルブであって、
制御バルブは、
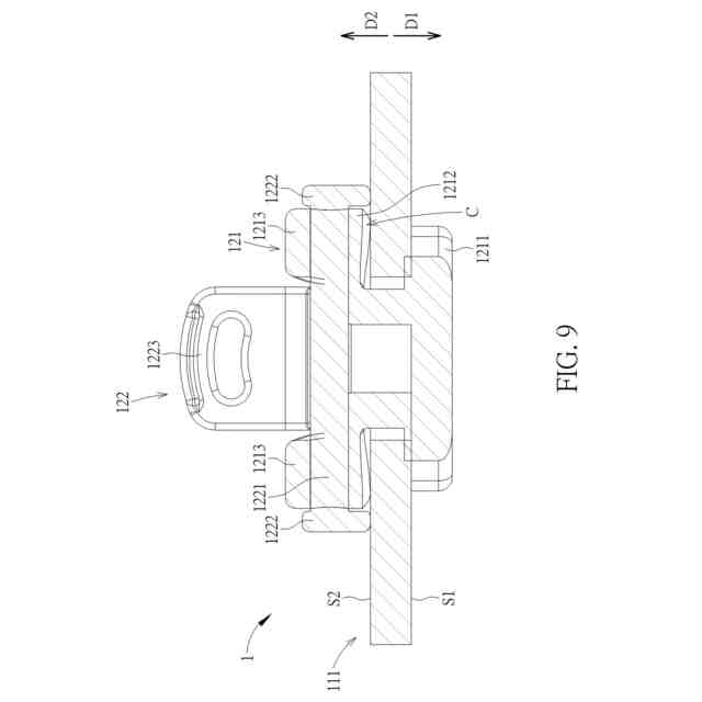
前記容器に取り付けられるように構成され、弾性変形可能であるバルブ部材と、
第1位置と第2位置との間で枢軸的に切り替え可能である操作部材であり、操作部材が前記第1位置から前記第2位置へ操作された場合に、前記バルブ部材は、操作部材によって弾性変形され、前記バルブ部材は、前記容器から少なくとも部分的に分離される、操作部材とを備えている制御バルブ。
続きを表示(約 1,200 文字)
【請求項2】
前記バルブ部材は、
前記容器の第1サイドに突き当たるように構成されている突き当て部分と、
前記突き当て部分に接続され、前記容器の第2サイドと前記操作部材とのうちの少なくとも1つによって弾性変形されるように構成されているカバー部分とを含む、請求項1記載の制御バルブ。
【請求項3】
前記操作部材が前記第1位置にある場合に、前記カバー部分は、前記操作部材によって弾性変形されず、
前記操作部材が前記第2位置にある場合に、前記カバー部分は、前記操作部材によって弾性変形され、前記容器の前記第2サイドから少なくとも部分的に分離される、請求項2記載の制御バルブ。
【請求項4】
前記カバー部分は、前記操作部材が前記第1位置にある場合に、前記容器の前記第2サイドに取り付けられ、前記容器の前記第2サイドによって弾性変形される、請求項2記載の制御バルブ。
【請求項5】
前記操作部材は、前記バルブ部材と前記容器とのうちの1つに枢軸的に配置されている、請求項1記載の制御バルブ。
【請求項6】
前記操作部材は、
前記バルブ部材と前記容器とのうちの前記1つに枢軸的に接続されている少なくとも1つの旋回部分と、
少なくとも1つの前記旋回部分から突出し、前記操作部材が前記第1位置から前記第2位置へ操作された場合に、前記バルブ部材と前記容器とのうちの別の1つに突き当たるように構成されている少なくとも1つの駆動部分とを含む、請求項5記載の制御バルブ。
【請求項7】
少なくとも1つの前記駆動部分はカム形状に形成され、
前記操作部材が前記第1位置にある場合に、少なくとも1つの前記駆動部分は、前記バルブ部材と前記容器とのうちの前記別の1つに突き当たらず、
前記操作部材が前記第2位置にある場合に、少なくとも1つの前記駆動部分は、前記バルブ部材と前記容器とのうちの前記別の1つに突き当たる、請求項6記載の制御バルブ。
【請求項8】
前記操作部材はさらに、操作部分を含み、
前記操作部分は、少なくとも1つの前記旋回部分に接続され、少なくとも1つの前記旋回部分を旋回させるように駆動するために操作されるように構成され、前記操作部材を前記第1位置と前記第2位置との間で切り替える、請求項6記載の制御バルブ。
【請求項9】
少なくとも1つの前記旋回部分は、前記バルブ部材のカバー部分と前記容器の弁座とのうちの1つに形成された貫通孔構造又は軸構造に、枢軸的に接続されるように構成されている、請求項6記載の制御バルブ。
【請求項10】
前記操作部材が前記第2位置にある場合に、前記バルブ部材と前記容器との間に、連絡チャンネルが形成され、前記連絡チャンネルは、前記連絡チャンネルを通る気流によって可聴音を発生させる、請求項1記載の制御バルブ。
(【請求項11】以降は省略されています)
発明の詳細な説明
【技術分野】
【0001】
本発明は、容器に適合する制御バルブ及び関連する容器キットに関し、さらに具体的には、操作部材を利用することによって異なる状態の間で切り替え可能な制御バルブ、及び関連する容器キットに関する。
続きを表示(約 1,200 文字)
【背景技術】
【0002】
真空化装置や加圧システムでは、真空化装置や加圧システム内の容器、例えばハードボックスやソフトバッグの、内圧と外圧の均衡を許容又は制限するために、バルブは重要な部品である。しかし、従来のバルブは、ユーザに都合のよいものではない(not user-friendly)。そのため、改良が求められている。
【発明の概要】
【0003】
本発明の目的は、前述した問題を解決するために、操作部材と、関連する容器キットとを利用して、異なる状態の間で切り替え可能な制御バルブを提供することである。
【0004】
上記目的を達成するために、本発明は、容器に適合する制御バルブを開示する。制御バルブは、容器に取り付けられるように構成され、弾性変形可能であるバルブ部材と;第1位置と第2位置との間で枢軸的に切り替え可能である操作部材であり、操作部材が第1位置から第2位置へ操作された場合に、バルブ部材は、操作部材によって弾性変形され、バルブ部材は、容器から少なくとも部分的に分離される、操作部材とを備えている。
【0005】
本発明の実施形態によれば、バルブ部材は、容器の第1サイドに突き当たるように構成されている突き当て部分と;突き当て部分に接続され、容器の第2サイドと操作部材とのうちの少なくとも1つによって弾性変形されるように構成されているカバー部分とを含む。
【0006】
本発明の実施形態によれば、操作部材が第1位置にある場合に、カバー部分は、操作部材によって弾性変形されず;操作部材が第2位置にある場合に、カバー部分は、操作部材によって弾性変形され、容器の第2サイドから少なくとも部分的に分離される。
【0007】
本発明の実施形態によれば、カバー部分は、操作部材が第1位置にある場合に、容器の第2サイドに取り付けられ、容器の第2サイドによって弾性変形される。
【0008】
本発明の実施形態によれば、操作部材は、バルブ部材と容器とのうちの1つに枢軸的に配置されている。
【0009】
本発明の実施形態によれば、操作部材は、バルブ部材と容器とのうちの1つに枢軸的に接続されている少なくとも1つの旋回部分と;少なくとも1つの旋回部分から突出し、操作部材が第1位置から第2位置へ操作された場合に、バルブ部材と容器とのうちの別の1つに突き当たるように構成されている少なくとも1つの駆動部分とを含む。
【0010】
本発明の実施形態によれば、少なくとも1つの駆動部分はカム形状に形成され;操作部材が第1位置にある場合に、少なくとも1つの駆動部分は、バルブ部材と容器とのうちの別の1つに突き当たらず;操作部材が第2位置にある場合に、少なくとも1つの駆動部分は、バルブ部材と容器とのうちの別の1つに突き当たる。
(【0011】以降は省略されています)
この特許をJ-PlatPat(特許庁公式サイト)で参照する
関連特許
立兆股ふん有限公司
圧力信号システム
4日前
立兆股ふん有限公司
制御バルブ及び関連する容器キット
26日前
立兆股ふん有限公司
一方向バルブ及び関連する容器キット
25日前
立兆股ふん有限公司
靴のための気候制御システム及び関連する靴底
1か月前
立兆股ふん有限公司
容器のために適合された真空キット及び関連する真空製品
3か月前
個人
留め具
1か月前
個人
鍋虫ねじ
3か月前
個人
回転伝達機構
3か月前
個人
ホース保持具
7か月前
個人
紛体用仕切弁
3か月前
個人
差動歯車用歯形
5か月前
個人
トーションバー
7か月前
個人
ジョイント
2か月前
個人
給排気装置
1か月前
個人
ナット
2か月前
個人
ボルトナットセット
8か月前
個人
地震の揺れ回避装置
4か月前
個人
ナット
19日前
株式会社不二工機
電磁弁
6か月前
株式会社不二工機
電磁弁
4か月前
個人
吐出量監視装置
2か月前
個人
ゲート弁バルブ
4日前
カヤバ株式会社
緩衝器
4か月前
カヤバ株式会社
ダンパ
5か月前
兼工業株式会社
バルブ
20日前
株式会社三協丸筒
枠体
8か月前
カヤバ株式会社
緩衝器
4か月前
カヤバ株式会社
ダンパ
5か月前
カヤバ株式会社
緩衝器
8か月前
柿沼金属精機株式会社
分岐管
3か月前
カヤバ株式会社
緩衝器
1か月前
日東電工株式会社
断熱材
7か月前
個人
固着具と固着具の固定方法
6か月前
株式会社ノーリツ
分配弁
6か月前
株式会社ノーリツ
分配弁
6か月前
株式会社ノーリツ
分配弁
6か月前
続きを見る
他の特許を見る