TOP
|
特許
|
意匠
|
商標
特許ウォッチ
Twitter
他の特許を見る
公開番号
2025164586
公報種別
公開特許公報(A)
公開日
2025-10-30
出願番号
2024068651
出願日
2024-04-19
発明の名称
色紙プリントシステム
出願人
太平紙業株式会社
代理人
個人
主分類
G06F
3/12 20060101AFI20251023BHJP(計算;計数)
要約
【課題】
個人情報の漏洩リスクを抑制しつつ、手軽・適時に、選んだ画像を色紙に印刷することを可能とする。
【解決手段】
通信ネットワークを介して接続される携帯情報端末と画像形成装置とを含む色紙プリントシステムであって、前記携帯情報端末が、前記携帯情報端末内に記憶される画像情報に関するユーザーの選択を受け付けるユーザー選択受付手段と、前記通信ネットワークを利用して、前記ユーザー選択受付手段によって選択される前記画像情報を前記画像形成装置に通知する画像情報通知手段と、を有し、前記画像形成装置が、前記画像情報通知手段によって通知される前記画像情報を取得する画像情報取得手段と、前記画像情報取得手段によって取得する前記画像情報を色紙に印刷する画像情報出力手段と、を有することを特徴とする。
【選択図】図2
特許請求の範囲
【請求項1】
通信ネットワークを介して接続される携帯情報端末と画像形成装置とを含む色紙プリントシステムであって、
前記携帯情報端末が、
前記携帯情報端末内に記憶される画像情報に関するユーザーの選択を受け付けるユーザー選択受付手段と、
前記通信ネットワークを利用して、前記ユーザー選択受付手段によって選択される前記画像情報を前記画像形成装置に通知する画像情報通知手段と、を有し、
前記画像形成装置が、
前記画像情報通知手段によって通知される前記画像情報を取得する画像情報取得手段と、
前記画像情報取得手段によって取得する前記画像情報を色紙に印刷する画像情報出力手段と、を有することを特徴とする色紙プリントシステム。
続きを表示(約 800 文字)
【請求項2】
前記ユーザーの選択が、前記画像情報の印刷条件に関する選択を含み、前記印刷条件が、印刷媒体の質・大きさ、印刷品質、画像情報の拡大率・縮小率を含み、
前記画像情報通知手段が、前記画像情報の印刷条件を通知し、
前記画像情報取得手段が、前記画像情報の印刷条件を取得し、
画像情報出力手段が、取得する前記画像情報の印刷条件に従って印刷することを特徴とする請求項1に記載の色紙プリントシステム。
【請求項3】
通信ネットワークを介して接続される携帯情報端末と画像形成装置とを含むシステムにおいて行われる色紙プリント方法であって、
前記携帯情報端末において、
ユーザー選択受付手段が、前記携帯情報端末内に記憶される画像情報に関するユーザーの選択を受け付けるステップと、
画像情報通知手段が、前記通信ネットワークを利用して、前記ユーザー選択受付手段によって選択される前記画像情報を前記画像形成装置に通知するステップと、を含み、
前記画像形成装置において、
画像情報取得手段が、前記画像情報通知手段によって通知される前記画像情報を取得するステップと、
画像情報出力手段が、前記画像情報取得手段によって取得する前記画像情報を色紙に印刷するステップと、を含む色紙プリント方法。
【請求項4】
前記ユーザーの選択が、前記画像情報の印刷条件に関する選択を含み、前記印刷条件が、印刷媒体の質・大きさ、印刷品質、画像情報の拡大率・縮小率を含み、
前記画像情報通知手段が、前記画像情報の印刷条件を通知し、
前記画像情報取得手段が、前記画像情報の印刷条件を取得し、
画像情報出力手段が、取得する前記画像情報の印刷条件に従って印刷することを特徴とする請求項3に記載の色紙プリント方法。
発明の詳細な説明
【技術分野】
【0001】
色紙に画像情報を印刷する技術に関する。
続きを表示(約 1,300 文字)
【背景技術】
【0002】
一般に、観光地を訪れた時や結婚式・卒業式などのイベントの時に、記念写真を撮ることが多く、最近では自分のスマートフォンでそのような写真を撮る場合も多い。
【0003】
一方、旅立ちの時や有名人に会う時など、色紙に寄せ書きをしたり、サインを書いてもらったりする場合があり、色紙には特別な機会を形として残すという使い方がある。
【発明の概要】
【発明が解決しようとする課題】
【0004】
ところで、スマートフォン(携帯情報端末)に保存される写真(画像情報)を何らかの印刷媒体に印刷しようとする場合、パソコンを利用する必要が有り面倒だったり、第三者の作業を介して印刷するのであれば、個人情報が漏洩するリスクが有ったりもする。
【0005】
そこで、本発明は、上記のような問題点に鑑み、個人情報の漏洩リスクを抑制しつつ、手軽・適時に、選んだ画像を色紙に印刷することが可能な色紙プリントシステムを提供することを目的とする。
【課題を解決するための手段】
【0006】
開示する色紙プリントシステムの一形態は、通信ネットワークを介して接続される携帯情報端末と画像形成装置とを含む色紙プリントシステムであって、前記携帯情報端末が、前記携帯情報端末内に記憶される画像情報に関するユーザーの選択を受け付けるユーザー選択受付手段と、前記通信ネットワークを利用して、前記ユーザー選択受付手段によって選択される前記画像情報を前記画像形成装置に通知する画像情報通知手段と、を有し、前記画像形成装置が、前記画像情報通知手段によって通知される前記画像情報を取得する画像情報取得手段と、前記画像情報取得手段によって取得する前記画像情報を色紙に印刷する画像情報出力手段と、を有することを特徴とする。
【発明の効果】
【0007】
開示する色紙プリントシステムは、個人情報の漏洩リスクを抑制しつつ、手軽・適時に、選んだ画像を色紙に印刷することを可能とする。
【図面の簡単な説明】
【0008】
本実施の形態に係る色紙プリントシステムの概要を説明する図である。
本実施の形態に係る色紙プリントシステムの機能ブロック図である。
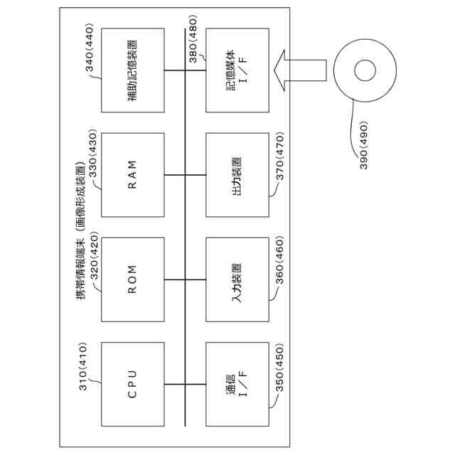
本実施の形態に係る色紙プリントシステムのハードウエア構成例を示す図である。
本実施の形態に係る色紙プリントシステムによる印刷処理の一例の流れを示すフローチャートである。
【発明を実施するための形態】
【0009】
図面を参照しながら、本発明を実施するための形態について説明する。
(本実施の形態に係る色紙プリントシステムの動作原理)
【0010】
図1で示すように、本実施の形態に係る色紙プリントシステム(以下、単に「本システム」という。)100は、スマートフォンの様な携帯情報端末110、画像形成装置120を含む。なお、携帯情報端末110と画像形成装置120とは、通信ネットワーク260を介して接続される。
(【0011】以降は省略されています)
この特許をJ-PlatPat(特許庁公式サイト)で参照する
関連特許
太平紙業株式会社
色紙プリントシステム
27日前
個人
詐欺保険
1か月前
個人
縁伊達ポイン
1か月前
個人
RFタグシート
1か月前
個人
5掛けポイント
19日前
個人
職業自動販売機
12日前
個人
ペルソナ認証方式
27日前
個人
QRコードの彩色
1か月前
個人
情報処理装置
22日前
個人
自動調理装置
29日前
個人
残土処理システム
1か月前
個人
農作物用途分配システム
1か月前
個人
知的財産出願支援システム
1か月前
個人
インターネットの利用構造
26日前
個人
タッチパネル操作指代替具
1か月前
個人
サービス情報提供システム
14日前
個人
スケジュール調整プログラム
1か月前
個人
携帯端末障害問合せシステム
1か月前
株式会社キーエンス
受発注システム
1か月前
株式会社キーエンス
受発注システム
1か月前
個人
エリアガイドナビAIシステム
27日前
株式会社ワコム
電子ペン
21日前
エッグス株式会社
情報処理装置
1か月前
個人
帳票自動生成型SaaSシステム
1か月前
株式会社ワコム
電子ペン
21日前
個人
音声・通知・再配達UX制御構造
1か月前
キヤノン株式会社
情報処理装置
6日前
キヤノン株式会社
印刷システム
1か月前
株式会社ケアコム
項目選択装置
22日前
株式会社ケアコム
項目選択装置
22日前
キヤノン株式会社
情報処理装置
20日前
キヤノン株式会社
画像認識装置
6日前
トヨタ自動車株式会社
通知装置
1か月前
キヤノン株式会社
情報処理装置
6日前
株式会社アジラ
行動推定システム
6日前
大同大學
スーパーアプリ構築方法
6日前
続きを見る
他の特許を見る