TOP
|
特許
|
意匠
|
商標
特許ウォッチ
Twitter
他の特許を見る
公開番号
2025164579
公報種別
公開特許公報(A)
公開日
2025-10-30
出願番号
2024068638
出願日
2024-04-19
発明の名称
エアシャワー
出願人
株式会社日立産機システム
代理人
青稜弁理士法人
主分類
F24F
7/06 20060101AFI20251023BHJP(加熱;レンジ;換気)
要約
【課題】エアシャワーの、使用者の退室後の浮遊した塵埃の沈静化までの時間を低減する。
【解決手段】エアシャワーにおいて、ファンモータ(モータ24)に運動量蓄積手段(フライホイール26)を設ける。
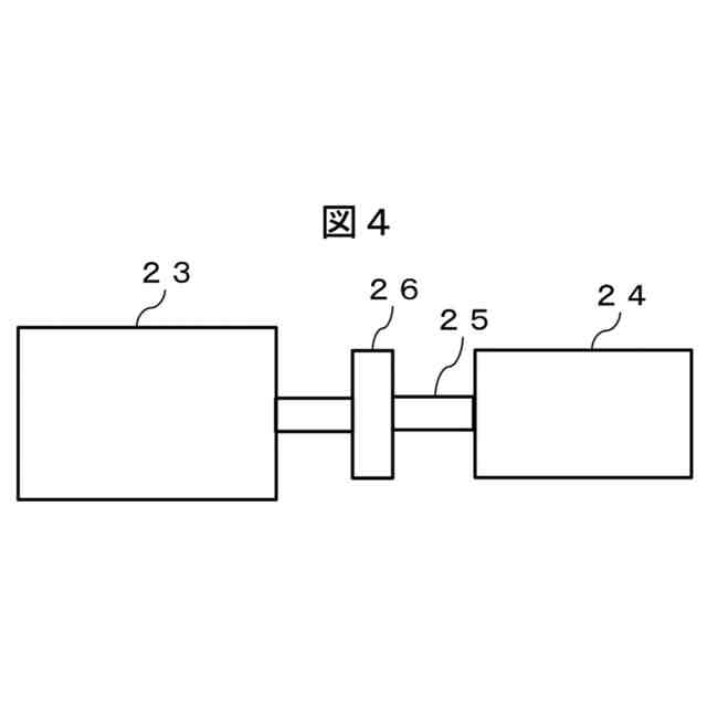
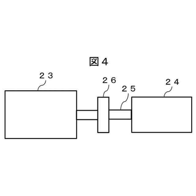
【選択図】図4
特許請求の範囲
【請求項1】
エアシャワーにおいて、ファンモータに運動量蓄積手段を有するエアシャワー。
続きを表示(約 470 文字)
【請求項2】
請求項1記載のエアシャワーにおいて、前記運動量蓄積手段はフライホイールであるエアシャワー。
【請求項3】
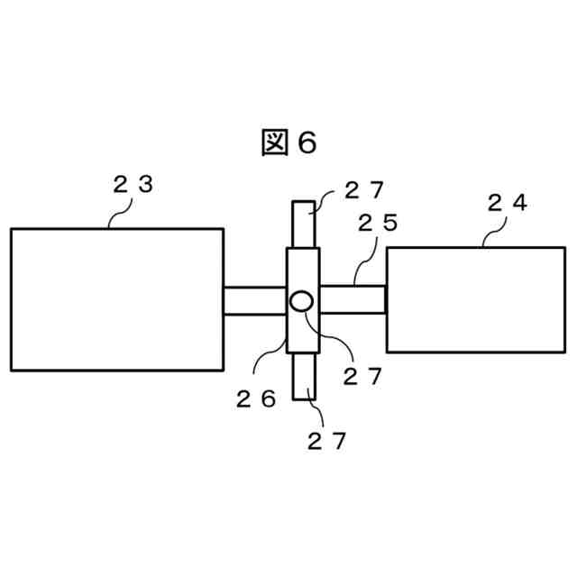
請求項2記載のエアシャワーにおいて、前記フライホイールは前記ファンモータのモータとファンを結ぶシャフトに配置されているエアシャワー。
【請求項4】
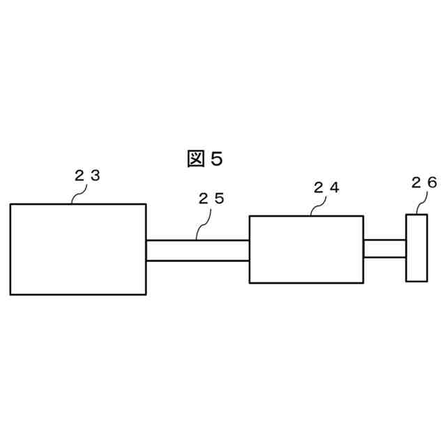
請求項2記載のエアシャワーにおいて、前記フライホイールは前記ファンモータのモータより外側に配置されているエアシャワー。
【請求項5】
請求項1記載のエアシャワーにおいて、前記運動量蓄積手段は錘であるエアシャワー。
【請求項6】
請求項5記載のエアシャワーにおいて、前記錘は前記ファンモータのモータとファンを結ぶシャフトに配置されているエアシャワー。
【請求項7】
請求項6記載のエアシャワーにおいて、前記錘は前記シャフトに対し等角度で配置されているエアシャワー。
【請求項8】
請求項7記載のエアシャワーにおいて、前記錘は前記シャフトに対し等重量で配置されているエアシャワー。
発明の詳細な説明
【技術分野】
【0001】
本発明はエアシャワーに関する。
続きを表示(約 1,000 文字)
【背景技術】
【0002】
エアシャワーは、例えばクリーンルーム及び作業室と、廊下及び前室等との間に設置され、クリーンルーム又は作業室への塵埃の流入・持込を防止するための装置として広く用いられている。
エアシャワーの一例は、特許文献1に開示される。
【先行技術文献】
【特許文献】
【0003】
特開2010-121830号公報
【発明の概要】
【発明が解決しようとする課題】
【0004】
使用者がエアシャワーを使用した後、エアシャワー内には使用者から除去した塵埃が浮遊するため、清浄室側の扉を開くと浮遊した塵埃が清浄室側に流出する恐れがある。この塵埃を沈静化する為に、使用者の退室後に、天井部から清浄空気を吹きおろしてエアシャワー内を清浄化する機構を備えたエアシャワーがある。当該技術の一例も、特許文献1に開示されている。
【0005】
しかしながら、特許文献1に開示の方式は、2つのファンの内、一方のファンを停止させることにより微風速を吹き出すものである。このため、沈静化までの時間を要するという課題、及び沈静化までの運転に際し電力を要するという課題がある。
【0006】
本発明は、かかる課題を解決するものであり、その目的は、使用者の退室後の浮遊した塵埃の沈静化までの時間を低減すると共に、当該対応に伴う電力の削減を行うことにある。
【課題を解決するための手段】
【0007】
エアシャワーにおいて、ファンモータに運動量蓄積手段を有するエアシャワー。
【発明の効果】
【0008】
本発明によれば、使用者の退室後の浮遊した塵埃の沈静化までの時間を低減すると共に、当該対応に伴う電力の削減を実現できる。
【0009】
本願発明の更なる手段および更なる効果は、以下明細書全文を通じ明らかとなる。
【図面の簡単な説明】
【0010】
本発明の一実施例でのエアシャワー装置の概略図である。
図1のA-A線での模式断面図である。
従来の構成の説明図である。
本発明の一実施例における説明図である。
本発明の他の実施例における説明図である。
本発明の他の実施例における説明図である。
【発明を実施するための形態】
(【0011】以降は省略されています)
この特許をJ-PlatPat(特許庁公式サイト)で参照する
関連特許
個人
集熱器具
12日前
株式会社トヨトミ
五徳
26日前
個人
UFO型空気清浄機
今日
株式会社コロナ
空調装置
2か月前
株式会社コロナ
空調装置
26日前
株式会社コロナ
空調装置
26日前
株式会社コロナ
空調装置
1か月前
個人
油ハネ防止カーテン
15日前
株式会社コロナ
加湿装置
2か月前
株式会社コロナ
空調装置
1か月前
株式会社コロナ
給湯装置
3か月前
株式会社コロナ
空調装置
3か月前
個人
太陽光パネル傾斜装置
1か月前
株式会社コロナ
空気調和機
2か月前
株式会社コロナ
空気調和機
3か月前
株式会社コロナ
風呂給湯機
2か月前
個人
住宅換気空調システム
3か月前
株式会社コロナ
温水暖房装置
26日前
ホーコス株式会社
排気フード
3か月前
個人
シンプルクーラー
1か月前
株式会社コロナ
直圧式給湯機
2か月前
株式会社コロナ
貯湯式給湯機
1か月前
株式会社コロナ
暖房システム
1か月前
株式会社コロナ
貯湯式給湯機
1か月前
ホーコス株式会社
換気扇取付枠
2か月前
三菱電機株式会社
換気扇
1か月前
三菱電機株式会社
換気扇
1か月前
三菱電機株式会社
換気扇
1か月前
株式会社コロナ
輻射式冷房装置
2か月前
株式会社パロマ
ガスコンロ
19日前
株式会社パロマ
ガスコンロ
19日前
個人
籾殻(そば殻)燃焼ストーブ
2か月前
株式会社ノーリツ
温水装置
1か月前
株式会社ツインバード
加熱調理器
2か月前
株式会社ノーリツ
温水装置
28日前
株式会社コロナ
開放式燃焼暖房機
3か月前
続きを見る
他の特許を見る