TOP
|
特許
|
意匠
|
商標
特許ウォッチ
Twitter
他の特許を見る
公開番号
2025164565
公報種別
公開特許公報(A)
公開日
2025-10-30
出願番号
2024068617
出願日
2024-04-19
発明の名称
露光装置、露光方法及び物品の製造方法
出願人
キヤノン株式会社
代理人
弁理士法人大塚国際特許事務所
主分類
G03F
7/20 20060101AFI20251023BHJP(写真;映画;光波以外の波を使用する類似技術;電子写真;ホログラフイ)
要約
【課題】投影光学系の結像性能の変動を補正するのに有利な技術を提供する。
【解決手段】原版を介して基板を露光する露光装置であって、前記原版のパターンを前記基板に投影する投影光学系と、前記投影光学系の少なくとも1つの光学素子に対して局所的に力を与えることによって前記光学素子を駆動する駆動部と、前記投影光学系の結像性能の変動を補正する補正部と、を有し、前記補正部は、前記駆動部が前記光学素子を駆動した際に生じる前記光学素子の変形に起因する前記結像性能の変動に関する変動情報と、前記駆動部による前記光学素子の駆動に関する駆動情報との関係を示す情報に基づいて、前記駆動部による前記光学素子の駆動に応じて前記結像性能の変動を補正する、ことを特徴とする露光装置を提供する。
【選択図】図1
特許請求の範囲
【請求項1】
原版を介して基板を露光する露光装置であって、
前記原版のパターンを前記基板に投影する投影光学系と、
前記投影光学系の少なくとも1つの光学素子に対して局所的に力を与えることによって前記光学素子を駆動する駆動部と、
前記投影光学系の結像性能の変動を補正する補正部と、
を有し、
前記補正部は、前記駆動部が前記光学素子を駆動した際に生じる前記光学素子の変形に起因する前記結像性能の変動に関する変動情報と、前記駆動部による前記光学素子の駆動に関する駆動情報との関係を示す情報に基づいて、前記駆動部による前記光学素子の駆動に応じて前記結像性能の変動を補正する、
ことを特徴とする露光装置。
続きを表示(約 1,100 文字)
【請求項2】
前記駆動部は、前記光学素子に対して、前記力として、圧縮力及び引張力のうちの少なくとも一方を与えることによって前記光学素子を駆動する、ことを特徴とする請求項1に記載の露光装置。
【請求項3】
前記駆動部は、前記光学素子を前記投影光学系の光軸に垂直な方向に駆動する、ことを特徴とする請求項1に記載の露光装置。
【請求項4】
前記変動情報と前記駆動情報との関係を示す前記情報を生成する生成部を更に有する、ことを特徴とする請求項1に記載の露光装置。
【請求項5】
前記生成部は、前記駆動部が前記光学素子を駆動した際に生じる前記光学素子の変形を計測して得られた計測値を取得し、取得した前記計測値を基に光学的なシミュレーションを行って前記結像性能の変動を求めることによって、前記変動情報と前記駆動情報との関係を示す前記情報を生成する、ことを特徴とする請求項4に記載の露光装置。
【請求項6】
前記生成部は、前記駆動部が前記光学素子を駆動した際に生じる前記光学素子の変形を構造解析シミュレーションを行って求め、求めた前記光学素子の変形を基に光学的なシミュレーションを行って前記結像性能の変動を求めることによって、前記変動情報と前記駆動情報との関係を示す前記情報を生成する、ことを特徴とする請求項4に記載の露光装置。
【請求項7】
前記生成部は、前記駆動部により前記光学素子を駆動しながら前記光学素子の変形に起因する前記結像性能の変動を計測して得られた計測値を取得することによって、前記変動情報と前記駆動情報との関係を示す前記情報を生成する、ことを特徴とする請求項4に記載の露光装置。
【請求項8】
前記変動情報と前記駆動情報との関係を示す前記情報を記憶する記憶部を更に有する、ことを特徴とする請求項1に記載の露光装置。
【請求項9】
前記変動情報は、前記投影光学系の収差の変動、結像位置の横ずれの変動、結像倍率の変動及びディストーションの変動のうちの少なくとも1つの情報を含む、ことを特徴とする請求項1に記載の露光装置。
【請求項10】
前記駆動情報は、前記駆動部が駆動する前記光学素子の駆動位置、前記光学素子を電圧によって駆動するために前記駆動部に与える電圧値又は電流値、前記光学素子を空圧によって駆動するために前記駆動部に与える圧力値、及び、前記駆動部が駆動する前記光学素子の加速度のうちの少なくとも1つの情報を含む、ことを特徴とする請求項1に記載の露光装置。
(【請求項11】以降は省略されています)
発明の詳細な説明
【技術分野】
【0001】
本発明は、露光装置、露光方法及び物品の製造方法に関する。
続きを表示(約 1,600 文字)
【背景技術】
【0002】
露光装置に関する技術として、投影光学系を構成するレンズなどの光学素子を駆動することで、製造誤差や露光熱の影響によって発生する収差や結像位置の変動を補正する技術が知られている。かかる技術においては、光学素子(を駆動する駆動機構)の駆動精度に起因して所望の駆動が得られない場合、駆動対象である光学素子自体が別の収差や結像位置の変動を発生させてしまう可能性がある。
【0003】
そこで、駆動対象である光学素子において所望の駆動が得られない場合に発生する収差や結像位置の変動を補正する技術が提案されている(特許文献1及び2参照)。特許文献1には、光学素子(レンズ)の駆動誤差(駆動機構の不完全さ)、及び、光学素子を傾斜させることで原理的に発生する結像位置のずれを補正する技術が開示されている。特許文献2には、光学素子の駆動誤差によって発生する収差を補正する技術が開示されている。
【先行技術文献】
【特許文献】
【0004】
特開平10-12515号公報
特許第5006762号公報
【発明の概要】
【発明が解決しようとする課題】
【0005】
近年では、露光装置の性能への要求が益々高くなり、光学素子の駆動誤差、光学素子を傾斜させることで原理的に発生する結像位置のずれや収差を補正するだけでは、露光装置に要求される性能を満たすことができなくなってきている。例えば、光学素子の駆動は光学素子の微小な変形を引き起こし、光学素子の光学面(レンズ面)が変形することで収差や結像位置を変動させてしまう。しかしながら、従来技術では、このような光学素子の駆動に起因する光学面の変形の影響を補正することができない。
【0006】
本発明は、このような従来技術の課題に鑑みてなされ、投影光学系の結像性能の変動を補正するのに有利な技術を提供することを例示的目的とする。
【課題を解決するための手段】
【0007】
上記目的を達成するために、本発明の一側面としての露光装置は、原版を介して基板を露光する露光装置であって、前記原版のパターンを前記基板に投影する投影光学系と、前記投影光学系の少なくとも1つの光学素子に対して局所的に力を与えることによって前記光学素子を駆動する駆動部と、前記投影光学系の結像性能の変動を補正する補正部と、を有し、前記補正部は、前記駆動部が前記光学素子を駆動した際に生じる前記光学素子の変形に起因する前記結像性能の変動に関する変動情報と、前記駆動部による前記光学素子の駆動に関する駆動情報との関係を示す情報に基づいて、前記駆動部による前記光学素子の駆動に応じて前記結像性能の変動を補正する、ことを特徴とする。
【0008】
本発明の更なる目的又はその他の側面は、以下、添付図面を参照して説明される実施形態によって明らかにされるであろう。
【発明の効果】
【0009】
本発明によれば、例えば、投影光学系の結像性能の変動を補正するのに有利な技術を提供することができる。
【図面の簡単な説明】
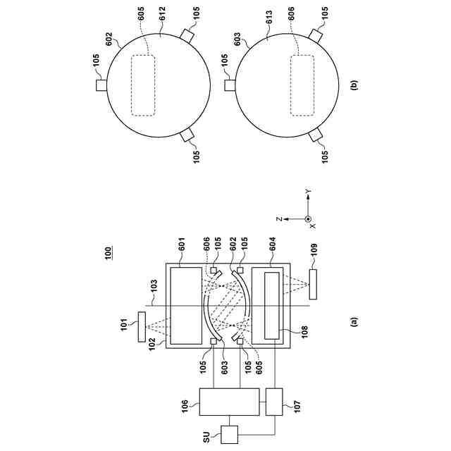
【0010】
本発明の第1実施形態における露光装置の構成を模式的に示す図である。
光学素子の光学面の変形の一例を模式的に示す図である。
変動情報と駆動情報との関係を示す情報の一例を示す図である。
露光装置における動作処理を説明するためのフローチャートである。
補正機構の具体的な構成を説明するための図である。
本発明の第2実施形態における露光装置の構成を説明するための図である。
【発明を実施するための形態】
(【0011】以降は省略されています)
この特許をJ-PlatPat(特許庁公式サイト)で参照する
関連特許
キヤノン株式会社
容器
13日前
キヤノン株式会社
容器
7日前
キヤノン株式会社
トナー
16日前
キヤノン株式会社
現像装置
20日前
キヤノン株式会社
撮像装置
今日
キヤノン株式会社
撮像装置
7日前
キヤノン株式会社
表示装置
7日前
キヤノン株式会社
測距装置
22日前
キヤノン株式会社
測距装置
1日前
キヤノン株式会社
撮像装置
13日前
キヤノン株式会社
撮像装置
13日前
キヤノン株式会社
記録装置
13日前
キヤノン株式会社
現像装置
27日前
キヤノン株式会社
現像容器
27日前
キヤノン株式会社
現像装置
27日前
キヤノン株式会社
現像容器
27日前
キヤノン株式会社
撮像装置
13日前
キヤノン株式会社
液体収容体
2日前
キヤノン株式会社
液体収容体
1日前
キヤノン株式会社
画像形成装置
10日前
キヤノン株式会社
電子写真装置
14日前
キヤノン株式会社
電子写真装置
20日前
キヤノン株式会社
画像形成装置
20日前
キヤノン株式会社
画像形成装置
14日前
キヤノン株式会社
画像形成装置
10日前
キヤノン株式会社
画像形成装置
1日前
キヤノン株式会社
画像形成装置
21日前
キヤノン株式会社
情報処理装置
今日
キヤノン株式会社
画像形成装置
23日前
キヤノン株式会社
画像形成装置
今日
キヤノン株式会社
画像形成装置
7日前
キヤノン株式会社
印刷システム
15日前
キヤノン株式会社
視線検出装置
1日前
キヤノン株式会社
画像形成装置
16日前
キヤノン株式会社
画像形成装置
21日前
キヤノン株式会社
画像形成装置
16日前
続きを見る
他の特許を見る