TOP
|
特許
|
意匠
|
商標
特許ウォッチ
Twitter
他の特許を見る
公開番号
2025164355
公報種別
公開特許公報(A)
公開日
2025-10-30
出願番号
2024068269
出願日
2024-04-19
発明の名称
連続式加熱炉における燃焼空気流量の制御方法、金属板の製造方法、及び連続式加熱炉
出願人
JFEスチール株式会社
代理人
個人
,
個人
,
個人
,
個人
主分類
F27B
9/40 20060101AFI20251023BHJP(炉,キルン,窯;レトルト)
要約
【課題】燃料ガス流量の大小に応じた、最適な燃焼空気流量の調整を可能とした、連続式加熱炉における燃焼空気流量の制御方法、金属板の製造方法、及び連続式加熱炉を提供する。
【解決手段】連続式加熱炉における燃焼空気流量の制御方法において、調整対象の燃焼帯4、5毎に、調整対象の燃焼帯4、5内の酸素濃度を測定するとともに、調整対象の燃焼帯4、5に設置されたバーナーB4、B5へ供給される燃料ガス流量及び燃焼空気流量を測定する測定工程(ステップS1)と、測定されたバーナーB4、B5への燃料ガス流量に基づいて、調整対象の燃焼帯4、5内の目標酸素濃度を設定する目標酸素濃度設定工程(ステップS2)と、測定された調整対象の燃焼帯4、5内の酸素濃度が、目標酸素濃度となるように、バーナーB4、B5へ供給される燃焼空気流量を調整する燃焼空気流量調整工程(ステップS3)と、を実施する。
【選択図】図5
特許請求の範囲
【請求項1】
被加熱体の搬送方向に沿って配置された複数の燃焼帯を備えた炉体と、前記複数の燃焼帯の各々に設置された複数のバーナーとを備えた連続式加熱炉における燃焼空気流量の制御方法であって、
前記複数の燃焼帯から選択した1又は2以上の燃焼帯である調整対象の燃焼帯に設置されたバーナーへ供給される燃焼空気流量の制御について、
前記調整対象の燃焼帯毎に、
該調整対象の燃焼帯内の酸素濃度を測定するとともに、前記調整対象の燃焼帯に設置されたバーナーへ供給される燃料ガス流量及び燃焼空気流量を測定する測定工程と、
前記測定工程で測定された前記調整対象の燃焼帯のバーナーへの燃料ガス流量に基づいて、前記調整対象の燃焼帯内の目標酸素濃度を設定する目標酸素濃度設定工程と、
前記測定工程で測定された前記調整対象の燃焼帯内の酸素濃度が、前記目標酸素濃度設定工程で設定された目標酸素濃度となるように、前記調整対象の燃焼帯のバーナーへ供給される燃焼空気流量を調整する燃焼空気流量調整工程と、
を実施することを特徴とする連続式加熱炉における燃焼空気流量の制御方法。
続きを表示(約 1,000 文字)
【請求項2】
前記複数の燃焼帯は、前記被加熱体の装入側から抽出側に向けて順に配置された、予熱帯、1又は2以上の加熱帯、及び1又は2以上の均熱帯で構成され、
前記調整対象の燃焼帯は、前加熱帯及び前記均熱帯のうちの少なくとも一つであることを特徴とする請求項1に記載の連続式加熱炉における燃焼空気流量の制御方法。
【請求項3】
前記測定工程で測定する前記調整対象の燃焼帯内の酸素濃度は、前記調整対象の燃焼帯内における複数箇所での測定値の平均値とすることを特徴とする請求項1又は2に記載の連続式加熱炉における燃焼空気流量の制御方法。
【請求項4】
前記測定工程での前記調整対象の燃焼帯内の酸素濃度の測定は、レーザー式ガス分析計を用いて実行されることを特徴とする請求項3に記載の連続式加熱炉における燃焼空気流量の制御方法。
【請求項5】
請求項1又は2に記載の連続式加熱炉における燃焼空気流量の制御方法で燃焼空気流量の制御が実行される連続式加熱炉によって前記被加熱体であるスラブを加熱する加熱工程を含むことを特徴とする金属板の製造方法。
【請求項6】
被加熱体の搬送方向に沿って配置された複数の燃焼帯を備えた炉体と、前記複数の燃焼帯の各々に設置された複数のバーナーとを備えた連続式加熱炉であって、
前記複数の燃焼帯から選択した1又は2以上の燃焼帯である調整対象の燃焼帯について、
前記調整対象の燃焼帯毎に、
前記調整対象の燃焼帯内の酸素濃度を測定する酸素濃度計と、
該調整対象の燃焼帯に設置されたバーナーへ供給される燃料ガス流量を測定する燃料ガス流量計と、
前記調整対象の燃焼帯に設置されたバーナーへ供給される燃焼空気流量を測定する燃焼空気流量計と、
前記燃料ガス流量計で測定された前記調整対象の燃焼帯のバーナーへの燃料ガス流量に基づいて、前記調整対象の燃焼帯内の目標酸素濃度を設定する目標酸素濃度設定部と、
前記酸素濃度計で測定された前記調整対象の燃焼帯内の酸素濃度が、前記目標酸素濃度設定部で設定された目標酸素濃度となるように、前記調整対象の燃焼帯のバーナーへ供給される燃焼空気流量を調整する燃焼空気流量調整部と、
を備えていることを特徴とする連続式加熱炉。
【請求項7】
前記酸素濃度計は、レーザー式ガス分析計で構成されることを特徴とする請求項6に記載の連続式加熱炉。
発明の詳細な説明
【技術分野】
【0001】
本発明は、連続式加熱炉における燃焼空気流量の制御方法、金属板の製造方法、及び連続式加熱炉に関する。
続きを表示(約 1,300 文字)
【背景技術】
【0002】
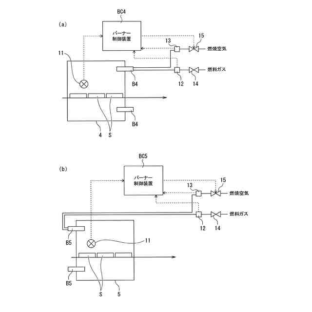
連続式加熱炉は、被加熱体の搬送方向に沿って複数のゾーンに区画されることで、複数の燃焼帯を有する。被加熱体は、各燃焼帯で順番に加熱されることで目標とする加熱温度に加熱される。各燃焼帯には、バーナーが設けられ、そのバーナーによって各燃焼帯での加熱処理が実行される。
【0003】
この連続式加熱炉では、各燃焼帯において、バーナーの最適な燃焼を維持するために、バーナーへの燃料ガス流量及び燃焼空気流量の比率を用いて、バーナーに供給する燃料ガス流量及び燃焼空気流量の制御を行う。
【0004】
この燃料ガス流量及び燃焼空気流量の制御において、バーナーで燃料ガスが完全燃焼するために必要な空気流量(理論空気量)に対し、実際の燃焼空気流量の比率(空気比)を低くすることは、熱効率の向上及び製造する金属板のスケール生成の抑制に対し有利に働く。また、燃料ガスである混合ガス(例えば、高炉ガスとコークス炉ガスとの混合ガス)の理論空気量の変動、及び被加熱体であるスラブの出し入れを行う装入扉及び抽出扉の開閉による炉内への侵入空気の影響を考慮すると、炉内の酸素濃度を各燃焼帯で測定して、各燃焼帯毎に酸素濃度の測定結果に基づき燃焼制御を行うことが好ましい。
【0005】
従来の燃焼空気流量の制御を行うものとして、例えば、特許文献1に示す連続式加熱炉の操業方法が知られている。
特許文献1に示す連続式加熱炉の操業方法は、連続式加熱炉における各燃焼帯のうちで燃焼排ガス流れの最下流に位置する燃焼帯の入口又はその近傍に局所的な加熱を行う燃焼バーナーを配置し、この燃焼バーナー近傍の燃焼排ガス中の酸素濃度が目標酸素濃度になるように燃焼バーナーに対する空気比を制御するものである。
【0006】
これにより、燃焼排ガス中に未燃ガスを残存させることなく加熱炉全体として低空気比を維持して操業することができる。
【先行技術文献】
【特許文献】
【0007】
特開2001-272028号公報
【発明の概要】
【発明が解決しようとする課題】
【0008】
しかしながら、この従来の特許文献1に示す連続式加熱炉の操業方法にあっては、以下の課題があった。
【0009】
即ち、燃料ガス流量の変化により、炉内の酸素濃度計とバーナーフレームとの間の距離や、外気の侵入量等が変化し、炉内における燃焼排ガス中の酸素濃度の測定状況は変化する。しかし、特許文献1に示す連続式加熱炉の操業方法では、燃料ガス流量によらず、目標酸素濃度を予め設定された同一の酸素濃度として燃焼空気流量の制御を行うため、燃焼バーナーに供給される燃料ガス流量によっては燃焼空気が不足して未燃ガス成分、すなわち一酸化炭素の濃度が上昇し、燃焼の安全性に難があるという課題があった。
【0010】
また、完全燃焼ができていないため、燃料原単位の観点からも未燃ガスの削減が課題であった。
(【0011】以降は省略されています)
この特許をJ-PlatPat(特許庁公式サイト)で参照する
関連特許
株式会社サンコー
浸漬ヒーター
1か月前
東京窯業株式会社
セッター
5か月前
中外炉工業株式会社
熱処理炉
1か月前
株式会社プロテリアル
スラグ除滓装置
10か月前
ノリタケ株式会社
加熱炉
1か月前
ノリタケ株式会社
冷却炉
1か月前
中外炉工業株式会社
処理炉
4か月前
株式会社クマガワ
加熱炉システム
16日前
ノリタケ株式会社
サヤ
4か月前
ノリタケ株式会社
熱処理装置
5か月前
有限会社ヨコタテクニカ
リフロー炉
3か月前
ノリタケ株式会社
連続加熱炉
7か月前
ノリタケ株式会社
熱処理装置
3か月前
株式会社不二越
搬送システム
5か月前
ノリタケ株式会社
熱処理装置
2か月前
中外炉工業株式会社
ダスト処理設備
8日前
ノリタケ株式会社
熱処理装置
3か月前
ファーネス重工株式会社
熱風循環炉
6か月前
ノリタケ株式会社
連続加熱炉
6か月前
ノリタケ株式会社
熱処理装置
3か月前
ノリタケ株式会社
熱処理装置
3か月前
ノリタケ株式会社
連続加熱炉
7か月前
成都大学
合金粉末酸化防止熱処理装置
7か月前
特殊電極株式会社
インゴット予熱装置
5か月前
DiV株式会社
赤外線加熱装置
5か月前
中外炉工業株式会社
連続処理炉
5か月前
三菱重工業株式会社
炉設備
7か月前
大同特殊鋼株式会社
溶解炉
11か月前
株式会社豊田中央研究所
加熱装置
2か月前
株式会社不二越
圧力制御システム
6か月前
大同特殊鋼株式会社
回転炉の異物検出装置
6か月前
三建産業株式会社
非鉄金属溶解方法
5か月前
ノリタケ株式会社
熱処理設備
2か月前
ノリタケ株式会社
焼成冷却システム
21日前
ノリタケ株式会社
熱処理容器
28日前
ノリタケ株式会社
熱処理設備
2か月前
続きを見る
他の特許を見る