TOP
|
特許
|
意匠
|
商標
特許ウォッチ
Twitter
他の特許を見る
公開番号
2025164307
公報種別
公開特許公報(A)
公開日
2025-10-30
出願番号
2024068158
出願日
2024-04-19
発明の名称
撮像システムとその制御方法及びプログラム
出願人
キヤノン株式会社
代理人
個人
主分類
H04N
23/667 20230101AFI20251023BHJP(電気通信技術)
要約
【課題】絞りの制御主体を切り替え可能な撮像システムにおいて、動画記録の開始指示から動画記録の開始までのタイムラグを短縮する。
【解決手段】絞り202をユーザ操作に応じた第1の絞り値に設定する絞り駆動リング208と、絞り202の駆動制御を行うレンズ制御部205と、測光値に基づき絞り202を第2の絞り値に設定し、レンズ制御部205を介して絞り202の駆動を制御するカメラ制御部104とを有する撮像システム1において、カメラ制御部104は、カメラ制御部104が絞り202をレンズ制御部205を介して第2の絞り値に駆動制御する自動絞りモードからレンズ制御部205が絞り202を第1の絞り値に駆動制御する手動絞りモードへ替える切り替える際に、絞り202を第1の絞り値に駆動制御した後に、絞り202の制御主体をレンズ制御部205に切り替える。
【選択図】図7
特許請求の範囲
【請求項1】
レンズ装置と撮像装置を有する撮像システムであって、
前記レンズ装置は、
絞りと、
前記絞りをユーザ操作に応じた第1の絞り値に設定する第1の設定手段と、
前記絞りの駆動制御を行う第1の制御手段と、を備え、
前記撮像装置は、
前記絞りを測光値に基づく第2の絞り値に設定する第2の設定手段と、
前記第1の制御手段を介して前記絞りの駆動を制御する第2の制御手段と、
前記第1の制御手段が前記絞りを前記第1の絞り値に駆動制御する第1のモードと、前記第2の制御手段が前記絞りを前記第2の絞り値に駆動制御する第2のモードと、を切り替える切り替え手段と、を備え、
前記第2のモードから前記第1のモードへ切り替える際に、前記第2の制御手段が前記第1の制御手段を介して前記絞りを前記第1の絞り値に駆動制御した後、前記切り替え手段が前記絞りの制御主体を前記第2の制御手段から前記第1の制御手段に切り替えることを特徴とする撮像システム。
続きを表示(約 1,800 文字)
【請求項2】
前記レンズ装置は前記絞りの実効絞り値を検出する検出手段を有し、
前記第2の制御手段は、前記第2のモードから前記第1のモードへ切り替える際に、実効絞り値と前記第1の絞り値との乖離量が所定の段数以上の場合、前記絞りの駆動を制御可能な最大の駆動速度で実行することを特徴とする請求項1に記載の撮像システム。
【請求項3】
前記レンズ装置は、前記乖離量に対して前記絞りの駆動速度を規定したテーブルを記憶した記憶手段を有し、
前記第2の制御手段は、前記第2のモードから前記第1のモードへ切り替える際に、前記乖離量が前記所定の段数未満の場合、前記テーブルにおいて前記乖離量に対して規定されている駆動速度で前記絞りの駆動を制御することを特徴とする請求項2に記載の撮像システム。
【請求項4】
前記第1のモードでは、前記第1の制御手段は、前記テーブルにおいて前記乖離量に対して規定されている前記絞りの駆動速度で前記絞りの駆動制御を行うことを特徴とする請求項3に記載の撮像システム。
【請求項5】
前記撮像装置は、動画撮影モードでは前記絞りの制御主体を前記第2の制御手段に決定し、静止画撮影モードでは前記絞りの制御主体を前記第2の制御手段に決定する決定手段を備えることを特徴とする請求項1乃至4のいずれか1項に記載の撮像システム。
【請求項6】
前記撮像装置は、動画撮影モードでは前記絞りの制御主体を前記第2の制御手段に決定し、静止画撮影モードにおいて、焦点検出とフリッカー検出のいずれも行っていない場合に前記絞りの制御主体を前記第1の制御手段に決定し、前記焦点検出または前記フリッカー検出を行う場合に前記絞りの制御主体を前記第2の制御手段に決定する決定手段を備えることを特徴とする請求項1乃至4のいずれか1項に記載の撮像システム。
【請求項7】
前記第1の設定手段は、前記絞り制御主体を前記第1の制御手段として前記絞りに前記第1の絞り値を設定する第1のポジションと、前記絞りの制御主体を前記第2の制御手段に設定する第2のポジションとで切り替え可能であることを特徴とする請求項1乃至4のいずれか1項に記載の撮像システム。
【請求項8】
第1の制御手段を備えるレンズ装置と、
第2の制御手段を備える撮像装置と、を有する撮像システムの制御方法であって、
ライブビュー動作中の前記撮像システムの状態を検出するステップと、
前記レンズ装置が備える絞りをユーザ操作に応じて設定される第1の絞り値となるように前記第1の制御手段により駆動制御する第1のモードと、前記絞りを測光値に基づいて設定される第2の絞り値となるように前記第1の制御手段を介して前記第2の制御手段により駆動制御する第2のモードのどちらに設定するかを前記検出された状態に応じて判定するステップと、
前記判定によって前記第2のモードから前記第1のモードに切り替える際に、前記第2の制御手段が前記第1の制御手段を介して前記絞りを前記第1の絞り値に駆動した後、前記絞りの制御主体を前記第2の制御手段から前記第1の制御手段に切り替えるステップと、を有することを特徴とする撮像システムの制御方法。
【請求項9】
コンピュータに請求項8に記載の撮像システムの制御方法の各ステップを実行させるプログラム。
【請求項10】
撮像システムであって、
ユーザ操作に応じて設定される第1の絞り値となるように絞りの駆動を制御する第1の制御手段と、
被写体に対する測光値に基づいて設定される第2の絞り値となるように前記第1の制御手段を介して前記絞りの駆動を制御する第2の制御手段と、
前記第1の制御手段により前記絞りの駆動を制御する第1のモード、または、前記第2の制御手段により前記絞りの駆動を制御する第2のモード、に設定する設定手段と、
前記第1のモードと前記第2のモードのどちらに設定するかを前記撮像システムの状態に応じて判定する判定手段と、を備え、
前記判定によって前記第2のモードから前記第1のモードに切り替える際に、前記第2の制御手段が前記第1の制御手段を介して前記絞りを前記第1の絞り値に駆動した後、前記設定手段が前記絞りの制御主体を前記第2の制御手段から前記第1の制御手段に切り替えることを特徴とする撮像システム。
発明の詳細な説明
【技術分野】
【0001】
本発明は、レンズ装置に設けられた絞りの絞り値をレンズ装置と撮像装置のそれぞれで選択的に制御することができる撮像システムとその制御方法及びプログラムに関する。
続きを表示(約 1,800 文字)
【背景技術】
【0002】
撮像素子により撮影を行う撮像装置として、単発的に被写体を撮影する静止画撮影モードと、被写体を連続するフレーム画像で構成される動画(映像)として撮影する動画撮影モードを備えるものが普及している。また、撮像装置に着脱可能なレンズ装置(交換レンズ)に装備される絞りの絞り値を、レンズ装置側と撮像装置側とで選択的に制御することができる撮像システムが知られている(例えば特許文献1参照)。
【先行技術文献】
【特許文献】
【0003】
特開2021-76807号公報
【発明の概要】
【発明が解決しようとする課題】
【0004】
動画撮影モードでは、シーンの移り変わる過程を記録するために、レンズ装置側でのユーザによる絞り値設定の変更に連動して直ちに絞りの駆動制御が実行されることが望ましい。一方、単発的に画像を記録する静止画撮影モードでは、撮像装置側の絞り駆動指示に基づいてレンズ装置が絞りの駆動制御が実行されることが望ましい。
【0005】
ここで、ユーザは、静止画撮影モードに設定されている状態で動画記録ボタンを押下して動画記録を開始することがある。この場合、静止画撮影モードから動画撮影モードへ移行する必要があり、その際に絞りの制御主体を撮像装置からレンズ装置へ切り替えるために撮像装置とレンズ装置との間で通信を行う必要が生じる。その結果、動画記録ボタンの押下から動画記録開始までにタイムラグが生じる。
【0006】
本発明は、絞りの制御主体を切り替え可能な撮像システムにおいて、動画記録の開始指示から動画記録の開始までのタイムラグを短縮することができる撮像システムを提供することを目的とする。
【課題を解決するための手段】
【0007】
本発明に係る撮像システムは、レンズ装置と撮像装置を有する撮像システムであって、前記レンズ装置は、絞りと、前記絞りをユーザ操作に応じた第1の絞り値に設定する第1の設定手段と、前記絞りの駆動制御を行う第1の制御手段と、を備え、前記撮像装置は、前記絞りを測光値に基づく第2の絞り値に設定する第2の設定手段と、前記第1の制御手段を介して前記絞りの駆動を制御する第2の制御手段と、前記第1の制御手段が前記絞りを前記第1の絞り値に駆動制御する第1のモードと、前記第2の制御手段が前記絞りを前記第2の絞り値に駆動制御する第2のモードと、を切り替える切り替え手段と、を備え、前記第2のモードから前記第1のモードへ切り替える際に、前記第2の制御手段が前記第1の制御手段を介して前記絞りを前記第1の絞り値に駆動制御した後、前記切り替え手段が前記絞りの制御主体を前記第2の制御手段から前記第1の制御手段に切り替えることを特徴とする。
【発明の効果】
【0008】
本発明によれば、絞りの制御主体を切り替え可能な撮像システムにおいて、動画記録の開始指示から記録開始までのタイムラグを短縮することが可能になる。
【図面の簡単な説明】
【0009】
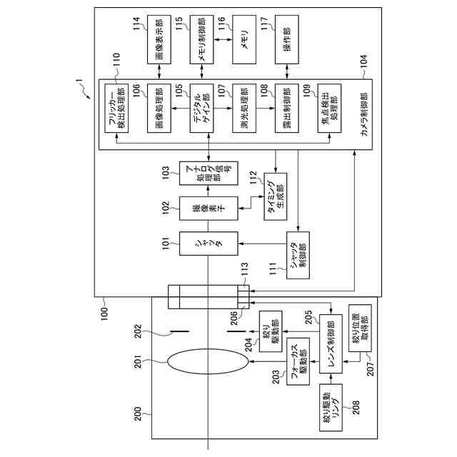
実施形態に係る撮像システムの概略構成を示すブロック図である。
撮像システムを構成するレンズユニットの外観斜視図である。
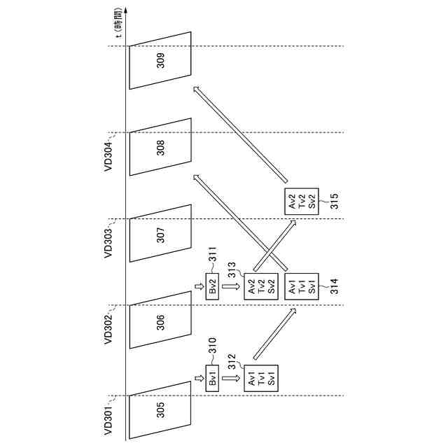
撮像システムのライブビュー動作を説明する模式図である。
撮像システムのライブビュー動作中に実行される絞り制御処理のフローチャートである。
手動絞りモードでの絞り駆動速度テーブルを図5に示す。
S404の絞り制御主体判定処理のフローチャートである。
絞り制御主体をカメラ制御部からレンズ制御部へ切り替える処理の実施例に係るタイミングチャートである。
絞り制御主体をカメラ制御部からレンズ制御部へ切り替える処理の参考例に係るタイミングチャートである。
【発明を実施するための形態】
【0010】
以下、本発明の実施形態について、添付図面を参照して詳細に説明する。図1は実施形態に係る撮像システム1の概略構成を示すブロック図である。撮像システム1は、撮像装置100(以下「カメラ100」と記す)とレンズ装置200(以下「レンズユニット200」と記す)を有する。
(【0011】以降は省略されています)
この特許をJ-PlatPat(特許庁公式サイト)で参照する
関連特許
キヤノン株式会社
容器
2日前
キヤノン株式会社
容器
8日前
キヤノン株式会社
トナー
11日前
キヤノン株式会社
表示装置
2日前
キヤノン株式会社
現像装置
15日前
キヤノン株式会社
撮像装置
8日前
キヤノン株式会社
撮像装置
8日前
キヤノン株式会社
撮像装置
8日前
キヤノン株式会社
記録装置
8日前
キヤノン株式会社
測距装置
17日前
キヤノン株式会社
現像装置
22日前
キヤノン株式会社
現像装置
22日前
キヤノン株式会社
現像容器
22日前
キヤノン株式会社
撮影装置
22日前
キヤノン株式会社
記録装置
22日前
キヤノン株式会社
現像容器
22日前
キヤノン株式会社
撮像装置
2日前
キヤノン株式会社
定着装置
23日前
キヤノン株式会社
画像形成装置
16日前
キヤノン株式会社
画像形成装置
22日前
キヤノン株式会社
画像形成装置
15日前
キヤノン株式会社
電子写真装置
9日前
キヤノン株式会社
画像処理装置
22日前
キヤノン株式会社
カートリッジ
22日前
キヤノン株式会社
画像形成装置
9日前
キヤノン株式会社
画像形成装置
16日前
キヤノン株式会社
画像形成装置
18日前
キヤノン株式会社
画像形成装置
16日前
キヤノン株式会社
画像形成装置
4日前
キヤノン株式会社
情報処理装置
4日前
キヤノン株式会社
画像形成装置
22日前
キヤノン株式会社
画像形成装置
4日前
キヤノン株式会社
画像形成装置
23日前
キヤノン株式会社
画像形成装置
5日前
キヤノン株式会社
画像形成装置
5日前
キヤノン株式会社
画像形成装置
2日前
続きを見る
他の特許を見る