TOP
|
特許
|
意匠
|
商標
特許ウォッチ
Twitter
他の特許を見る
10個以上の画像は省略されています。
公開番号
2025164101
公報種別
公開特許公報(A)
公開日
2025-10-30
出願番号
2024067870
出願日
2024-04-19
発明の名称
開栓機能部の構造、オープナー、及び、ハンドル
出願人
アサヒビール株式会社
,
株式会社青野工業
代理人
個人
主分類
B65D
17/52 20060101AFI20251023BHJP(運搬;包装;貯蔵;薄板状または線条材料の取扱い)
要約
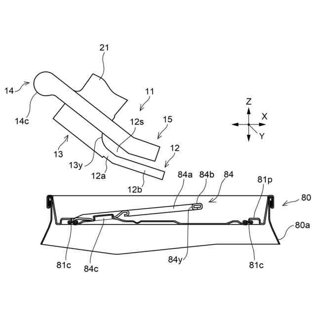
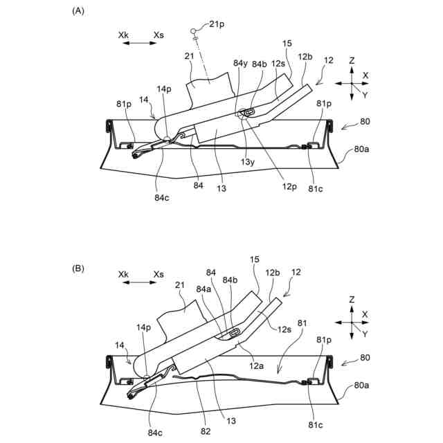
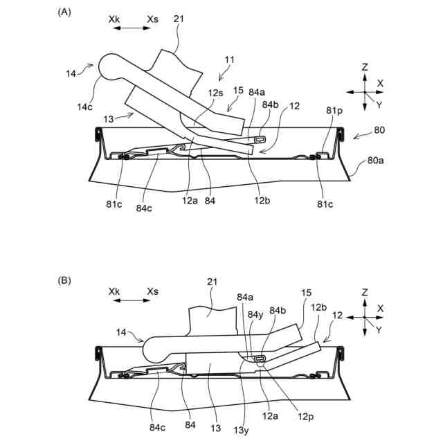
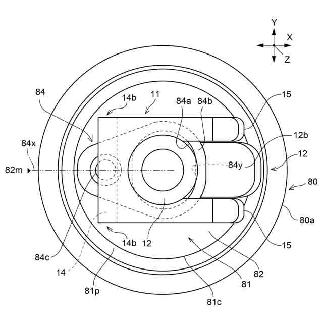
【課題】 フルオープンタイプの缶蓋を開けるために用いられるオープナーについて、新規な技術を提案する。
【解決手段】缶蓋の開栓に用いられる開栓機能部の構造であって、前記缶蓋のプルタブの指掛部に差込まれる係止爪部と、前記係止爪部を前記指掛部に貫挿させた状態で前記指掛部に収められる係止軸部と、前記係止軸部を挟んで前記係止爪部と反対側に配置される支点部と、を有する、開栓機能部の構造とする。
【選択図】図1
特許請求の範囲
【請求項1】
缶蓋の開栓に用いられる開栓機能部の構造であって、
前記缶蓋のプルタブの指掛部に差込まれる係止爪部と、
前記係止爪部を前記指掛部に貫挿させた状態で前記指掛部に収められる係止軸部と、
前記係止軸部を挟んで前記係止爪部と反対側に配置される支点部と、を有する、
開栓機能部の構造。
続きを表示(約 620 文字)
【請求項2】
前記係止軸部は、前記指掛部に対し角度決めされるように構成される、
ことを特徴とする請求項1に記載の開栓機能部の構造。
【請求項3】
前記係止爪部と対向するように配置され、
前記係止爪部との間に前記指掛部が差込まれる隙間を形成する外れ防止部を備える、
ことを特徴とする請求項2に記載の開栓機能部の構造。
【請求項4】
請求項1乃至請求項3のいずれか一項に記載の開栓機能部の構造と、
先端に前記開栓機能部が固定される柄部と、
を有するオープナー。
【請求項5】
前記係止爪部が前記指掛部に差込まれる方向と逆方向に前記柄部を傾倒させることで、
前記缶蓋を開栓可能とする、請求項4に記載のオープナー。
【請求項6】
請求項1乃至請求項3のいずれか一項に記載の開栓機能部の構造を備えるハンドルであって、
前記缶容器の上縁に係合する上係合部と、前記缶容器の下縁に係合する下係合部と、手で掴むための掴み部と、
を有し、
前記開栓機能部により開栓後、前記缶容器に取り付けて全体としてジョッキの態様として用いられることを可能とする、ハンドル。
【請求項7】
前記係止爪部が前記指掛部に差込まれる方向と逆方向に柄部を傾倒させることで、
缶蓋を開栓可能とする、請求項6に記載のハンドル。
発明の詳細な説明
【技術分野】
【0001】
本発明は、フルオープンエンド缶の缶蓋の開栓に用いられる開栓機能部の構造、及び、それを備えるオープナー、及び、ハンドルに関する。
続きを表示(約 1,000 文字)
【背景技術】
【0002】
従来、例えば特許文献1に開示されるように、プルタブが取り付けられた缶蓋の全体が外れるフルオープンタイプの缶容器が知られており、この缶蓋を容易に開けるためのオープナー(缶開け具)も知られている。
【0003】
この種のオープナーは、柄部の先端部分に設けた係止爪をプルタブに引っかけるとともに、柄部を倒していくことで缶蓋を徐々に引き起こすようにしてスコア線を破断させ、最終的に缶蓋を缶本体から分離して取り外すように使用される。
【先行技術文献】
【特許文献】
【0004】
特許第4657373号公報
【発明の概要】
【発明が解決しようとする課題】
【0005】
特許文献1にも開示されるように、フルオープンタイプの缶容器は、肉や魚等の人間用の食品や、犬や猫等のペット用のえさ等において用いられるほか、ビール等の飲料が充填される缶容器としても幅広く使用され、フルオープンタイプの缶容器に触れる消費者の幅も拡大し続けている。
【0006】
したがって、フルオープンタイプの缶蓋を開けるために用いられるオープナーについても、あらゆる消費者にとってより扱いやすくするために、さらなる改善が求められるものである。
【0007】
また、オープナーを使った場合において、開栓不良を防ぐことで、缶蓋をより確実に開けることができるようにするために、さらなる改善が求められるものである。
【0008】
本発明は以上の問題に鑑み、フルオープンタイプの缶蓋を開けるために用いられるオープナーについて、新規な技術を提案するものである。
【課題を解決するための手段】
【0009】
本発明の解決しようとする課題は以上の如くであり、次にこの課題を解決するための手段を説明する。
【0010】
本発明の一態様によれば、缶蓋の開栓に用いられる開栓機能部の構造であって、前記缶蓋のプルタブの指掛部に差込まれる係止爪部と、前記係止爪部を前記指掛部に貫挿させた状態で前記指掛部に収められる係止軸部と、前記係止軸部を挟んで前記係止爪部と反対側に配置される支点部と、を有する、開栓機能部の構造とする。
(【0011】以降は省略されています)
この特許をJ-PlatPat(特許庁公式サイト)で参照する
関連特許
アサヒビール株式会社
発酵アルコール飲料
4日前
アサヒビール株式会社
発酵アルコール飲料
4日前
アサヒビール株式会社
開栓機能部の構造、オープナー、及び、ハンドル
1か月前
個人
束ね具
19日前
個人
収容箱
4か月前
個人
コンベア
6か月前
個人
容器
10か月前
個人
段ボール箱
8か月前
個人
ゴミ収集器
8か月前
個人
段ボール箱
8か月前
個人
テープ引出機
19日前
個人
土嚢運搬器具
9か月前
個人
角筒状構造体
6か月前
個人
楽ちんハンド
6か月前
個人
バンド
3か月前
個人
宅配システム
8か月前
個人
棒状体収容容器
23日前
個人
お薬の締結装置
7か月前
個人
包装容器
2か月前
個人
コード類収納具
9か月前
個人
閉塞装置
11か月前
個人
廃棄物収容容器
3か月前
個人
蓋閉止構造
5か月前
個人
把手付米袋
5か月前
個人
蓋閉止構造
5か月前
個人
積み重ね用補助具
3か月前
株式会社コロナ
梱包材
6か月前
株式会社和気
包装用箱
1か月前
個人
ゴミ処理機
10か月前
株式会社バンダイ
物品
1か月前
個人
貯蔵サイロ
8か月前
株式会社和気
包装用箱
10か月前
個人
介護用コップ
3か月前
株式会社ナベル
検査装置
1か月前
三甲株式会社
蓋体
10か月前
三甲株式会社
容器
7か月前
続きを見る
他の特許を見る