TOP
|
特許
|
意匠
|
商標
特許ウォッチ
Twitter
他の特許を見る
公開番号
2025163992
公報種別
公開特許公報(A)
公開日
2025-10-30
出願番号
2024067686
出願日
2024-04-18
発明の名称
無線デバイス及びプログラム
出願人
KDDI株式会社
代理人
弁理士法人大塚国際特許事務所
主分類
H04W
12/106 20210101AFI20251023BHJP(電気通信技術)
要約
【課題】他の装置との通信を行うことなく、移動通信ネットワークにアクセスする情報を含むプロファイルを有効化する。
【解決手段】無線デバイスは、複数のプロファイルと、第1公開鍵を含む1つ以上の公開鍵と、を格納する様に構成された集積回路であって、プロファイルの状態を変更するコマンドを受信した場合、1つ以上の公開鍵のうちの1つの公開鍵で検証可能な署名情報を受信することをコマンドに従う処理を実行する条件の1つとする、集積回路と、第1公開鍵に対応する第1秘密鍵を格納する格納手段と、所定条件が満たされた場合、無効状態である第1プロファイルを有効状態に変更する第1コマンドを、第1秘密鍵で生成した第1署名情報と共に前記集積回路に送信する制御手段と、を備えている。
【選択図】図4
特許請求の範囲
【請求項1】
それぞれが移動通信ネットワークにアクセスするための情報を含む複数のプロファイルと、第1公開鍵を含む1つ以上の公開鍵と、を格納する様に構成された集積回路であって、前記複数のプロファイルの状態を有効状態と無効状態との間で変更するコマンドを受信した場合、前記1つ以上の公開鍵のうちの1つの公開鍵で検証可能な署名情報を当該コマンドと共に受信することを前記コマンドに従う処理を実行する条件の1つとする、前記集積回路と、
前記有効状態に設定されたプロファイルに含まれる情報に従い移動通信ネットワークにアクセスして通信を行う通信手段と、
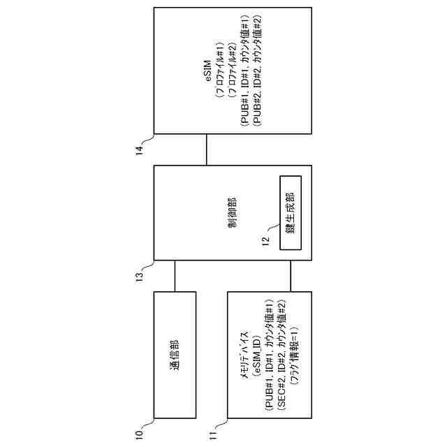
前記第1公開鍵に対応する第1秘密鍵を格納する格納手段と、
所定条件が満たされた場合、前記複数のプロファイルのうちの前記無効状態である第1プロファイルを前記有効状態に変更する第1コマンドを、前記第1秘密鍵で生成した第1署名情報と共に前記集積回路に送信する制御手段と、
を備えている、無線デバイス。
続きを表示(約 1,000 文字)
【請求項2】
前記集積回路は、前記1つ以上の公開鍵の鍵識別子をさらに格納し、
前記制御手段は、前記第1公開鍵の鍵識別子を含む処理情報から前記第1秘密鍵を用いて前記第1署名情報を生成し、前記処理情報及び前記第1署名情報を含む前記第1コマンドを前記集積回路に送信する、請求項1に記載の無線デバイス。
【請求項3】
前記所定条件は、前記複数のプロファイルのうちの前記有効状態である第2プロファイルに含まれる情報に従い前記通信手段が第1移動通信ネットワークに接続している際に、前記第1移動通信ネットワークの障害を前記通信手段が検出した場合に満たされる、請求項1に記載の無線デバイス。
【請求項4】
前記第1プロファイルは、前記第1移動通信ネットワークとは異なる第2移動通信ネットワークに接続するための情報を含む、請求項3に記載の無線デバイス。
【請求項5】
前記所定条件は、前記第1プロファイルに含まれる情報に従い前記通信手段が接続する第2移動通信ネットワークを介して行う通信が要求された場合に満たされる、請求項1に記載の無線デバイス。
【請求項6】
前記所定条件は、前記第1プロファイルを有効状態に変更することを示すユーザ操作が行われた場合に満たされる、請求項1に記載の無線デバイス。
【請求項7】
前記格納手段は、前記第1公開鍵をさらに格納し、
前記制御手段は、初期化処理がトリガされることに応じて、前記格納手段に格納された前記第1公開鍵を前記集積回路に送信して格納させる、請求項1に記載の無線デバイス。
【請求項8】
前記制御手段は、初期化処理がトリガされることに応じて、前記第1秘密鍵及び前記第1公開鍵を生成し、前記第1秘密鍵を前記格納手段に格納し、前記第1公開鍵を前記集積回路に送信して格納させる、請求項1に記載の無線デバイス。
【請求項9】
前記格納手段は、第2公開鍵をさらに格納し、
前記制御手段は、前記初期化処理がトリガされることに応じて、前記格納手段に格納された前記第2公開鍵を前記集積回路に送信して格納させる、請求項8に記載の無線デバイス。
【請求項10】
前記無線デバイスは、前記第2公開鍵に対応する第2秘密鍵を有さない、請求項9に記載の無線デバイス。
(【請求項11】以降は省略されています)
発明の詳細な説明
【技術分野】
【0001】
本開示は、IоT(インターネット・オブ・シングス)用の無線デバイスに実装される組み込み型加入者識別モジュール(eSIM)の制御技術に関する。
続きを表示(約 2,400 文字)
【背景技術】
【0002】
非特許文献1は、eSIMのIоTアーキテクチャを開示している。なお、本明細書においては、用語"eSIM"と用語"組み込み型汎用集積回路カード(eUICC)"とを交換可能に使用する。スマートフォンなどの人が操作することを前提した無線デバイスとは異なり、IоT用の無線デバイス(以下、IоTデバイスと表記する)には、通常、タッチパネル等のユーザインタフェースが設けられない。このため、非特許文献1は、eIM(eSIM IoT遠隔マネージャ)と呼ばれる装置が、移動通信ネットワークを介してIoTデバイスのeSIMに対する遠隔制御を行うことを開示している。
【0003】
また、非特許文献1によると、eSIMには、複数のプロファイルが格納されるが、同時に2つ以上のプロファイルを有効状態、つまり、イネーブル(enabale)状態にすることができない。プロファイルは、IоTデバイスが、公衆地上移動ネットワーク(PLMN)とも呼ばれる移動通信ネットワークにアクセスするために必要な情報、例えば、アクセス可能な移動通信ネットワークを示す情報等を含む。
【0004】
例えば、IоTデバイスのeSIMに、PLMN#1へアクセスするためのプロファイル#1と、PLMN#2へアクセスするためのプロファイル#2とが格納されている場合、プロファイル#1を有効にすることで、当該IоTデバイスは、PLMN#1にアクセスすることができ、プロファイル#2を有効にすることで、当該IоTデバイスは、PLMN#2にアクセスすることができる。しかしながら、プロファイル#1及びプロファイル#2を同時に有効にすることができないため、当該IоTデバイスは、PLMN#1及びPLMN#2に同時にアクセスすることができない。
【先行技術文献】
【非特許文献】
【0005】
eSIM IoT Technical Specification GSMA SGP.32 v1.0.1,2023年7月4日
【発明の概要】
【発明が解決しようとする課題】
【0006】
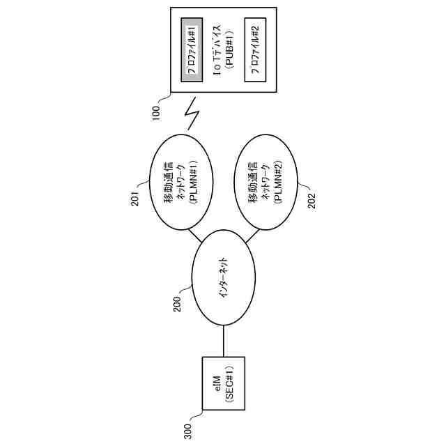
図1は、上述した非特許文献1によるIоTデバイス100のeSIMの遠隔制御構成のより詳細な説明図である。IоTデバイス100のeSIMには、移動通信ネットワーク201(PLMN#1とも表記する)に無線アクセスするためのプロファイル#1と、移動通信ネットワーク202(PLMN#2とも表記する)に無線アクセスするためのプロファイル#2と、が格納され、プロファイル#1が有効状態(イネーブル)、かつ、プロファイル#2が無効状態(ディセーブル)となっている。このため、IоTデバイス100は、移動通信ネットワーク201に無線アクセスしている。なお、移動通信ネットワーク201及び移動通信ネットワーク202は、インターネット200に接続し、インターネット200には、eIM300が接続している。
【0007】
IоTデバイス100のeSIMには、当該eSIMの識別子、公開鍵、及び当該公開鍵の鍵識別子等が格納され、eIM300には、IоTデバイス100のeSIMに格納されている公開鍵とのペアである秘密鍵等が格納される。なお、図1では、IоTデバイス100のeSIMに格納されている公開鍵をPUB#1とし、PUB#1とペアを形成する秘密鍵をSEC#1としている。
【0008】
図1の状態において、IоTデバイス100のeSIMに格納されているプロファイル#2を有効にする場合、eIM300は、有効化コマンドをIоTデバイス100に送信する。有効化コマンドは、IоTデバイス100のeSIMに格納されている公開鍵PUB#1の鍵識別子及びカウンタ値等を含む処理情報と、当該処理情報のSEC#1によるデジタル署名を示す署名情報と、を含む。なお、カウンタ値とは、SEC#1/PUB#1に関連付けられてeIM300及びIоTデバイス100のeSIMそれぞれで管理される値であり、SEC#1/PUB#1を使用する処理をeIM300とIоTデバイス100のeSIMとの間で行う度に1ずつ増加される。
【0009】
IоTデバイス100のeSIMは、受信した有効化コマンドに含まれる処理情報の鍵識別子が示す公開鍵PUB#1を用いて、受信した有効化コマンドに含まれる署名情報を検証する。そして、IоTデバイス100のeSIMは、署名情報の検証が成功することを、プロファイル#2を有効化する条件の1つとする。言い換えると、署名情報の検証が不成功である場合、IоTデバイス100のeSIMは、プロファイル#2を有効化しない。なお、非特許文献1によると、同時に2つ以上のプロファイルを有効にすることはできないため、プロファイル#2を有効化すると、プロファイル#1は無効化される。
【0010】
例えば、図1の状態において移動通信ネットワーク201に障害が発生し、これにより、IоTデバイス100が移動通信ネットワーク201を介する通信を行えなくなったものとする。この場合、プロファイル#2を有効化することで、IоTデバイス100は、移動通信ネットワーク202を介してインターネット200上のサーバ装置と通信を行うことができる。しかしながら、移動通信ネットワーク201の障害により、eIM300はIоTデバイス100と通信できないため、eIM300はIоTデバイス100に有効化コマンドを送信することできず、よって、プロファイル#2を有効化することはできない。
(【0011】以降は省略されています)
特許ウォッチbot のツイートを見る
この特許をJ-PlatPat(特許庁公式サイト)で参照する
関連特許
KDDI株式会社
光増幅器
1か月前
KDDI株式会社
光増幅器
1か月前
KDDI株式会社
光接続ノード
1か月前
KDDI株式会社
緊急ネットワーク分離方法
1か月前
KDDI株式会社
基地局及び基地局の制御方法
22日前
KDDI株式会社
無線デバイス及びプログラム
2日前
KDDI株式会社
情報処理装置及び情報処理方法
23日前
KDDI株式会社
情報処理装置及び情報処理方法
29日前
KDDI株式会社
情報処理装置及び情報処理方法
23日前
KDDI株式会社
基地局装置およびその通信方法
24日前
KDDI株式会社
情報処理装置及び情報処理方法
24日前
KDDI株式会社
情報処理装置及び情報処理方法
22日前
KDDI株式会社
情報処理装置及び情報処理方法
23日前
KDDI株式会社
情報処理装置及び情報処理方法
29日前
KDDI株式会社
情報処理装置及び情報処理方法
29日前
KDDI株式会社
制御装置、方法及びプログラム
23日前
KDDI株式会社
通信制御システム及び通信制御方法
1か月前
KDDI株式会社
通信制御システム及び通信制御方法
1か月前
KDDI株式会社
通信制御システム及び通信制御方法
1か月前
KDDI株式会社
情報処理装置、方法及びプログラム
22日前
KDDI株式会社
通信制御システム及び通信制御方法
1か月前
KDDI株式会社
情報処理装置、学習装置及びプログラム
23日前
KDDI株式会社
飛行体、情報処理装置及び情報処理方法
1か月前
KDDI株式会社
通信装置、無線デバイス及びプログラム
1か月前
KDDI株式会社
基地局装置、端末装置及び無線通信方法
22日前
KDDI株式会社
評価装置、評価方法及び評価プログラム
2日前
KDDI株式会社
ログ処理装置、端末、方法及びプログラム
17日前
KDDI株式会社
情報処理装置、情報処理方法及びプログラム
23日前
KDDI株式会社
情報処理装置、情報処理方法及びプログラム
25日前
KDDI株式会社
情報処理装置、情報処理方法及びプログラム
23日前
KDDI株式会社
情報処理装置、情報処理方法及びプログラム
23日前
KDDI株式会社
情報処理装置、情報処理方法及びプログラム
25日前
KDDI株式会社
情報処理装置、情報処理方法及びプログラム
1か月前
KDDI株式会社
情報処理装置、情報処理方法及びプログラム
1か月前
KDDI株式会社
情報処理装置、情報処理方法及びプログラム
23日前
KDDI株式会社
情報処理装置、情報処理方法及びプログラム
24日前
続きを見る
他の特許を見る